СИСТЕМА БЛОКИРОВКИ РУЛЕВОГО УПРАВЛЕНИЯ, Diagnostic DTC:B2788

Код DTC Наименование DTC
B2788 Неисправность в цепи сигнала IG2

ОПИСАНИЕ

Этот DTC сохраняется, когда ЭБУ блокировки рулевого управления в сборе (привод блокировки рулевого управления или верхний кронштейн в сборе) обнаруживает неисправность в цепи питания IG2.

ЭБУ блокировки рулевого управления в сборе (привод блокировки рулевого управления или верхний кронштейн в сборе) не подключен к системе передачи данных CAN. Однако ЭБУ блокировки рулевого управления (привод блокировки рулевого управления или передний кронштейн в сборе) соединен с ЭБУ сертификации (ЭБУ электронного ключа зажигания) по шине LIN и обменивается данными с другими узлами по шине CAN через ЭБУ сертификации (ЭБУ электронного ключа зажигания).

№ DTC Неисправность Условие обнаружения DTC Неисправный участок Примечание
B2788 Неисправность в цепи сигнала IG2 Несоответствие входных сигналов IG2 ЭБУ блокировки рулевого управления (привода блокировки рулевого управления или верхнего кронштейна в сборе), поступающих по шине LIN и по прямому соединению. (логика диагностирования за 1 поездку (выводится только при наличии неисправности и включенном зажигании (IG))
  • ЭБУ блокировки рулевого управления (привод блокировки рулевого управления верхний кронштейн в сборе)

  • Жгут или разъем


    Операция подтверждения вывода DTC:

  • В любое время

Состояние автомобиля и аварийный режим при обнаружении неисправности
Состояние автомобиля при обнаружении неисправности Аварийный режим при обнаружении неисправности
Невозможна блокировка или разблокировка рулевого управления. Поэтому двигатель не запускается. -
Связанные параметры режимов Data List и Active Test
№ DTC Режимы Data List и Active Test
B2788 -

СХЕМА ЭЛЕКТРИЧЕСКИХ СОЕДИНЕНИЙ

B001CUUE03
*a От реле IG2
*b ЭБУ сертификации (ЭБУ электронного ключа зажигания в сборе)
*c ЭБУ блокировки рулевого управления (привод блокировки рулевого управления верхний кронштейн в сборе)
*d Линия передачи данных LIN

ПРЕДОСТЕРЕЖЕНИЕ / ПРИМЕЧАНИЕ / УКАЗАНИЕ

Note


  • При использовании GTS с выключенным зажиганием двигателя, подсоедините GTS к DLC3 и включайте и выключайте освещение проема двери с интервалами 1,5 секунды или менее до тех пор, пока не начнется обмен данными между GTS и автомобилем. Затем выберите код модели "KEY REGIST" в ручном режиме и войдите в следующие пункты меню: Body Electrical / Entry&Start(CAN). При использовании GTS периодически включайте и выключайте выключатель освещения дверного проема с интервалом не более 1,5 с, чтобы поддерживать связь между GTS и автомобилем.

  • Перед выполнением последующей процедуры проверки проверьте плавкие предохранители цепей, относящихся к данной системе.

  • Перед заменой ЭБУ блокировки рулевого управления (привода блокировки рулевого управления или верхнего кронштейна в сборе) ознакомьтесь с бюллетенем технического обслуживания.

  • После ремонта выполните операцию "Подтверждение вывода кода DTC" и убедитесь, что коды DTC не выводятся.

ПОРЯДОК ВЫПОЛНЕНИЯ


  1. ПРОВЕРЬТЕ ЖГУТ ПРОВОДОВ И РАЗЪЕМ (ЭБУ БЛОКИРОВКИ РУЛЕВОГО УПРАВЛЕНИЯ (ПРИВОД БЛОКИРОВКИ РУЛЕВОГО УПРАВЛЕНИЯ ИЛИ ВЕРХНИЙ КРОНШТЕЙН В СБОРЕ) — ИСТОЧНИК ПИТАНИЯ И МАССА)


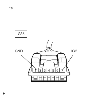
    1. Отсоедините разъем ЭБУ блокировки рулевого управления (привода блокировки рулевого управления или верхнего кронштейна в сборе).

    2. B001CFQC49
      *a

      Вид спереди разъема со стороны жгута проводов:

      (к ЭБУ блокировки рулевого управления (приводу блокировки рулевого управления или верхнему кронштейну в сборе))

      Измерьте сопротивление в соответствии со значениями, приведенными в таблице ниже.

      Номинальное сопротивление
      Подключение диагностического прибора Условие Заданные условия
      G35-1 (GND) - масса Всегда Менее 1 Ом
    3. Измерьте напряжение в соответствии со значениями, приведенными в таблице.

      Номинальное напряжение
      Подключение диагностического прибора Положение переключателя Заданные условия
      G35-6 (IG2) - G35-1 (GND) Зажигание включено (IG) 11—14 В
      G35-6 (IG2) - G35-1 (GND) Зажигание выключено Менее 1 В
      Результат
      Следующий шаг
      OK
      NG

    OK
    NG