СИСТЕМА БЛОКИРОВКИ РУЛЕВОГО УПРАВЛЕНИЯ РАСПОЛОЖЕНИЕ ДЕТАЛЕЙ

ИЛЛЮСТРАЦИЯ

B001ER6C01
*1

БЛОК РЕЛЕ МОТОРНОГО ОТСЕКА


  • - ПРЕДОХРАНИТЕЛЬ STRG LOCK

- -

ИЛЛЮСТРАЦИЯ

B001DYTC01
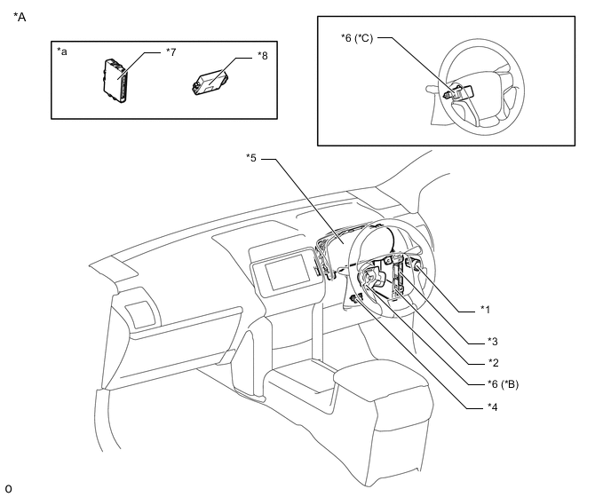
*A Для моделей с левосторонним рулевым управлением *B для моделей с наклонной телескопической рулевой колонкой с ручным приводом
*C для моделей с наклонной телескопической рулевой колонкой с электроприводом - -
*1 ВЫКЛЮЧАТЕЛЬ ЗАЖИГАНИЯ *2

РАСПРЕДЕЛИТЕЛЬНЫЙ БЛОК СО СТОРОНЫ ВОДИТЕЛЯ В СБОРЕ


  • - ПРЕДОХРАНИТЕЛЬ IGN

  • - ПРЕДОХРАНИТЕЛЬ SMART

*3 ГЛАВНЫЙ ЭБУ КУЗОВА (БОРТОВОЙ ЭБУ СЕТИ МУЛЬТИПЛЕКСНОЙ СВЯЗИ) *4 DLC3
*5 ЩИТОК ПРИБОРОВ В СБОРЕ *6 ЭБУ БЛОКИРОВКИ РУЛЕВОГО УПРАВЛЕНИЯ (ПРИВОД БЛОКИРОВКИ РУЛЕВОГО УПРАВЛЕНИЯ ИЛИ ВЕРХНИЙ КРОНШТЕЙН В СБОРЕ)
*7 ЭБУ СЕРТИФИКАЦИИ (ЭБУ ЭЛЕКТРОННОГО КЛЮЧА ЗАЖИГАНИЯ В СБОРЕ) *8 БЛОК ИДЕНТИФИКАЦИОННОГО КОДА (ЭБУ КОДА ИММОБИЛАЙЗЕРА)
*a Установочное положение деталей указано в бюллетене технического обслуживания. - -

ИЛЛЮСТРАЦИЯ

B001CATC01
*A Для моделей с правосторонним рулевым управлением *B для моделей с наклонной телескопической рулевой колонкой с ручным приводом
*C для моделей с наклонной телескопической рулевой колонкой с электроприводом - -
*1 ВЫКЛЮЧАТЕЛЬ ЗАЖИГАНИЯ *2

РАСПРЕДЕЛИТЕЛЬНЫЙ БЛОК СО СТОРОНЫ ВОДИТЕЛЯ В СБОРЕ


  • - ПРЕДОХРАНИТЕЛЬ IGN

  • - ПРЕДОХРАНИТЕЛЬ SMART

*3 ГЛАВНЫЙ ЭБУ КУЗОВА (БОРТОВОЙ ЭБУ СЕТИ МУЛЬТИПЛЕКСНОЙ СВЯЗИ) *4 DLC3
*5 ЩИТОК ПРИБОРОВ В СБОРЕ *6 ЭБУ БЛОКИРОВКИ РУЛЕВОГО УПРАВЛЕНИЯ (ПРИВОД БЛОКИРОВКИ РУЛЕВОГО УПРАВЛЕНИЯ ИЛИ ВЕРХНИЙ КРОНШТЕЙН В СБОРЕ)
*7 ЭБУ СЕРТИФИКАЦИИ (ЭБУ ЭЛЕКТРОННОГО КЛЮЧА ЗАЖИГАНИЯ В СБОРЕ) *8 БЛОК ИДЕНТИФИКАЦИОННОГО КОДА (ЭБУ КОДА ИММОБИЛАЙЗЕРА)
*a Установочное положение деталей указано в бюллетене технического обслуживания. - -