СИСТЕМА ПОДОГРЕВА РУЛЕВОГО КОЛЕСА Рулевое колесо не подогревается, когда выключатель подогрева рулевого колеса нажат

ОПИСАНИЕ

(см. стр. Click here).

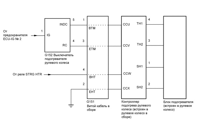
СХЕМА СОЕДИНЕНИЙ

B001I2VE10

ПОРЯДОК ВЫПОЛНЕНИЯ


  1. ПРОВЕРЬТЕ ВЫКЛЮЧАТЕЛЬ ПОДОГРЕВА РУЛЕВОГО КОЛЕСА (РАБОТУ СВЕТОДИОДА)

    B001DFO

    1. Проверьте работу светодиода.

      Результат
      Сведодиод Условие Следующий шаг
      Горит

      Зажигание включено (IG)

      Выключатель подогрева рулевого колеса нажат

      B
      Не горит

      Зажигание включено (IG)

      Выключатель подогрева рулевого колеса удерживается нажатым непрерывно в течение не менее 10 с

      А

    B
    А
  2. ПРОВЕРЬТЕ РУЛЕВОЕ КОЛЕСО В СБОРЕ (ТЕРМИСТОР)


    1. Отсоедините контроллер подогрева рулевого колеса (встроен в рулевое колесо в сборе).

    2. B001CWGE06
      Обозначения на рисунке
      *a

      Вид спереди разъема со стороны жгута проводов:

      (к контроллеру подогрева рулевого колеса)

      Измерьте сопротивление в соответствии со значениями, приведенными в таблице ниже.

      Номинальное сопротивление
      Подключение диагностического прибора Условие Заданные условия
      3 (TH2) - 4 (TH1) 10 - 30°C (50 - 86°F) 8,132 - 18,43 кОм

    NG
    OK
  3. ПРОВЕРЬТЕ РУЛЕВОЕ КОЛЕСО В СБОРЕ (ПОДОГРЕВАТЕЛЬ, ТЕРМОСТАТ)


    1. Отсоедините контроллер подогрева рулевого колеса (встроен в рулевое колесо в сборе).

    2. B001CWGE07
      Обозначения на рисунке
      *a

      Вид спереди разъема со стороны жгута проводов:

      (к контроллеру подогрева рулевого колеса)

      Измерьте сопротивление в соответствии со значениями, приведенными в таблице ниже.

      Номинальное сопротивление
      Подключение диагностического прибора Условие Заданные условия
      1 (SH1) - 2 (SH2) 20°C (68°F) 1,89 - 2,25 Ом

    NG
    OK
  4. ПРОВЕРЬТЕ ЖГУТ ПРОВОДОВ И РАЗЪЕМ (ВЫКЛЮЧАТЕЛЬ ПОДОГРЕВА РУЛЕВОГО КОЛЕСА – ВИТОЙ КАБЕЛЬ)


    1. Отсоедините разъем G152 выключателя подогрева рулевого колеса.

    2. Отсоедините разъем G151 витого кабеля в сборе.

    3. B001I32E02
      Обозначения на рисунке
      *a

      Вид спереди разъема со стороны жгута проводов:

      (к выключателю подогрева рулевого колеса)

      *b

      Вид спереди разъема со стороны жгута проводов:

      (к витому кабелю в сборе)

      Измерьте сопротивление в соответствии со значениями, приведенными в таблице ниже.

      Номинальное сопротивление
      Подключение диагностического прибора Условие Заданные условия
      G152-5 (INDC) - G151-1 (BTM) Всегда Менее 1 Ом
      G152-4 (RC) - G151-3 (ETM) Всегда Менее 1 Ом
      G151-2 (EHT) - масса Всегда Менее 1 Ом
    4. Измерьте напряжение в соответствии со значениями, приведенными в таблице.

      Номинальное напряжение
      Подключение диагностического прибора Положение переключателя Заданные условия
      G151-4 (BHT) - масса Зажигание включено (IG) 11-14 В

    NG
    OK
  5. ПРОВЕРЬТЕ ВИТОЙ КАБЕЛЬ В СБОРЕ

    Note

    В случае обнаружения каких-либо из перечисленных ниже дефектов замените витой кабель в сборе новым:

    Царапины, трещины, вмятины и сколы на разъеме или витом кабеле.


    1. Отсоедините разъем G151 витого кабеля в сборе.

    2. Отсоедините контроллер подогрева рулевого колеса (встроен в рулевое колесо в сборе).

    3. B001GDRE02
      Обозначения на рисунке
      *a

      Устройство с неподсоединенным жгутом проводов

      (Витой кабель в сборе)

      *b

      Вид спереди разъема со стороны жгута проводов

      (к контроллеру подогрева рулевого колеса)

      Измерьте сопротивление в соответствии со значениями, приведенными в таблице ниже.

      Номинальное сопротивление
      Подключение диагностического прибора Условие Заданные условия
      1 (CCU) - G151-1 (BTM) Всегда Менее 1 Ом
      2 (CCV) - G151-3 (ETM) Всегда Менее 1 Ом
      3 (CCX) - G151-2 (EHT) Всегда Менее 1 Ом
      4 (CCW) - G151-4 (BHT) Всегда Менее 1 Ом

    NG
    OK
  6. ПРОВЕРЬТЕ ВЫКЛЮЧАТЕЛЬ ПОДОГРЕВА РУЛЕВОГО КОЛЕСА


    1. Отсоедините разъем G152 выключателя подогрева рулевого колеса.

    2. B001EDIE03
      Обозначения на рисунке
      *a

      Устройство с неподсоединенным жгутом проводов

      (к выключателю подогрева рулевого колеса)

      Измерьте напряжение в соответствии со значениями, приведенными в таблице.

      Tech Tips

      Поскольку в цепь включен диод, проводите измерения в режиме проверки диодов, контролируя соблюдение полярности.

      Номинальное напряжение

      Подключение диагностического прибора

      Положительный (+) щуп диагностического прибора - отрицательный контакт (-) щуп диагностического прибора

      Положение переключателя Заданные условия
      G152-1 (IG) - G152-4 (RC) Выключатель подогрева рулевого колеса нажат Менее 1,25 В

    OK
    NG