ПЕРЕДНИЙ ТОРМОЗ ПОВТОРНАЯ СБОРКА

ПРЕДОСТЕРЕЖЕНИЕ / ПРИМЕЧАНИЕ / УКАЗАНИЕ

Tech Tips


  • Порядок выполнения работ для левой и правой стороны одинаков.

  • Ниже рассмотрен порядок выполнения работ для левой стороны.

ПОРЯДОК ВЫПОЛНЕНИЯ


  1. ВРЕМЕННО УСТАНОВИТЕ ПРОКАЧНОЙ ШТУЦЕР ПЕРЕДНЕГО ДИСКОВОГО ТОРМОЗА


    1. Предварительно установите прокачной штуцер переднего дискового тормоза на колесный тормозной цилиндр дискового тормоза в сборе.

      Tech Tips

      Прокачной штуцер переднего дискового тормоза затягивается с номинальным моментом затяжки при выполнении операции "Прокачайте трубопровод тормозной системы".

    2. Установите колпачок прокачного штуцера переднего дискового тормоза на прокачной штуцер.

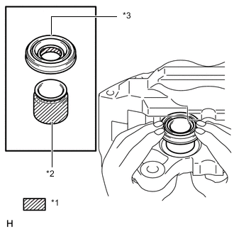
  2. УСТАНОВИТЕ УПЛОТНЕНИЕ ПОРШНЯ


    1. A01XDDTE03
      Обозначения на рисунке
      *1 Гликолевая консистентная смазка на основе литиевого мыла

      Нанесите тонкий слой гликолевой смазки на основе литиевого мыла на всю внутреннюю и всю наружную окружности каждого из 4 новых уплотнений поршней.

    2. Установите 4 уплотнения поршней на цилиндр дискового тормоза.

  3. УСТАНОВИТЕ ПОРШЕНЬ ПЕРЕДНЕГО ДИСКОВОГО ТОРМОЗА


    1. A01XD0ZE07
      Обозначения на рисунке
      *1 Гликолевая консистентная смазка на основе литиевого мыла
      *2 Поршень тормозного цилиндра переднего дискового тормоза
      *3 Защитный колпачок цилиндра

      Нанесите тонкий слой гликолевой консистентной смазки на основе литиевого мыла на всю внутреннюю окружность каждого из 4 новых защитных колпачков тормозного цилиндра.

    2. Нанесите тонкий слой гликолевой консистентной смазки на основе литиевого мыла на всю наружную окружность каждого из 4 поршней тормозного цилиндра переднего дискового тормоза в зонах контакта с защитными колпачками тормозного цилиндра и колесным тормозным цилиндром переднего дискового тормоза.

    3. Установите 4 защитных колпачка цилиндра на 4 поршня переднего дискового тормоза.

    4. Установите 4 поршня тормозного цилиндра переднего дискового тормоза в колесный тормозной цилиндр переднего дискового тормоза.

      Note

      Не прикладывайте чрезмерных усилий при установке поршня в цилиндр дискового тормоза.

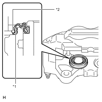
  4. УСТАНОВИТЕ ЗАЩИТНЫЙ КОЛПАЧОК ЦИЛИНДРА


    1. A01XCWYE06
      Обозначения на рисунке
      *1 Защитный колпачок цилиндра
      *2 Установочное кольцо поршня тормозного цилиндра переднего дискового тормоза

      Установите одну сторону каждого из 4 защитных колпачков тормозного цилиндра на колесный тормозной цилиндр переднего дискового тормоза.

      Note


      • Плотно установите защитный колпачок в канавки колесного тормозного цилиндра дискового тормоза и поршня тормозного цилиндра переднего дискового тормоза.

      • Старайтесь не повредить защитный колпачок цилиндра.

  5. УСТАНОВИТЕ УСТАНОВОЧНОЕ КОЛЬЦО ПОРШНЯ ЦИЛИНДРА ПЕРЕДНЕГО ДИСКОВОГО ТОРМОЗА


    1. Установите 4 установочных кольца переднего дискового тормоза.