ПЕРЕДНИЙ ТОРМОЗ РАЗБОРКА

ПРЕДОСТЕРЕЖЕНИЕ / ПРИМЕЧАНИЕ / УКАЗАНИЕ

Tech Tips


  • Порядок выполнения работ для левой и правой стороны одинаков.

  • Ниже рассмотрен порядок выполнения работ для левой стороны.

ПОРЯДОК ВЫПОЛНЕНИЯ


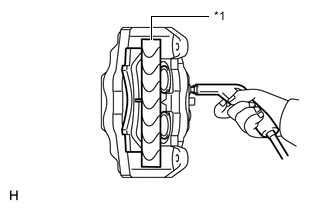
  1. СНИМИТЕ УСТАНОВОЧНОЕ КОЛЬЦО ПОРШНЯ ЦИЛИНДРА ПЕРЕДНЕГО ДИСКОВОГО ТОРМОЗА


    1. A01XIVT

      С помощью отвертки снимите 4 установочных кольца переднего дискового тормоза с 4 защитных колпачков тормозного цилиндра.

      Tech Tips

      Конец отвертки перед использованием следует изолировать клейкой лентой.

  2. СНИМИТЕ ЗАЩИТНЫЙ КОЛПАЧОК ЦИЛИНДРА


    1. С помощью отвертки снимите 4 защитных колпачка с колесного тормозного цилиндра дискового тормоза.

      Tech Tips

      Конец отвертки перед использованием следует изолировать защитной клейкой лентой.

  3. СНИМИТЕ ПОРШЕНЬ ПЕРЕДНЕГО ДИСКОВОГО ТОРМОЗА


    1. Установите одну из колодок дискового тормоза.

    2. A01XII0E10
      *1 170 мм (6,70 дюйма)
      *2 50 мм (1,97 дюйма)
      *3 30 мм (1,18 дюйма)

      Поместите деревянную пластину между поршнями тормозного цилиндра переднего дискового тормоза, чтобы предотвратить их отскакивание.

    3. Постепенно подавая воздух с помощью пневматического пистолета, извлеките 2 поршня тормозного цилиндра переднего дискового тормоза из тормозного цилиндра.

      CAUTION:

      Никогда не располагайте свои пальцы перед поршнями при подаче воздуха.

    4. A01XH5LE05
      Обозначения на рисунке
      *1 Деревянный брусок

      Снимите тормозную колодку переднего дискового тормоза и деревянную пластину.

    5. Предварительно установите 2 снятых поршня тормозного цилиндра переднего дискового тормоза. Затем установите тормозную колодку переднего дискового тормоза со стороны, куда были предварительно установлены 2 поршня тормозного цилиндра переднего дискового тормоза.

    6. Поместите деревянную пластину между поршнями тормозного цилиндра переднего дискового тормоза, чтобы предотвратить их отскакивание.

    7. Постепенно подавая воздух с помощью пневматического пистолета, извлеките 2 поршня тормозного цилиндра переднего дискового тормоза с другой стороны тормозного цилиндра.

      CAUTION:

      Никогда не располагайте свои пальцы перед поршнями при подаче воздуха.

  4. СНИМИТЕ УПЛОТНЕНИЕ ПОРШНЯ


    1. A01XEB9

      С помощью отвертки снимите 4 уплотнения поршней с колесного тормозного цилиндра дискового тормоза.

      Tech Tips

      Конец отвертки перед использованием следует изолировать клейкой лентой.

  5. СНИМИТЕ КОЛПАЧОК ПРОКАЧНОГО ШТУЦЕРА ПЕРЕДНЕГО ДИСКОВОГО ТОРМОЗА

  6. СНИМИТЕ ПРОКАЧНОЙ ШТУЦЕР ПЕРЕДНЕГО ДИСКОВОГО ТОРМОЗА