СИСТЕМА РАЗДАТОЧНОЙ КОРОБКИ РАСПОЛОЖЕНИЕ ДЕТАЛЕЙ

ИЛЛЮСТРАЦИЯ

B001H2CC01
*A Для моделей с левосторонним рулевым управлением *B для моделей с вакуумным усилителем тормозной системы
*C для моделей с гидравлическим усилителем тормозной системы *D для моделей с 5L-E
*1

БЛОК УПРАВЛЕНИЯ РАБОЧИМИ ЦИЛИНДРАМИ ТОРМОЗОВ В СБОРЕ

- ЭБУ СИСТЕМЫ ПРОТИВОСКОЛЬЖЕНИЯ

*2

ГИДРАВЛИЧЕСКИЙ УСИЛИТЕЛЬ ТОРМОЗНОЙ СИСТЕМЫ В СБОРЕ

- ЭБУ СИСТЕМЫ ПРОТИВОСКОЛЬЖЕНИЯ (ЭЛЕКТРОМАГНИТНЫЙ КЛАПАН ГЛАВНОГО ЦИЛИНДРА)

*3

БЛОК РЕЛЕ МОТОРНОГО ОТСЕКА

- ПРЕДОХРАНИТЕЛЬ 4WD-B

- -

ИЛЛЮСТРАЦИЯ

B001GJGC01
*A Для моделей с правосторонним рулевым управлением *B для моделей с вакуумным усилителем тормозной системы
*C для моделей с гидравлическим усилителем тормозной системы *D для моделей с 5L-E
*1

БЛОК УПРАВЛЕНИЯ РАБОЧИМИ ЦИЛИНДРАМИ ТОРМОЗОВ В СБОРЕ

- ЭБУ СИСТЕМЫ ПРОТИВОСКОЛЬЖЕНИЯ

*2

ГИДРАВЛИЧЕСКИЙ УСИЛИТЕЛЬ ТОРМОЗНОЙ СИСТЕМЫ В СБОРЕ

- ЭБУ СИСТЕМЫ ПРОТИВОСКОЛЬЖЕНИЯ (ЭЛЕКТРОМАГНИТНЫЙ КЛАПАН ГЛАВНОГО ЦИЛИНДРА)

*3

БЛОК РЕЛЕ МОТОРНОГО ОТСЕКА

- ПРЕДОХРАНИТЕЛЬ 4WD-B

- -

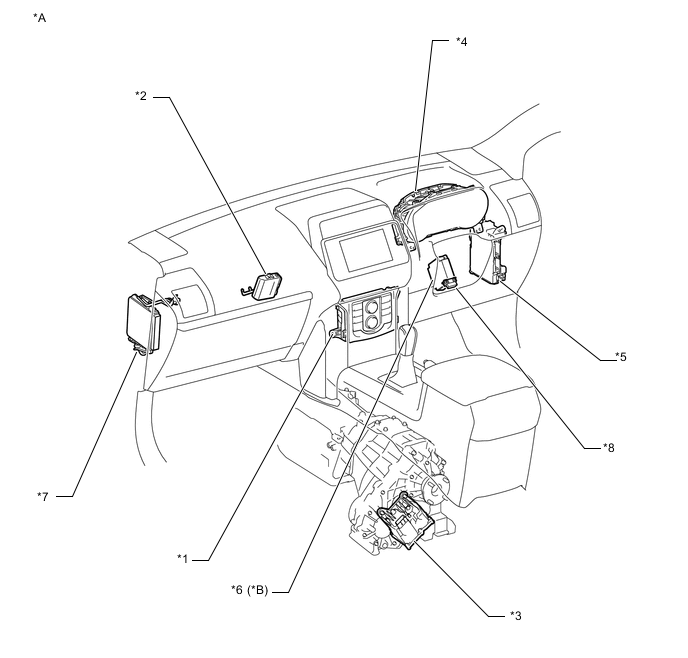
ИЛЛЮСТРАЦИЯ

B001CRGC01
*A для моделей с левосторонним рулевым управлением (для моделей с комбинированным переключателем) *B для моделей с 1KD-FTV (с автоматической трансмиссией)
*1

КОМБИНИРОВАННЫЙ ПЕРЕКЛЮЧАТЕЛЬ В СБОРЕ

- ПЕРЕКЛЮЧАТЕЛЬ ПОЛОЖЕНИЯ РАЗДАТОЧНОЙ КОРОБКИ

- ПЕРЕКЛЮЧАТЕЛЬ БЛОКИРОВКИ МЕЖОСЕВОГО ДИФФЕРЕНЦИАЛА

*2 ЭБУ ПОЛНОГО ПРИВОДА
*3

ПРИВОД ПЕРЕКЛЮЧЕНИЯ РАЗДАТОЧНОЙ КОРОБКИ В СБОРЕ

- ПРИВОД ПЕРЕКЛЮЧЕНИЯ ВЕРХНЕГО/НИЖНЕГО ДИАПАЗОНОВ РАЗДАТОЧНОЙ КОРОБКИ


  • ЭЛЕКТРОДВИГАТЕЛЬ ПЕРЕКЛЮЧЕНИЯ ВЕРХНЕГО/НИЖНЕГО ДИАПАЗОНОВ РАЗДАТОЧНОЙ КОРОБКИ

  • КОНЦЕВОЙ ПЕРЕКЛЮЧАТЕЛЬ ВЕРХНЕГО/НИЖНЕГО ДИАПАЗОНОВ РАЗДАТОЧНОЙ КОРОБКИ

- ПРИВОД БЛОКИРОВКИ МЕЖОСЕВОГО ДИФФЕРЕНЦИАЛА


  • ЭЛЕКТРОДВИГАТЕЛЬ ПЕРЕКЛЮЧЕНИЯ БЛОКИРОВКИ МЕЖОСЕВОГО ДИФФЕРЕНЦИАЛА

  • КОНЦЕВОЙ ВЫКЛЮЧАТЕЛЬ БЛОКИРОВКИ МЕЖОСЕВОГО ДИФФЕРЕНЦИАЛА

  • ДАТЧИК БЛОКИРОВКИ МЕЖОСЕВОГО ДИФФЕРЕНЦИАЛА

*4

ЩИТОК ПРИБОРОВ В СБОРЕ

- КОНТРОЛЬНАЯ ЛАМПА 4LO

- КОНТРОЛЬНАЯ ЛАМПА БЛОКИРОВКИ МЕЖОСЕВОГО ДИФФЕРЕНЦИАЛА

- ЗУММЕР

*5

РАСПРЕДЕЛИТЕЛЬНЫЙ БЛОК СО СТОРОНЫ ВОДИТЕЛЯ В СБОРЕ

- ПРЕДОХРАНИТЕЛЬ 4WD

- ПРЕДОХРАНИТЕЛЬ 4WD-B

*6 TCM
*7 ECM *8 DLC3

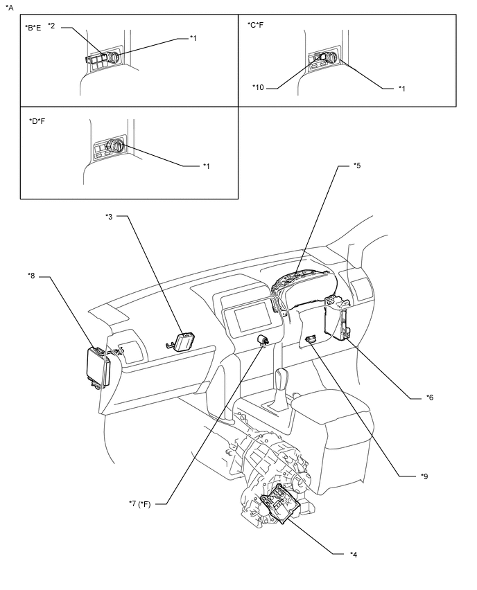
ИЛЛЮСТРАЦИЯ

B001HFIC01
*A для моделей с правосторонним рулевым управлением (для моделей с комбинированным переключателем) *B для моделей с 1KD-FTV (с автоматической трансмиссией)
*1

КОМБИНИРОВАННЫЙ ПЕРЕКЛЮЧАТЕЛЬ В СБОРЕ

- ПЕРЕКЛЮЧАТЕЛЬ ПОЛОЖЕНИЯ РАЗДАТОЧНОЙ КОРОБКИ

- ПЕРЕКЛЮЧАТЕЛЬ БЛОКИРОВКИ МЕЖОСЕВОГО ДИФФЕРЕНЦИАЛА

*2 ЭБУ ПОЛНОГО ПРИВОДА
*3

ПРИВОД ПЕРЕКЛЮЧЕНИЯ РАЗДАТОЧНОЙ КОРОБКИ В СБОРЕ

- ПРИВОД ПЕРЕКЛЮЧЕНИЯ ВЕРХНЕГО/НИЖНЕГО ДИАПАЗОНОВ РАЗДАТОЧНОЙ КОРОБКИ


  • ЭЛЕКТРОДВИГАТЕЛЬ ПЕРЕКЛЮЧЕНИЯ ВЕРХНЕГО/НИЖНЕГО ДИАПАЗОНОВ РАЗДАТОЧНОЙ КОРОБКИ

  • КОНЦЕВОЙ ПЕРЕКЛЮЧАТЕЛЬ ВЕРХНЕГО/НИЖНЕГО ДИАПАЗОНОВ РАЗДАТОЧНОЙ КОРОБКИ

- ПРИВОД БЛОКИРОВКИ МЕЖОСЕВОГО ДИФФЕРЕНЦИАЛА


  • ЭЛЕКТРОДВИГАТЕЛЬ ПЕРЕКЛЮЧЕНИЯ БЛОКИРОВКИ МЕЖОСЕВОГО ДИФФЕРЕНЦИАЛА

  • КОНЦЕВОЙ ВЫКЛЮЧАТЕЛЬ БЛОКИРОВКИ МЕЖОСЕВОГО ДИФФЕРЕНЦИАЛА

  • ДАТЧИК БЛОКИРОВКИ МЕЖОСЕВОГО ДИФФЕРЕНЦИАЛА

*4

ЩИТОК ПРИБОРОВ В СБОРЕ

- КОНТРОЛЬНАЯ ЛАМПА 4LO

- КОНТРОЛЬНАЯ ЛАМПА БЛОКИРОВКИ МЕЖОСЕВОГО ДИФФЕРЕНЦИАЛА

- ЗУММЕР

*5

РАСПРЕДЕЛИТЕЛЬНЫЙ БЛОК СО СТОРОНЫ ВОДИТЕЛЯ В СБОРЕ

- ПРЕДОХРАНИТЕЛЬ 4WD

- ПРЕДОХРАНИТЕЛЬ 4WD-B

*6 TCM
*7 ECM *8 DLC3

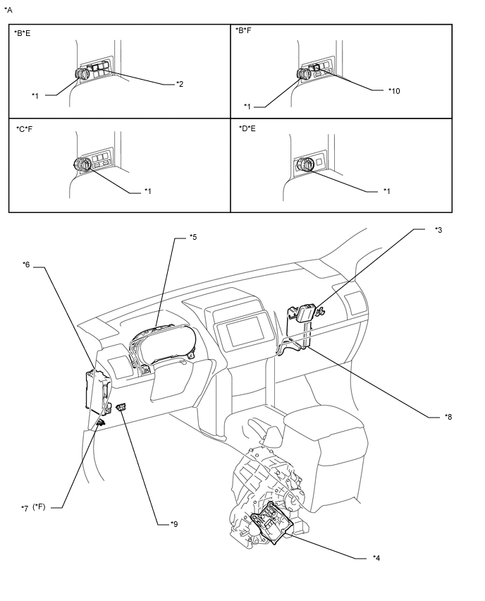
ИЛЛЮСТРАЦИЯ

B001DVYC01
*A для моделей с левосторонним рулевым управлением (для моделей без комбинированного переключателя) *B для моделей с 1GR-FE, 1KD-FTV, 1GD-FTV
*C для моделей с 5L-E, 2TR-FE *D для моделей с 2TR-FE
*E для моделей с автоматической трансмиссией *F для моделей с механической трансмиссией
*1 ПЕРЕКЛЮЧАТЕЛЬ ПОЛОЖЕНИЯ РАЗДАТОЧНОЙ КОРОБКИ *2

КОМБИНИРОВАННЫЙ ПЕРЕКЛЮЧАТЕЛЬ № 2 В СБОРЕ

- ПЕРЕКЛЮЧАТЕЛЬ БЛОКИРОВКИ МЕЖОСЕВОГО ДИФФЕРЕНЦИАЛА

*3 ЭБУ ПОЛНОГО ПРИВОДА *4

ПРИВОД ПЕРЕКЛЮЧЕНИЯ РАЗДАТОЧНОЙ КОРОБКИ В СБОРЕ

- ПРИВОД ПЕРЕКЛЮЧЕНИЯ ВЕРХНЕГО/НИЖНЕГО ДИАПАЗОНОВ РАЗДАТОЧНОЙ КОРОБКИ


  • ЭЛЕКТРОДВИГАТЕЛЬ ПЕРЕКЛЮЧЕНИЯ ВЕРХНЕГО/НИЖНЕГО ДИАПАЗОНОВ РАЗДАТОЧНОЙ КОРОБКИ

  • КОНЦЕВОЙ ПЕРЕКЛЮЧАТЕЛЬ ВЕРХНЕГО/НИЖНЕГО ДИАПАЗОНОВ РАЗДАТОЧНОЙ КОРОБКИ

- ПРИВОД БЛОКИРОВКИ МЕЖОСЕВОГО ДИФФЕРЕНЦИАЛА


  • ЭЛЕКТРОДВИГАТЕЛЬ ПЕРЕКЛЮЧЕНИЯ БЛОКИРОВКИ МЕЖОСЕВОГО ДИФФЕРЕНЦИАЛА

  • КОНЦЕВОЙ ВЫКЛЮЧАТЕЛЬ БЛОКИРОВКИ МЕЖОСЕВОГО ДИФФЕРЕНЦИАЛА

  • ДАТЧИК БЛОКИРОВКИ МЕЖОСЕВОГО ДИФФЕРЕНЦИАЛА

*5

ЩИТОК ПРИБОРОВ В СБОРЕ

- КОНТРОЛЬНАЯ ЛАМПА 4LO

- КОНТРОЛЬНАЯ ЛАМПА БЛОКИРОВКИ МЕЖОСЕВОГО ДИФФЕРЕНЦИАЛА

- ЗУММЕР

*6

РАСПРЕДЕЛИТЕЛЬНЫЙ БЛОК СО СТОРОНЫ ВОДИТЕЛЯ В СБОРЕ

- ПРЕДОХРАНИТЕЛЬ 4WD

- ПРЕДОХРАНИТЕЛЬ 4WD-B (кроме моделей с 5L-E)

*7 ПУСКОВОЙ ПЕРЕКЛЮЧАТЕЛЬ МУФТЫ СЦЕПЛЕНИЯ В СБОРЕ *8 ECM
*9 DLC3 *10 ПЕРЕКЛЮЧАТЕЛЬ БЛОКИРОВКИ МЕЖОСЕВОГО ДИФФЕРЕНЦИАЛА

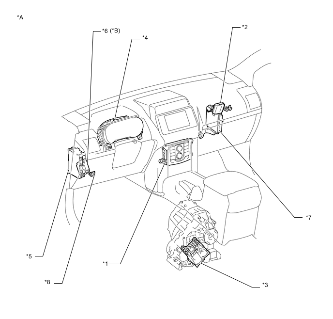
ИЛЛЮСТРАЦИЯ

B001G83C01
*A для моделей с правосторонним рулевым управлением (для моделей без комбинированного переключателя) *B для моделей с 1GR-FE, 1KD-FTV, 1GD-FTV
*C для моделей с 1KD-FTV, 1GD-FTV *D для моделей с 5L-E
*E для моделей с автоматической трансмиссией *F для моделей с механической трансмиссией
*1 ПЕРЕКЛЮЧАТЕЛЬ ПОЛОЖЕНИЯ РАЗДАТОЧНОЙ КОРОБКИ *2

КОМБИНИРОВАННЫЙ ПЕРЕКЛЮЧАТЕЛЬ № 2 В СБОРЕ

- ПЕРЕКЛЮЧАТЕЛЬ БЛОКИРОВКИ МЕЖОСЕВОГО ДИФФЕРЕНЦИАЛА

*3 ЭБУ ПОЛНОГО ПРИВОДА *4

ПРИВОД ПЕРЕКЛЮЧЕНИЯ РАЗДАТОЧНОЙ КОРОБКИ В СБОРЕ

- ПРИВОД ПЕРЕКЛЮЧЕНИЯ ВЕРХНЕГО/НИЖНЕГО ДИАПАЗОНОВ РАЗДАТОЧНОЙ КОРОБКИ


  • ЭЛЕКТРОДВИГАТЕЛЬ ПЕРЕКЛЮЧЕНИЯ ВЕРХНЕГО/НИЖНЕГО ДИАПАЗОНОВ РАЗДАТОЧНОЙ КОРОБКИ

  • КОНЦЕВОЙ ПЕРЕКЛЮЧАТЕЛЬ ВЕРХНЕГО/НИЖНЕГО ДИАПАЗОНОВ РАЗДАТОЧНОЙ КОРОБКИ

- ПРИВОД БЛОКИРОВКИ МЕЖОСЕВОГО ДИФФЕРЕНЦИАЛА


  • ЭЛЕКТРОДВИГАТЕЛЬ ПЕРЕКЛЮЧЕНИЯ БЛОКИРОВКИ МЕЖОСЕВОГО ДИФФЕРЕНЦИАЛА

  • КОНЦЕВОЙ ВЫКЛЮЧАТЕЛЬ БЛОКИРОВКИ МЕЖОСЕВОГО ДИФФЕРЕНЦИАЛА

  • ДАТЧИК БЛОКИРОВКИ МЕЖОСЕВОГО ДИФФЕРЕНЦИАЛА

*5

ЩИТОК ПРИБОРОВ В СБОРЕ

- КОНТРОЛЬНАЯ ЛАМПА 4LO

- КОНТРОЛЬНАЯ ЛАМПА БЛОКИРОВКИ МЕЖОСЕВОГО ДИФФЕРЕНЦИАЛА

- ЗУММЕР

*6

РАСПРЕДЕЛИТЕЛЬНЫЙ БЛОК СО СТОРОНЫ ВОДИТЕЛЯ В СБОРЕ

- ПРЕДОХРАНИТЕЛЬ 4WD

- ПРЕДОХРАНИТЕЛЬ 4WD-B (кроме моделей с 5L-E)

*7 ПУСКОВОЙ ПЕРЕКЛЮЧАТЕЛЬ МУФТЫ СЦЕПЛЕНИЯ В СБОРЕ *8 ECM
*9 DLC3 *10 ПЕРЕКЛЮЧАТЕЛЬ БЛОКИРОВКИ МЕЖОСЕВОГО ДИФФЕРЕНЦИАЛА