ЖГУТ ЭЛЕКТРОПРОВОДКИ ТРАНСМИССИИ УСТАНОВКА

ПОРЯДОК ВЫПОЛНЕНИЯ


  1. УСТАНОВИТЕ ЖГУТ ЭЛЕКТРОПРОВОДКИ ТРАНСМИССИИ


    1. Покройте 2 новых кольцевых уплотнения трансмиссионной жидкостью и установите их на 2 датчика температуры.

    2. Покройте новое кольцевое уплотнение трансмиссионной жидкостью и установите его на жгут электропроводки трансмиссии.

    3. Установите жгут электропроводки трансмиссии в картер автоматической трансмиссии и закрепите его болтом.

      Torque:
      5,4 Н*м  { 55 кгс*см, 48 фунт-сила-дюймов }
    4. Подсоедините разъем жгута электропроводки трансмиссии.

      Tech Tips

      Поднимите рычаг так, чтобы захват разъема жгута электропроводки трансмиссии издал характерный звук.

  2. УСТАНОВИТЕ ПРАВЫЙ ИЗОЛЯТОР ТРАНСМИССИИ


    1. Для моделей с подогревателем ATF:


      1. Установите правый изолятор трансмиссии на автоматическую трансмиссию и закрепите ее 2 болтами.

        Torque:
        14 Н*м  { 143 кгс*см, 10 фунт-сила-футов }
      2. Установите кронштейн зажима жгута проводов на правый изолятор трансмиссии и закрепите его болтом.

        Torque:
        13 Н*м  { 127 кгс*см, 9 фунт-сила-футов }
    2. Для моделей без подогревателя ATF:


      1. Установите правый изолятор трансмиссии на автоматическую трансмиссию и закрепите ее 3 болтами.

        Torque:
        14 Н*м  { 143 кгс*см, 10 фунт-сила-футов }
  3. ПОДСОЕДИНИТЕ ЖГУТ ЭЛЕКТРОПРОВОДКИ ТРАНСМИССИИ


    1. B001CLYE03
      Обозначения на рисунке
      *1 Зажим датчика температуры
      *2 Датчик температуры

      Подсоедините 7 разъемов электромагнитных клапанов.

    2. Установите 2 датчика температуры и 2 зажима датчиков температуры на корпус клапанов трансмиссии и закрепите их болтом.

      Torque:
      для болта A
      10 Н*м  { 102 кгс*см, 7 фунт-сила-футов }
      для болта B
      11 Н*м  { 112 кгс*см, 8 фунт-сила-футов }
  4. УСТАНОВИТЕ МАСЛЯНЫЙ ПОДДОН АВТОМАТИЧЕСКОЙ ТРАНСМИССИИ В СБОРЕ


    1. B001EVC

      Установите 4 магнита масляного фильтра трансмиссии на масляный поддон автоматической трансмиссии, как показано на рисунке.

    2. Установите новую прокладку масляного поддона автоматической трансмиссии на масляный поддон автоматической трансмиссии.

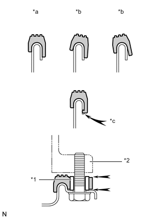
    3. B001H6EE11
      Обозначения на рисунке
      *1 Втулка
      *2 Картер автоматической трансмиссии в сборе
      *a Правильно
      *b Неправильно
      *c Выступание

      Установите масляный поддон автоматической трансмиссии с прокладкой на картер автоматической трансмиссии и закрепите его 10 болтами.

      Torque:
      7,4 Н*м  { 75 кгс*см, 65 фунт-сила-дюймов }

      Note


      • Убедитесь, что уплотнительной поверхности прокладки масляного поддона автоматической трансмиссии и контактной поверхности масляного поддона автоматической трансмиссии отсутствует масло и посторонние частицы.

      • Установите прокладку масляного поддона автоматической трансмиссии так, чтобы она не была ослаблена и вся уплотнительная поверхность была ровной.

      • Убедитесь, что 8 выступов надлежащим образом введены в зацепление на масляном поддоне автоматической трансмиссии.

      • При установке масляного поддона автоматической трансмиссии следите за тем, чтобы прокладка масляного поддона автоматической трансмиссии не была защемлена между втулкой и уплотнительной поверхностью картера автоматической трансмиссии.

  5. ДОБАВЬТЕ ЖИДКОСТЬ ДЛЯ АВТОМАТИЧЕСКОЙ ТРАНСМИССИИ

    Click here

  6. УСТАНОВИТЕ ТРЕБУЕМЫЙ УРОВЕНЬ ЖИДКОСТИ АВТОМАТИЧЕСКОЙ ТРАНСМИССИИ

    (см. стр. Click here)