СИСТЕМА КУРСОВОЙ УСТОЙЧИВОСТИ (для моделей с гидравлическим усилителем тормозной системы), Diagnostic DTC:C1282

Код DTC Наименование DTC
C1282 Датчик положения блокировки межосевого дифференциала

ОПИСАНИЕ

DTC C1282 сохраняется только в режиме активной диагностики.

Код DTC Условие обнаружения DTC Неисправный участок
C1282 Сохраняется в режиме активной диагностики.
  • Жгут или разъем

  • Система раздаточной коробки

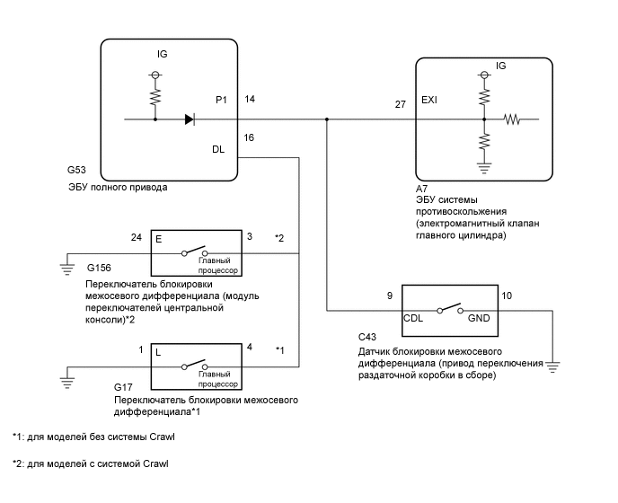
СХЕМА ЭЛЕКТРИЧЕСКИХ СОЕДИНЕНИЙ

A01XM9SE01

ПРЕДОСТЕРЕЖЕНИЕ / ПРИМЕЧАНИЕ / УКАЗАНИЕ

Note

При замене ЭБУ системы противоскольжения (электромагнитного клапана главного цилиндра) выполните калибровку (см. стр. Click here).

ПОРЯДОК ВЫПОЛНЕНИЯ


  1. ПРОВЕРЬТЕ DTC


    1. Проверьте коды DTC (см. стр. Click here).

      Результат
      Результат Следующий шаг
      DTC C1340 не выводится А
      Выводится DTC C1340 B

    B
    А
  2. ПРОВЕРЬТЕ DTC В РЕЖИМЕ АКТИВНОЙ ДИАГНОСТИКИ


    1. Переведите автомобиль в режим активной диагностики, выполните проверку сигнала блокировки межосевого дифференциала, а затем убедитесь, что DTC C1282 режима активной диагностики (проверки сигналов) удален (см. стр. Click here).

      Результат
      Результат Следующий шаг
      DTC C1282 режима активной диагностики не удален А
      DTC C1282 режима активной диагностики удален B

    B
    А
  3. ПРОВЕРЬТЕ ЖГУТ ПРОВОДОВ И РАЗЪЕМ (ЭЛЕКТРОМАГНИТНЫЙ КЛАПАН ГЛАВНОГО ЦИЛИНДРА – ЭБУ ПОЛНОГО ПРИВОДА / ПРИВОД ПЕРЕКЛЮЧЕНИЯ РАЗДАТОЧНОЙ КОРОБКИ В СБОРЕ)


    1. Отсоедините разъем A7 ЭБУ системы противоскольжения (электромагнитного клапана главного цилиндра).

    2. Отсоедините разъем G53 ЭБУ полного привода.

    3. Отсоедините разъем C43 датчика блокировки межосевого дифференциала (привода переключения раздаточной коробки в сборе).

    4. Измерьте сопротивление в соответствии со значениями, приведенными в таблице ниже.

      Номинальное сопротивление
      Подключение диагностического прибора Условие Заданные условия
      A7-27 (EXI) - G53-14 (P1) Всегда Менее 1 Ом
      A7-27 (EXI) - C43-9 (CDL) Всегда Менее 1 Ом
      A7-27 (EXI) - масса Всегда 10 кОм или более

    OK
    NG