СИСТЕМА КУРСОВОЙ УСТОЙЧИВОСТИ (для моделей с гидравлическим усилителем тормозной системы) ПОРЯДОК ПРОВЕДЕНИЯ АКТИВНОЙ ДИАГНОСТИКИ

Note


  • После замены ЭБУ системы противоскольжения (электромагнитного клапана главного цилиндра) и/или датчика замедления и рысканья выполните калибровку.

  • В режиме активной диагностики работа VSC запрещена.

Tech Tips


  • При переключении ЭБУ системы противоскольжения (электромагнитного клапана главного цилиндра) из нормального режима в режим активной диагностики эффективность обнаружения неисправностей повышается.

  • После ремонта или замены датчика частоты вращения или ротора датчика выполните проверку датчика в режиме активной диагностики.

  • Если в режиме активной диагностики замок зажигания переключается из положения ON (ВКЛ) в положение (ACC) или OFF (ВЫКЛ), коды DTC, связанные с функцией проверки сигналов, не будут удалены. При работе в режиме активной диагностики не переключайтесь в нормальный режим.

  • В режиме активной диагностики ЭБУ системы противоскольжения (электромагнитный клапан главного цилиндра) сохраняет все коды DTC, относящиеся к функции проверки сигналов; при подтверждении исправности коды DTC удаляются. Все оставшиеся коды DTC указывают на обнаруженные неисправности.


  1. ПОРЯДОК АКТИВНОЙ ДИАГНОСТИКИ (ПРОВЕРКИ СИГНАЛОВ)


    1. Когда используется GTS:


      1. Установите автомобиль на горизонтальную поверхность с наклоном менее 1%.

      2. Выключите зажигание.

      3. Для моделей с механической трансмиссией:

        Убедитесь в том, что рычаг переключения передач находится в нейтральном положении, и включите стояночный тормоз.

        Для моделей с автоматической трансмиссией:

        Убедитесь, что рычаг переключения передач находится в положении Р.

        CAUTION:

        Для обеспечения безопасности включите стояночный тормоз.

      4. Подключите GTS к DLC3.

      5. Установите замок зажигания в положение ON (ВКЛ).

      6. Включите GTS.

      7. Войдите в следующие меню: Chassis / ABS/VSC/TRC / Utility / Signal Check.

      8. Убедитесь, что контрольные лампы ABS и SLIP мигают с интервалом 0,125 с (0,125 с включены, 0,125 с выключены).

      9. Запустите двигатель.

    2. Проверка сигналов АБС

      Tech Tips

      Перед проверкой сигналов АБС убедитесь, что контрольная лампа ABS мигает по схеме режима активной диагностики (0,125 с включена и 0,125 с выключена).

    3. Проверка датчика давления в главном цилиндре и датчика замедления


      1. Оставьте автомобиль в неподвижном состоянии на ровной поверхности на время не менее 1 с.

      2. Примите меры, чтобы автомобиль оставался в неподвижном состоянии, отпустите педаль тормоза на 1 с или более, а затем быстро нажимайте на нее с усилием не менее 98 Н (10 кгс, 22 фунт-сила-фута) в течение 1 с.

      3. Убедитесь, что контрольная лампа ABS загорается на 3 с.

        Tech Tips

        Всякий раз при выполнении рассмотренных выше действий в режиме активной диагностики контрольная лампа ABS загорается на 3 с.

    4. Проверка датчика блокировки межосевого дифференциала


      1. Нажмите на переключатель блокировки межосевого дифференциала, чтобы заблокировать межосевой дифференциал.

        Tech Tips

        Немного переместите автомобиль вперед или назад, чтобы задействовать блокировку межосевого дифференциала.

      2. Нажмите на переключатель блокировки межосевого дифференциала, чтобы разблокировать межосевой дифференциал.

    5. Проверка датчика частоты вращения

      Note


      • Перед проверкой сигнала датчика частоты вращения выполните проверку датчика давления в главном цилиндре.

      • Проверка сигналов не будет выполнена, если во время ее проведения происходила пробуксовка колес автомобиля, или поворачивалось рулевое колесо.


      1. Несколько секунд двигайтесь на автомобиле строго прямо со скоростью 45 км/час (28 миль в час) или более (проверка сигнала переднего хода).

      2. Убедитесь, что контрольная лампа ABS погасла.

      3. Двигайтесь на автомобиле задним ходом в течение более 1 с со скоростью не менее 3 км/час (2 мили в час) (проверка сигнала заднего хода).

      4. Убедитесь, что контрольная лампа ABS погасла.

        Tech Tips

        Двигаясь задним ходом, проверьте сигнал датчика частоты вращения. Необходимо помнить, что проверка сигналов не может быть выполнена, если скорость автомобиля составляет 45 км/час (28 миль в час) или выше.

        Note


        • Проверка датчика не может быть завершена, если колеса автомобиля пробуксовывают.

        • Контрольная лампа ABS мигает после завершения проверки датчика и нажатия педали тормоза.

        • В случае обнаружения неисправности во время проверки датчика частоты вращения контрольная лампа ABS загорается немедленно.

      5. Остановите автомобиль.

        Note


        • Проверка сигнала датчика частоты вращения не сможет быть выполнена, если в начале проверки поворачивалось рулевое колесо или пробуксовывали колеса.

        • Если проверка сигнала датчика не была завершена, контрольная лампа ABS будет мигать во время движения, а система АБС не сможет работать.

        Tech Tips

        Контрольная лампа ABS гаснет, если проверка сигнала завершается во время движения, и начинает мигать согласно схеме режима активной диагностики, если проверка завершается, когда автомобиль остановлен.

    6. Проверка сигнала VSC

      Tech Tips

      Перед проверкой сигнала VSC убедитесь, что контрольная лампа SLIP мигает по схеме режима активной диагностики (0,125 с включена и 0,125 с выключена).

    7. Проверка переключателя системы помощи при спуске по склону (для моделей с системой помощи при спуске по склону)


      1. Нажмите на переключатель системы помощи при спуске по склону и убедитесь, что мигает контрольная лампа системы помощи при спуске по склону.

      2. Выключите переключатель системы помощи при спуске по склону.

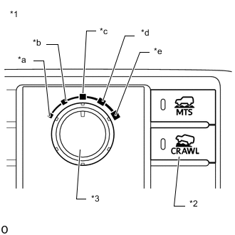
    8. B001E44C01
      *1 Комбинированный переключатель в сборе
      *2 Выключатель системы CRAWL
      *3 Переключатель выбора скорости системы CRAWL
      *a Низкая
      *b Умеренно низкая
      *c Medium
      *d Умеренно высокая
      *e Высокая

      Проверка выключателя системы Crawl и переключателя выбора скорости системы Crawl (для моделей с системой Crawl)


      1. Нажмите выключатель системы Crawl и убедитесь, что контрольная лампа Crawl горит, пока выключатель удерживается нажатым.

      2. Выключатель системы CRAWL находится в выключенном состоянии.

      3. Установите переключатель выбора скорости Crawl в положение низкой скорости.

      4. Установите переключатель выбора скорости Crawl в положение средней/низкой скорости.

      5. Установите переключатель выбора скорости Crawl в положение средней скорости.

      6. Установите переключатель выбора скорости Crawl в положение средней/высокой скорости.

      7. Установите переключатель выбора скорости Crawl в положение высокой скорости.

      8. Установите переключатель выбора скорости Crawl в положение низкой скорости.

        Tech Tips

        Состояние переключателя выбора скорости Crawl отображается на мультиинформационном дисплее.

    9. Проверка выключателя VSC OFF


      1. Нажмите выключатель VSC OFF.

      2. Убедитесь, что загорается контрольная лампа VSC OFF.

      3. Снова нажмите на выключатель VSC OFF, чтобы выключить контрольную лампу VSC OFF.

    10. Конец режима проверки сигналов


      1. После проверки сигналов контрольные лампы ABS и SLIP мигают (0,125 с включены и 0,125 с выключены), если автомобиль остановлен, и гаснут, если автомобиль движется.

        Note

        Если проверка сигнала датчика не была завершена, контрольная лампа ABS будет мигать во время движения, а система АБС не сможет работать.

    11. Считайте коды DTC, обнаруженные в режиме активной диагностики (проверка сигналов)


      1. Проверьте, отображаются ли коды DTC на экране GTS.

        Note


        • Если выводятся только коды DTC, отличные от DTC проверки сигналов в режиме активной диагностики, устраните неисправности и удалите DTC.

        • Если выводятся коды DTC проверки датчиков в режиме активной диагностики и прочие коды DTC, или если выводятся только коды DTC режима активной диагностики, устраните неисправности, удалите DTC и снова выполните проверку в режиме активной диагностики.

        Tech Tips

        См. коды DTC проверки сигналов.

      2. Выключите зажигание и отсоедините GTS.

  2. ПЕРЕЧЕНЬ DTC АКТИВНОЙ ДИАГНОСТИКИ (ПРОВЕРКИ СИГНАЛОВ)

    ABS
    Код DTC Неисправность Неисправный участок
    C1271 Сбой выходного напряжения правого переднего датчика частоты вращения
    • Правый передний датчик частоты вращения

    • Установка датчика

    • Ротор датчика частоты вращения

    C1272 Сбой выходного напряжения левого переднего датчика частоты вращения
    • Левый передний датчик частоты вращения

    • Установка датчика

    • Ротор датчика частоты вращения

    C1273 Сбой выходного напряжения правого заднего датчика частоты вращения
    • Задний правый датчик частоты вращения

    • Установка датчика

    • Ротор датчика частоты вращения

    C1274 Сбой выходного напряжения левого заднего датчика частоты вращения
    • Левый задний датчик частоты вращения

    • Установка датчика

    • Ротор датчика частоты вращения

    C1275 Ненормальное изменение выходного сигнала правого переднего датчика частоты вращения
    • Правый передний датчик частоты вращения

    • Ротор датчика частоты вращения

    C1276 Ненормальное изменение выходного сигнала левого переднего датчика частоты вращения
    • Левый передний датчик частоты вращения

    • Ротор датчика частоты вращения

    C1277 Ненормальное изменение выходного сигнала правого заднего датчика частоты вращения
    • Задний правый датчик частоты вращения

    • Ротор датчика частоты вращения

    C1278 Ненормальное изменение выходного сигнала левого заднего датчика частоты вращения
    • Левый задний датчик частоты вращения

    • Ротор датчика частоты вращения

    C1279 Сбой выходного напряжения датчика замедления
    • Установка датчика

    • Жгут или разъем

    • Датчик замедления и рысканья (блок управления системы SRS в сборе)

    • Система передачи данных CAN

    C1281 Сбой выходного сигнала датчика давления в главном цилиндре. Электромагнитный клапан главного цилиндра (датчик давления в главном цилиндре)
    C1282 Неисправность датчика положения блокировки межосевого дифференциала
    • Жгут или разъем

    • Система раздаточной коробки

    VSC
    Код DTC Неисправность Неисправный участок
    C1379 Неисправность переключателя CRAWL
    • Переключатель системы помощи при спуске по склону*1

    • Выключатель системы Crawl (комбинированный переключатель в сборе)*2

    • Переключатель выбора скорости Crawl (комбинированный переключатель в сборе)*2

    • Жгут или разъем

    • ЭБУ системы противоскольжения (электромагнитный клапан главного цилиндра)


    • *1: для моделей без комбинированного переключателя (для моделей с системой помощи при спуске по склону)

    • *2: для моделей с системой Crawl