АНТИБЛОКИРОВОЧНАЯ СИСТЕМА ТОРМОЗОВ Контрольная лампа состояния тормозной системы остается включенной

ОПИСАНИЕ

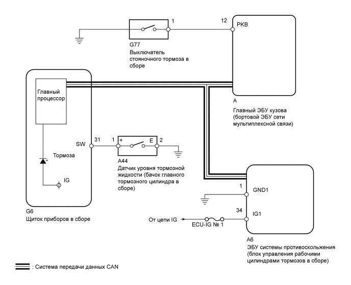
ЭБУ системы противоскольжения (блок управления рабочими цилиндрами тормозов) соединен с щитком приборов шиной CAN.

Контрольная лампа BRAKE включается при регистрации любого из описанных ниже событий.


СХЕМА ЭЛЕКТРИЧЕСКИХ СОЕДИНЕНИЙ

B001D8LE14

ПРЕДОСТЕРЕЖЕНИЕ / ПРИМЕЧАНИЕ / УКАЗАНИЕ

Note

При замене блока управления рабочими цилиндрами тормозов выполните калибровку (см. стр. Click here).

ПОРЯДОК ВЫПОЛНЕНИЯ


  1. ПРОВЕРЬТЕ СИСТЕМУ ПЕРЕДАЧИ ДАННЫХ CAN


    1. Проверьте, не выводятся ли коды DTC системы передачи данных CAN (см. стр. Click here).

      Результат
      Результат Перейти к
      Коды DTC не отображаются А
      Код DTC отображается B

    B
    А
  2. УБЕДИТЕСЬ В ТОМ, ЧТО ЭБУ СИСТЕМЫ ПРОТИВОСКОЛЬЖЕНИЯ ПОДСОЕДИНЕН НАДЕЖНО


    1. Проверьте подсоединение разъема ЭБУ системы противоскольжения.

      OK
      Разъем подсоединен надежно.

    NG
    OK
  3. ПРОВЕРЬТЕ НАПРЯЖЕНИЕ НА КОНТАКТЕ (IG1)


    1. Отсоедините разъем A6 ЭБУ системы противоскольжения (блока управления рабочими цилиндрами тормозов в сборе).

    2. B001GNGE03
      Обозначения на рисунке
      *a

      Вид спереди разъема со стороны жгута проводов:

      (к ЭБУ системы противоскольжения (блоку управления рабочими цилиндрами тормозов))

      Измерьте напряжение в соответствии со значениями, приведенными в таблице.

      Номинальное напряжение
      Подключение диагностического прибора Положение переключателя Заданные условия
      A6-34 (IG1) - масса Зажигание включено 11-14 В

    NG
    OK
  4. ПРОВЕРЬТЕ ЖГУТ ПРОВОДОВ И РАЗЪЕМ (КОНТАКТ GND1)


    1. Отсоедините разъем A6 ЭБУ системы противоскольжения (блока управления рабочими цилиндрами тормозов в сборе).

    2. Измерьте сопротивление в соответствии со значениями, приведенными в таблице ниже.

      Номинальное сопротивление
      Подключение диагностического прибора Условие Заданные условия
      A6-1 (GND1) - масса Всегда Менее 1 Ом

    NG
    OK
  5. СНИМИТЕ ПОКАЗАНИЯ GTS (ВЫКЛЮЧАТЕЛЬ СТОЯНОЧНОГО ТОРМОЗА)


    1. Выключите зажигание.

    2. Подключите GTS к DLC3.

    3. Установите замок зажигания в положение ON (ВКЛ).

    4. Включите GTS.

    5. Войдите в следующие меню: Chassis / ABS/VSC/TRC / Data List.

      ABS / VSC / TRC
      Информация на дисплее прибора Измеряемая величина / диапазон измерения Нормальное состояние Замечание по диагностике
      Parking Brake SW Состояние выключателя стояночного тормоза / ON (ВКЛ) или OFF (ВЫКЛ)

      ON (ВКЛ): стояночный тормоз включен

      OFF (ВЫКЛ): стояночный тормоз выключен

      -
    6. С помощью GTS проверьте работу выключателя при управлении педалью стояночного тормоза.

      OK
      Во время управления стояночным тормозом значение на дисплее изменяется, как показано выше.

    NG
    OK
  6. ПРОВЕРЬТЕ ДАТЧИК УРОВНЯ ТОРМОЗНОЙ ЖИДКОСТИ


    1. Выключите зажигание.

    2. Снимите крышку наливного отверстия бачка и сетчатый фильтр.

    3. Отсоедините разъем A44 датчика уровня тормозной жидкости (бачка главного цилиндра тормозной системы в сборе).

    4. B001FJUE05
      Обозначения на рисунке
      *a

      Устройство с неподсоединенным жгутом проводов

      (датчик уровня тормозной жидкости (бачок главного тормозного цилиндра в сборе))

      Измерьте сопротивление в соответствии со значениями, приведенными в таблице ниже.

      Tech Tips

      Внутри бачка находится поплавок. Его положение изменяется при увеличении и уменьшении уровня тормозной жидкости.

      Номинальное сопротивление
      Подключение диагностического прибора Положение переключателя Заданные условия
      1 (+) - 2 (E) Датчик выключен (поплавок вверху) 10 кОм или более
      Датчик включен (поплавок внизу) Менее 1 Ом

      Tech Tips

      Если после завершения рассмотренной выше проверки не выявлены неисправности, установите уровень тормозной жидкости на отметке MAX.


    NG
    OK
  7. ПРОВЕРЬТЕ ЖГУТ ПРОВОДОВ И РАЗЪЕМ (ЩИТОК ПРИБОРОВ В СБОРЕ - БАЧОК ГЛАВНОГО ЦИЛИНДРА ТОРМОЗНОЙ СИСТЕМЫ В СБОРЕ)


    1. Отсоедините разъем G6 щитка приборов.

    2. Отсоедините разъем A44 датчика уровня тормозной жидкости (бачка главного цилиндра тормозной системы в сборе).

    3. Измерьте сопротивление в соответствии со значениями, приведенными в таблице ниже.

      Номинальное сопротивление
      Подключение диагностического прибора Условие Заданные условия
      G6-31 (SW) - A44-1 (+) Всегда Менее 1 Ом
      G6-31 (SW) - масса Всегда 10 кОм или более
      А44-2 (E) - масса Всегда Менее 1 Ом

    NG
    OK
  8. СНИМИТЕ ПОКАЗАНИЯ GTS (BRAKE WARNING LIGHT)


    1. Выключите зажигание.

    2. Подключите GTS к DLC3.

    3. Установите замок зажигания в положение ON (ВКЛ).

    4. Включите GTS.

    5. Войдите в следующие меню: Chassis / ABS/VSC/TRC / Data List.

      ABS / VSC / TRC
      Информация на дисплее прибора Измеряемая величина / диапазон измерения Нормальное состояние Замечание по диагностике
      Brake Warning Light Состояние контрольной лампы состояния тормозной системы / ON (ВКЛ) или OFF (ВЫКЛ) OFF (ВЫКЛ) -
    6. Выполняя испытание Brake Warning Light в режиме Active Test, следите за параметром Brake Warning Light в списке Data List (см. стр. Click here).

      ABS / VSC / TRC
      Информация на дисплее прибора Испытываемое устройство Диапазон регулирования Замечание по диагностике
      Brake Warning Light Контрольная лампа BRAKE Включение / выключение контрольной лампы аварийного состояния Следите за индикацией на щитке приборов
      Результат
      Результат Следующий шаг
      Экран Data List Показания Data List при изменении установки ON/OFF (ВКЛ/ВЫКЛ) в режиме Active Test
      ON (ВКЛ) Не изменяется между ON (ВКЛ) и OFF (ВЫКЛ) А
      Изменяется между ON (ВКЛ) и OFF (ВЫКЛ) B
      OFF (ВЫКЛ) Не изменяется между ON (ВКЛ) и OFF (ВЫКЛ) А
      Изменяется между ON (ВКЛ) и OFF (ВЫКЛ) B

    А
    B
  9. ПРОВЕРЬТЕ ВЫКЛЮЧАТЕЛЬ СТОЯНОЧНОГО ТОРМОЗА В СБОРЕ


    1. Выключите зажигание.

    2. Отсоедините разъем G77 выключателя стояночного тормоза.

    3. B001GG6E01
      Обозначения на рисунке
      *a

      Устройство с неподсоединенным жгутом проводов

      (выключатель стояночного тормоза в сборе)

      Измерьте сопротивление в соответствии со значениями, приведенными в таблице ниже.

      Номинальное сопротивление
      Контакты для подключения диагностического прибора Положение переключателя Заданные условия
      1 - масса

      Выключатель стояночного тормоза в сборе включен

      (штырь выключателя отжат)

      Менее 1 Ом

      Выключатель стояночного тормоза в сборе выключен

      (штырь выключателя нажат)

      10 кОм или более

    NG
    OK
  10. ПРОВЕРЬТЕ ЖГУТ ПРОВОДОВ И РАЗЪЕМ (ВЫКЛЮЧАТЕЛЬ СТОЯНОЧНОГО ТОРМОЗА - ГЛАВНЫЙ ЭБУ КУЗОВА (БОРТОВОЙ ЭБУ СЕТИ МУЛЬТИПЛЕКСНОЙ СВЯЗИ))


    1. Снимите главный ЭБУ кузова (бортовой ЭБУ сети мультиплексной связи) (см. стр. Click here).

    2. Отсоедините разъем G77 выключателя стояночного тормоза.

    3. Измерьте сопротивление в соответствии со значениями, приведенными в таблице ниже.

      Номинальное сопротивление
      Подключение диагностического прибора Условие Заданные условия
      A-12 (PKB) - G77-1 Всегда Менее 1 Ом
      A-12 (PKB) - масса Всегда 10 кОм или более

    OK
    NG