АНТИБЛОКИРОВОЧНАЯ СИСТЕМА ТОРМОЗОВ Контрольная лампа состояния тормозной системы остается включенной

ОПИСАНИЕ

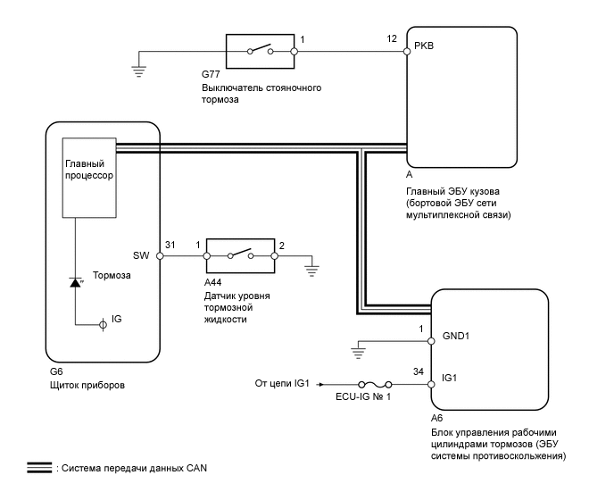
ЭБУ системы противоскольжения соединен с щитком приборов посредством мультиплексной шины CAN.

Контрольная лампа BRAKE включается при регистрации любого из описанных ниже событий.


СХЕМА ЭЛЕКТРИЧЕСКИХ СОЕДИНЕНИЙ

B001D8LE11

ПРЕДОСТЕРЕЖЕНИЕ / ПРИМЕЧАНИЕ / УКАЗАНИЕ

Note

При замене блока управления рабочими цилиндрами тормозов выполните калибровку (см. стр. Click here).

ПОРЯДОК ВЫПОЛНЕНИЯ


  1. ПРОВЕРЬТЕ СИСТЕМУ ПЕРЕДАЧИ ДАННЫХ CAN


    1. Проверьте, выводятся ли DTC системы передачи данных CAN (для моделей с левосторонним рулевым управлением без системы посадки и запуска см. стр. , для моделей с правосторонним рулевым управлением без системы посадки и запуска см. стр. Click here).

      Результат
      Результат Перейти к
      Коды DTC не отображаются А
      Код DTC отображается для моделей с левосторонним рулевым управлением без системы посадки и запуска B
      Код DTC отображается для моделей с правосторонним рулевым управлением без системы посадки и запуска C

    B
    C
    А
  2. УБЕДИТЕСЬ В ТОМ, ЧТО ЭБУ СИСТЕМЫ ПРОТИВОСКОЛЬЖЕНИЯ ПОДСОЕДИНЕН НАДЕЖНО


    1. Проверьте подсоединение разъема ЭБУ системы противоскольжения.

      OK
      Разъем подсоединен надежно.

    NG
    OK
  3. ПРОВЕРЬТЕ НАПРЯЖЕНИЕ НА КОНТАКТЕ (IG1)


    1. Отсоедините разъем A6 ЭБУ системы противоскольжения.

    2. B001GNGE03
      Обозначения на рисунке
      *a

      Вид спереди разъема со стороны жгута проводов:

      (к ЭБУ системы противоскольжения)

      Измерьте напряжение в соответствии со значениями, приведенными в таблице.

      Номинальное напряжение
      Подключение диагностического прибора Положение переключателя Заданные условия
      A6-34 (IG1) - масса Зажигание включено 11-14 В

    NG
    OK
  4. ПРОВЕРЬТЕ ЖГУТ ПРОВОДОВ И РАЗЪЕМ (КОНТАКТ GND1)


    1. Отсоедините разъем A6 ЭБУ системы противоскольжения.

    2. Измерьте сопротивление в соответствии со значениями, приведенными в таблице ниже.

      Номинальное сопротивление
      Подключение диагностического прибора Условие Заданные условия
      A6-1 (GND1) - масса Всегда Менее 1 Ом

    NG
    OK
  5. СНИМИТЕ ПОКАЗАНИЯ ПОРТАТИВНОГО ДИАГНОСТИЧЕСКОГО ПРИБОРА (PARKING BRAKE SW)


    1. Выключите зажигание.

    2. Подсоедините портативный диагностический прибор к DLC3.

    3. Установите замок зажигания в положение ON (ВКЛ).

    4. Включите портативный диагностический прибор.

    5. Войдите в следующие меню: Chassis / ABS/VSC/TRC / Data List.

      ABS / VSC / TRC
      Информация на дисплее прибора Измеряемая величина / диапазон измерения Нормальное состояние Замечание по диагностике
      Parking Brake SW Состояние выключателя стояночного тормоза / ON (ВКЛ) или OFF (ВЫКЛ)

      ON (ВКЛ): стояночный тормоз включен

      OFF (ВЫКЛ): стояночный тормоз выключен

      -
    6. С помощью портативного диагностического прибора проверьте работу выключателя при управлении педалью стояночного тормоза.

      OK
      Во время управления стояночным тормозом значение на дисплее изменяется, как показано выше.

    NG
    OK
  6. ПРОВЕРЬТЕ ДАТЧИК УРОВНЯ ТОРМОЗНОЙ ЖИДКОСТИ


    1. Выключите зажигание.

    2. Снимите крышку наливного отверстия бачка и сетчатый фильтр.

    3. Отсоедините разъем A44 датчика уровня тормозной жидкости.

    4. B001FJUE01
      Обозначения на рисунке
      *a

      Устройство с неподсоединенным жгутом проводов

      (датчик уровня тормозной жидкости)

      Измерьте сопротивление в соответствии со значениями, приведенными в таблице ниже.

      Tech Tips

      Внутри бачка находится поплавок. Его положение изменяется при увеличении и уменьшении уровня тормозной жидкости.

      Номинальное сопротивление
      Подключение диагностического прибора Положение переключателя Заданные условия
      1 - 2 Датчик выключен (поплавок вверху) 10 кОм или более
      Датчик включен (поплавок внизу) Менее 1 Ом

      Tech Tips

      Если после завершения рассмотренной выше проверки не выявлены неисправности, установите уровень тормозной жидкости на отметке MAX.


    NG
    OK
  7. ПРОВЕРЬТЕ ЖГУТ ПРОВОДОВ И РАЗЪЕМ (ЩИТОК ПРИБОРОВ – ДАТЧИК УРОВНЯ ТОРМОЗНОЙ ЖИДКОСТИ)


    1. Отсоедините разъем G6 щитка приборов.

    2. Отсоедините разъем A44 датчика уровня тормозной жидкости.

    3. Измерьте сопротивление в соответствии со значениями, приведенными в таблице ниже.

      Номинальное сопротивление
      Подключение диагностического прибора Условие Заданные условия
      G6-31 (SW) - A44-1 Всегда Менее 1 Ом
      G6-31 (SW) - масса Всегда 10 кОм или более
      A44-2 - масса Всегда Менее 1 Ом

    NG
    OK
  8. СНИМИТЕ ПОКАЗАНИЯ ПОРТАТИВНОГО ДИАГНОСТИЧЕСКОГО ПРИБОРА (КОНТРОЛЬНАЯ ЛАМПА СОСТОЯНИЯ ТОРМОЗНОЙ СИСТЕМЫ)


    1. Выключите зажигание.

    2. Подсоедините портативный диагностический прибор к DLC3.

    3. Установите замок зажигания в положение ON (ВКЛ).

    4. Включите портативный диагностический прибор.

    5. Войдите в следующие меню: Chassis / ABS/VSC/TRC / Data List.

      ABS / VSC / TRC
      Информация на дисплее прибора Измеряемая величина / диапазон измерения Нормальное состояние Замечание по диагностике
      Brake Warning Light Состояние контрольной лампы состояния тормозной системы / ON (ВКЛ) или OFF (ВЫКЛ) OFF (ВЫКЛ) -
    6. Выполняя испытание Brake Warning Light в режиме Active Test, следите за параметром Brake Warning Light в списке Data List (см. стр. Click here).

      ABS / VSC / TRC
      Информация на дисплее прибора Испытываемое устройство Диапазон регулирования Замечание по диагностике
      Brake Warning Light Контрольная лампа BRAKE Включение / выключение контрольной лампы аварийного состояния Следите за индикацией на щитке приборов
      Результат
      Результат Следующий шаг
      Экран Data List Показания Data List при изменении установки ON/OFF (ВКЛ/ВЫКЛ) в режиме Active Test
      ON (ВКЛ) Не изменяется между ON (ВКЛ) и OFF (ВЫКЛ) А
      Изменяется между ON (ВКЛ) и OFF (ВЫКЛ) B
      OFF (ВЫКЛ) Не изменяется между ON (ВКЛ) и OFF (ВЫКЛ) А
      Изменяется между ON (ВКЛ) и OFF (ВЫКЛ) B

    А
    B
  9. ПРОВЕРЬТЕ ВЫКЛЮЧАТЕЛЬ СТОЯНОЧНОГО ТОРМОЗА


    1. Выключите зажигание.

    2. Отсоедините разъем G77 выключателя стояночного тормоза.

    3. B001GG6E01
      Обозначения на рисунке
      *a

      Устройство с неподсоединенным жгутом проводов

      (выключатель стояночного тормоза)

      Измерьте сопротивление в соответствии со значениями, приведенными в таблице ниже.

      Номинальное сопротивление
      Контакты для подключения диагностического прибора Положение переключателя Заданные условия
      1 - масса

      Выключатель стояночного тормоза в состоянии ON (ВКЛ)

      (штырь выключателя отжат)

      Менее 1 Ом

      Выключатель стояночного тормоза в состоянии OFF (ВЫКЛ)

      (штырь выключателя нажат)

      10 кОм или более

    NG
    OK
  10. ПРОВЕРЬТЕ ЖГУТ ПРОВОДОВ И РАЗЪЕМ (ВЫКЛЮЧАТЕЛЬ СТОЯНОЧНОГО ТОРМОЗА – ГЛАВНЫЙ ЭБУ КУЗОВА)


    1. Снимите главный ЭБУ кузова (см. стр. Click here).

    2. Отсоедините разъем G77 выключателя стояночного тормоза.

    3. Измерьте сопротивление в соответствии со значениями, приведенными в таблице ниже.

      Номинальное сопротивление
      Подключение диагностического прибора Условие Заданные условия
      A-12 (PKB) - G77-1 Всегда Менее 1 Ом
      A-12 (PKB) - масса Всегда 10 кОм или более

    OK
    NG