АНТИБЛОКИРОВОЧНАЯ СИСТЕМА ТОРМОЗОВ, Diagnostic DTC:C0273, C0274, C1361

Код DTC Наименование DTC
C0273 Обрыв в цепи реле двигателя ABS
C0274 Обрыв в цепи реле электродвигателя ABS
C1361 Короткое замыкание в цепи реле аварийного режима работы электродвигателя ABS

ОПИСАНИЕ

Реле электродвигателя подает питание на электродвигатель насоса. Когда АБС приводится в действие, ЭБУ включает реле электродвигателя и приводит в движение электродвигатель насоса.

Эти коды DTC могут сохраняться, когда напряжение, подаваемое на реле электродвигателя (BM), оказывается ниже порога регистрации DTC из-за низкого напряжения аккумуляторной батареи или генератора.

Код DTC Условие обнаружения DTC Неисправный участок
C0273

Выполняется любое из следующих условий:


  1. Все условия выполняются в течение 0,12 с или более.


    • Напряжение на контакте IG1 находится в диапазоне 9,5–17,2 В.

    • АБС или BA работает при выполнении первоначальной проверки.

    • Контакт реле разомкнут, когда реле включено.

  2. Оба условия выполняются в течение 0,12 с.


    • Напряжение на контакте IG1 ниже 9,5 В.

    • Контакт реле остается разомкнутым, когда реле включено.


  • Предохранитель ABS № 1

  • Цепь реле электродвигателя

  • Блок управления рабочими цилиндрами тормозов в сборе (реле электродвигателя)

C0274 Когда реле электродвигателя выключено, реле электродвигателя остается замкнутым в течение 4 с или более.
  • Цепь реле электродвигателя

  • Блок управления рабочими цилиндрами тормозов в сборе (реле электродвигателя)

C1361 Сразу после включения зажигания контакты реле оказываются замкнутыми в течение 4 с, хотя реле аварийного режима электродвигателя выключено.
  • Предохранитель ABS № 1

  • Цепь реле аварийного режима электродвигателя

  • Блок управления рабочими цилиндрами тормозов в сборе (реле аварийного режима электродвигателя)

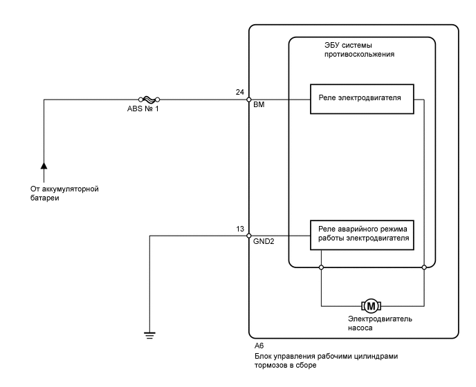
СХЕМА ЭЛЕКТРИЧЕСКИХ СОЕДИНЕНИЙ

B001ECKE21

ПРЕДОСТЕРЕЖЕНИЕ / ПРИМЕЧАНИЕ / УКАЗАНИЕ

Note


  • При замене ЭБУ системы противоскольжения (блока управления рабочими цилиндрами тормозов) выполните калибровку (см. стр. Click here).

  • Перед выполнением следующей процедуры проверки проверьте предохранители цепей, относящихся к данной системе.

Tech Tips

Если вместе с DTC C0273, C0274 и/или C1361 выводится DTC C1241, сначала необходимо проверить и отремонтировать неисправные узлы, на которые указывает DTC C1241 (см. стр. Click here).

ПОРЯДОК ВЫПОЛНЕНИЯ


  1. ВЫПОЛНИТЕ АКТИВНУЮ ДИАГНОСТИКУ С ПОМОЩЬЮ ПОРТАТИВНОГО ДИАГНОСТИЧЕСКОГО ПРИБОРА (РЕЛЕ ЭЛЕКТРОДВИГАТЕЛЯ)


    1. Выключите зажигание.

    2. Подсоедините портативный диагностический прибор к DLC3.

    3. Запустите двигатель.

    4. Включите портативный диагностический прибор.

    5. Войдите в следующие меню: Chassis / ABS/VSC/TRC / Active Test.

      ABS / VSC / TRC
      Информация на дисплее прибора Испытываемое устройство Диапазон регулирования Замечание по диагностике
      Motor Relay Реле электродвигателя Включение / выключение реле Слышен звук работы электродвигателя.
    6. Управляя реле электродвигателя с помощью портативного диагностического прибора, проверьте наличие звука срабатывания реле.

      Результат
      Результат Перейти к
      Звук срабатывания не слышен А
      Звук срабатывания слышен B

    B
    А
  2. ПРОВЕРЬТЕ НАПРЯЖЕНИЕ НА КОНТАКТЕ (BM)


    1. Выключите зажигание.

    2. Отсоедините разъем A6 ЭБУ системы противоскольжения (блока управления рабочими цилиндрами тормозов в сборе).

    3. A01XCEUE01
      Обозначения на рисунке
      *a

      Вид спереди разъема со стороны жгута проводов:

      (к ЭБУ системы противоскольжения [блоку управления рабочими цилиндрами тормозов])

      Измерьте напряжение в соответствии со значениями, приведенными в таблице.

      Номинальное напряжение
      Подключение диагностического прибора Условие Заданные условия
      A6-24 (BM) - масса Всегда 11—14 В

    NG
    OK
  3. ПРОВЕРЬТЕ ЖГУТ ПРОВОДОВ И РАЗЪЕМ (КОНТАКТ GND2)


    1. Отсоедините разъем A6 ЭБУ системы противоскольжения (блока управления рабочими цилиндрами тормозов в сборе).

    2. Измерьте сопротивление в соответствии со значениями, приведенными в таблице ниже.

      Номинальное сопротивление
      Подключение диагностического прибора Условие Заданные условия
      A6-13 (GND2) - масса Всегда Менее 1 Ом

    NG
    OK
  4. СНОВА ПРОВЕРЬТЕ DTC

    Tech Tips

    Этот код сохраняется при обнаружении неисправности в ЭБУ системы противоскольжения (блоке управления рабочими цилиндрами тормозов).

    Реле электродвигателя находится в ЭБУ системы противоскольжения (блоке управления рабочими цилиндрами тормозов в сборе).

    Поэтому выполнить проверки реле электродвигателя и блока реле электродвигателя невозможно. Перед заменой ЭБУ системы противоскольжения (блока управления рабочими цилиндрами тормозов) обязательно проверьте, не выводится ли DTC.


    1. Выключите зажигание.

    2. Подсоедините разъем ЭБУ системы противоскольжения (блока управления рабочими цилиндрами тормозов в сборе).

    3. Сбросьте коды DTC (см. стр. Click here).

    4. Запустите двигатель.

    5. Совершите поездку на автомобиле со скоростью не менее 20 км/час (12 миль в час) длительностью 30 с или более.

    6. Проверьте, выводится ли тот же DTC (см. стр. Click here).

      Результат
      Результат Следующий шаг
      Коды DTC не отображаются А
      Код DTC отображается B

      Tech Tips


      • Если при включенном зажигании и выключенном выключателе стоп-сигналов в ЭБУ системы противоскольжения (блок управления рабочими цилиндрами тормозов) поступает сигнал скорости 6 км/час (4 мили в час) или более, ЭБУ выполняет самодиагностику цепей электродвигателя и электромагнитного клапана.

      • Если выводится код нормальной работы системы (коды неисправностей не выводятся), слегка покачайте разъемы, жгуты проводов и предохранители ЭБУ системы противоскольжения (блока управления рабочими цилиндрами тормозов). Убедитесь в том, что коды DTC не выводятся.

      • Если при покачивании разъема или жгута проводов ЭБУ системы противоскольжения (блока управления рабочими цилиндрами тормозов) выводятся какие-либо коды DTC, проверьте и отремонтируйте разъем или жгут проводов. Возможно, коды DTC выводятся вследствие плохого контакта в разъеме.


    А
    B