ПЕРЕКЛЮЧАТЕЛЬ РЕГУЛИРОВКИ ВЫСОТЫ УЗЛЫ И ДЕТАЛИ

ИЛЛЮСТРАЦИЯ

A01XJDDE02
*a КОМБИНИРОВАННЫЙ ПЕРЕКЛЮЧАТЕЛЬ

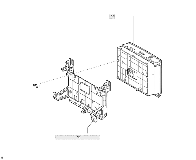
ИЛЛЮСТРАЦИЯ

A01XKKXE16
*a МОДУЛЬ ПЕРЕКЛЮЧАТЕЛЕЙ ЦЕНТРАЛЬНОЙ КОНСОЛИ (ПЕРЕКЛЮЧАТЕЛЬ РЕГУЛИРОВКИ ВЫСОТЫ)
*b ПАНЕЛЬ МОДУЛЯ ЦЕНТРАЛЬНОЙ КОНСОЛИ