ПЕРЕКЛЮЧАТЕЛЬ СИСТЕМЫ ПОМОЩИ ПРИ СПУСКЕ ПО СКЛОНУ УСТАНОВКА

ПОРЯДОК ВЫПОЛНЕНИЯ


  1. УСТАНОВИТЕ ПЕРЕКЛЮЧАТЕЛЬ СИСТЕМЫ ПОМОЩИ ПРИ СПУСКЕ ПО СКЛОНУ


    1. A01XHJ5

      Введите в зацепление 2 захвата, чтобы закрепить переключатель системы помощи при спуске по склону на передней накладке верхней облицовки панели пола.

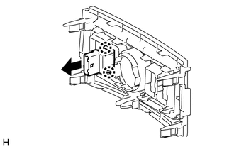
    2. Подсоедините разъем.

  2. УСТАНОВИТЕ ПЕРЕДНЮЮ НАКЛАДКУ ВЕРХНЕЙ ОБЛИЦОВКИ ПАНЕЛИ ПОЛА

    (см. стр. Click here)