CAN COMMUNICATION SYSTEM PRECAUTION


  1. NOTICE FOR INITIALIZATION

    Note

    When disconnecting the cable from the negative (-) battery terminal, initialize the following system after the cable is reconnected.

    System See Procedure
    Parking Assist Monitor System

    Click here

  2. CAN COMMUNICATION SYSTEM TROUBLESHOOTING


    1. Because the order of diagnosis is important to allow correct diagnosis, make sure to begin troubleshooting using How to Proceed with Troubleshooting when CAN communication system related DTCs are output Click here.

  3. IGNITION SWITCH EXPRESSIONS


    1. The type of ignition switch used on this model differs depending on the specifications of the vehicle. The expressions listed in the table below are used in this section.

      Expression Ignition Switch (Position) Engine Switch (Condition)
      Ignition Switch off LOCK Off (Lock)
      Ignition Switch ACC ACC On (ACC)
      Ignition Switch ON ON On (IG)
      Engine Start START On (Start)
  4. PRECAUTIONS FOR STEERING SYSTEM HANDLING


    1. Be careful when replacing parts. Incorrect replacement could affect the performance of the steering system and result in hazardous driving.

  5. PRECAUTIONS FOR SRS AIRBAG SYSTEM HANDLING


    1. This vehicle is equipped with a Supplemental Restraint System (SRS) which includes parts such as airbags for the driver and front passenger. Failure to carry out service operations in the correct sequence could cause unexpected SRS deployment during servicing and may cause a serious accident. Before servicing (including removal or installation of parts, inspection or replacement), be sure to read Precaution for SRS .

      (for TMC, TMMR Made Click here

      (for TMMK Made Click here

  6. BUS LINE REPAIR


    1. B000HH5

      After repairing a bus line with solder, wrap the repaired part with electrical tape.

      Note


      • The CANL bus line and CANH bus line must be installed together at all times.

      • When installing, make sure that these lines are twisted, because CAN bus lines are likely to be influenced by electrical noise if the bus lines are not twisted.

      • Leave approximately 80 mm (3.15 in.) loose in the twisted wires around the connector.

      • When repairing the CAN bus lines, do not change the length of the lines. (Make sure that the length of the CANH bus line and CANL bus line are the same.)

    2. B000NGPE17
      Text in Illustration
      *a Bypass Wire

      Do not use bypass wiring between connectors.

      Note


      • The ability of the twisted bus lines to resist interference will be lost if bypass wiring is used.

      • Do not use a twisted pair of wires for bypass wiring.

  7. CONNECTOR HANDLING


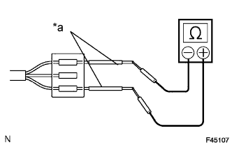
    1. B000M78E10
      Text in Illustration
      *a Tester Probe

      When checking resistance with a tester, insert the tester probes from the backside (harness side) of the connector.

    2. B000MCOE22
      Text in Illustration
      *a Service Wire

      Use service wires to check the connector if it is impossible to check continuity from the rear of the connector.

  8. PRECAUTIONS FOR INSPECTING OR REPLACING CAN JUNCTION CONNECTOR


    1. If the CAN junction connector is removed from the vehicle for inspection or replacement, make sure to install the CAN junction connector and all wire harnesses to their original locations with tape and clamps.

  9. PRECAUTIONS WHEN REPLACING A GATEWAY FUNCTION EQUIPPED ECU (SUB BUS MONITOR ECU) WITH A USED ONE FROM ANOTHER VEHICLE


    1. When a gateway function equipped ECU (main body ECU (multiplex network body ECU) or network gateway ECU) that was previously installed on another vehicle is used as a replacement part, it is necessary to initialize the connection information stored in the ECU.

      Note

      If the connection information stored in a gateway function equipped ECU that was previously installed on another vehicle is different from the actual ECUs and sensors connected to the corresponding bus, communication DTCs will be detected.

      Tech Tips

      When an ECU is replaced with one from a vehicle with the same options and specifications (the same connections to the corresponding bus), initialization of ECU connection information is not necessary.

    2. Initialize the connection information of a gateway function equipped ECU (sub bus monitor ECU).

    3. Connect the GTS to the DLC3.

    4. Turn the ignition switch to ON.

    5. Turn the GTS on.

    6. Enter the following menus: Body Electrical / Main Body or Gateway / Utility.

    7. Select Initialization from Utility to initialize the ECU.

  10. PRECAUTIONS FOR WHEN GATEWAY FUNCTION EQUIPPED ECU (SUB BUS MONITOR ECU) DETECTS COMMUNICATION DTCS FOR ECUS NOT CONNECTED TO THE ECU


    1. Refer to Precautions When Replacing a Gateway Function Equipped ECU (Sub Bus Monitor ECU) with a Used One from Another Vehicle and initialize the connection information of the ECU.

    2. Clear the DTCs and check that no DTCs are output.