INTEGRATION RELAY ON-VEHICLE INSPECTION


  1. INSPECT ENGINE ROOM JUNCTION BLOCK ASSEMBLY (SIGNAL READING CHECK)

    Note

    Both present and history signal readings will be cleared if the engine room junction block assembly is removed. Make sure not to remove it before inspection.

    Tech Tips

    The signal readings of the engine room junction block assembly can be checked by inspecting the voltage at the diagnosis terminal.


    1. Signal reading check


      1. Turn the ignition switch to ON.

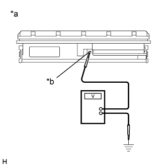
      2. B000MHHE01
        Text in Illustration
        *a

        Component with harness connected

        (Engine Room Junction Block Assembly)

        *b Diagnosis Terminal

        Connect the positive (+) terminal of a voltmeter to the engine room junction block assembly and the negative (-) terminal to the body ground.

      3. Using the illustration below as a reference, determine whether any channels are malfunctioning based on the observed signal reading.

        B000KBYE01

        Tech Tips


        • The present signal reading and history signal reading will be displayed alternately after the ignition switch is turned to ON. By measuring the duration of each header, the present signal reading and history signal reading can be recognized.

        • A unit malfunction indicates an internal malfunction of the engine room junction block assembly. If a malfunction is detected for any channel from channel 0 to 9, an electrical load connected to the engine room junction block assembly may be malfunctioning or there may be a short in the engine room junction block assembly circuit or in the wire harness.

        • The present signal reading will be stored as a history signal reading when electrical loads are operated after a malfunctioning part returns to normal.

        • Both present and history signal readings can be cleared by disconnecting the cable from the negative (-) battery terminal.

        • Depending on the specification, different electrical loads connected to channels 0 to 9 are provided. Refer to the table below:

          Channel Connected Electrical Load
          for 2AR-FE for 2GR-FE
          ch0 Radiator fan motor Magnetic clutch
          ch1 Condenser fan motor -
          ch2 Mirror heater*1
          ch3 -
          ch4 Daytime running lights
          ch5 Rear fog lights*2
          ch6 Front fog lights*3
          ch7 Rear window defogger wire
          ch8 High beam headlight LH
          ch9 High beam headlight RH

        • *1: for TMC, TMMR Made


        • *2: w/ Rear Fog Light


        • *3: w/ Front Fog Light

  2. INSPECT ENGINE ROOM JUNCTION BLOCK ASSEMBLY (RESULTS OF SIGNAL READING CHECK)


    1. Results of signal reading check


      1. Depending on the signal reading, perform troubleshooting according to the table below.

        Output Signal Reading Repair Method
        Normal Continue troubleshooting for each system.
        The unit is malfunctioning. Replace the engine room junction block assembly.
        A malfunction in a channel (ch0 to ch9)
        1. Check for a short in the wire harnesses between the engine room junction block assembly and each electrical load.

        2. Inspect each of the electrical loads.

        3. Replace the engine room junction block assembly.

        Tech Tips

        Make sure to clear the signal readings by disconnecting the cable from the negative (-) battery terminal after replacement or repair of the malfunctioning part.

      2. B000HG4E01
        Text in Illustration
        *a

        Component without engine room junction block assembly

        (Engine Room Junction Block Assembly)

        If no signal readings are output, perform troubleshooting according to the following troubleshooting procedure.


        1. Remove the engine room junction block assembly Click here.

        2. Measure the voltage according to the value(s) in the table below.

          Standard Voltage
          Tester Connection Condition Specified Condition
          1F-15 (IGN) - Body ground Ignition switch ON 11 to 14 V

          If the result is not as specified, repair or replace the wire harness or connector.