CAN COMMUNICATION SYSTEM TERMINALS OF ECU

Note


  • After turning the ignition switch off, waiting time may be required before disconnecting the cable from the negative (-) battery terminal. Therefore, make sure to read the disconnecting the cable from the negative (-) battery terminal notices before proceeding with work Click here.

  • Turn the ignition switch off before measuring the resistances between CAN main bus lines and between CAN branch lines.

  • Turn the ignition switch off before inspecting CAN bus lines for a ground short.

  • Before measuring the resistance of the CAN bus, turn the ignition switch off and leave the vehicle for 1 minute or more without operating the key or any switches, or opening or closing the doors. After that, disconnect the cable from the negative (-) battery terminal and leave the vehicle for 1 minute or more before measuring the resistance.

  • This section describes the standard values for all CAN related components.

Tech Tips


  • Operating the ignition switch, any other switches or a door triggers related ECU and sensor communication on the CAN. This communication will cause the resistance value to change.

  • Even after DTCs are cleared, if a DTC is stored again after driving the vehicle for a while, the malfunction may be occurring due to vibration of the vehicle. In such a case, wiggling the ECUs or wire harness while performing the inspection below may help determine the cause of the malfunction.


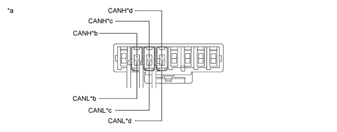
  1. CAN NO. 1 JUNCTION CONNECTOR (for LHD except TMMR Made)


    1. Check the CAN No. 1 junction connector.

      Tech Tips

      Connectors that connect to the CAN junction connector can be distinguished by the color of their CAN bus lines. When the connectors have been disconnected from the CAN junction connector, reconnecting the connectors to non-original positions on the CAN junction connector does not affect system performance. However, it is preferred to reconnect the connectors to their original positions to avoid negative effects on the wiring such as tension on the wire harnesses, and to make future maintenance easier.


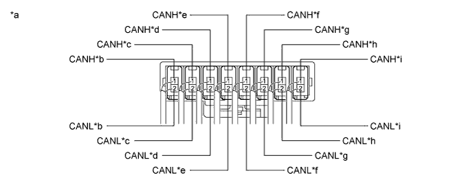
      1. Connection diagram

        B000JSTE11
        Text in Illustration
        *a

        Component with harness connected

        (CAN No. 1 Junction Connector)

        *b

        to AFS ECU*

        (for V Bus)

        *c

        to Main Body ECU (Multiplex Network Body ECU)

        (for V Bus)

        *d

        to Steering Sensor

        (for V Bus)

        *e

        to Airbag Sensor Assembly

        (for V Bus)

        *f

        to DLC3

        (for V Bus)

        *g

        to Power Steering ECU with Motor Assembly

        (for V Bus)

        *h

        to Combination Meter Assembly

        (for V Bus)

        *i

        to CAN No. 2 Junction Connector

        (for V Bus)

        - -

        *: w/ AFS

      2. Check the connection diagram of the components which are connected to the CAN No. 1 junction connector.

        Terminal No. (Symbol) Wiring Color Connected to
        I112-1 (CANH) BE

        AFS ECU*

        (for V bus)

        I112-2 (CANL) W
        I95-1 (CANH) P

        Main body ECU (Multiplex network body ECU)

        (for V bus)

        I95-2 (CANL) W
        I97-1 (CANH) V

        Steering sensor

        (for V bus)

        I97-2 (CANL) W
        I103-1 (CANH) Y

        Airbag sensor assembly

        (for V bus)

        I103-2 (CANL) W
        I96-1 (CANH) L

        DLC3

        (for V bus)

        I96-2 (CANL) W
        I100-1 (CANH) G

        Power steering ECU with motor assembly

        (for V bus)

        I100-2 (CANL) W
        I94-1 (CANH) R

        Combination meter assembly

        (for V bus)

        I94-2 (CANL) W
        I93-1 (CANH) B

        CAN No. 2 junction connector

        (for V bus)

        I93-2 (CANL) W

        *: w/ AFS

  2. CAN NO. 1 JUNCTION CONNECTOR (for LHD TMMR Made)


    1. Check the CAN No. 1 junction connector.


      1. Connection diagram

        B000KUWE03
        Text in Illustration
        *a

        Front view of wire harness connector

        (to CAN No. 1 Junction Connector)

        *b

        to AFS ECU*1

        (for V Bus)

        *c

        to Combination Meter Assembly

        (for V Bus)

        *d

        to Main Body ECU (Multiplex Network Body ECU)

        (for V Bus)

        *e

        to DLC3

        (for V Bus)

        *f

        to Steering Sensor

        (for V Bus)

        *g

        to Airbag Sensor Assembly

        (for V Bus)

        *h

        to Power Steering ECU with Motor Assembly

        (for V Bus)

        *i

        to Inner Rear View Mirror Assembly*2

        (for V Bus)

        *j

        to CAN No. 2 Junction Connector

        (for V Bus)


        • *1: w/ AFS

        • *2: w/ Automatic High Beam System

      2. Check the connection diagram of the components which are connected to the CAN No. 1 junction connector.

        Terminal No. (Symbol) Wiring Color Connected to
        I198-1 (CANH) BE

        AFS ECU*1

        (for V bus)

        I198-11 (CANL) W
        I198-2 (CANH) R

        Combination meter assembly

        (for V bus)

        I198-12 (CANL) W
        I198-3 (CANH) P

        Main body ECU (Multiplex network body ECU)

        (for V bus)

        I198-13 (CANL) W
        I198-4 (CANH) L

        DLC3

        (for V bus)

        I198-14 (CANL) W
        I198-5 (CANH) V

        Steering sensor

        (for V bus)

        I198-15 (CANL) W
        I198-6 (CANH) Y

        Airbag sensor assembly

        (for V bus)

        I198-16 (CANL) W
        I198-7 (CANH) G

        Power steering ECU with motor assembly

        (for V bus)

        I198-17 (CANL) W
        I198-8 (CANH) R

        Inner rear view mirror assembly*2

        (for V bus)

        I198-18 (CANL) W
        I198-10 (CANH) B

        CAN No. 2 junction connector

        (for V bus)

        I198-20 (CANL) W

        • *1: w/ AFS

        • *2: w/ Automatic High Beam System

  3. CAN NO. 1 JUNCTION CONNECTOR (for RHD)


    1. Check the CAN No. 1 junction connector.

      Tech Tips

      Connectors that connect to the CAN junction connector can be distinguished by the color of their CAN bus lines. When the connectors have been disconnected from the CAN junction connector, reconnecting the connectors to non-original positions on the CAN junction connector does not affect system performance. However, it is preferred to reconnect the connectors to their original positions to avoid negative effects on the wiring such as tension on the wire harnesses, and to make future maintenance easier.


      1. Connection diagram

        B000KG4E03
        Text in Illustration
        *a

        Component with harness connected

        (CAN No. 1 Junction Connector)

        *b

        to Main Body ECU (Multiplex Network Body ECU)

        (for V Bus)

        *c

        to Air Conditioning Amplifier Assembly

        (for V Bus)

        *d

        to Airbag Sensor Assembly

        (for V Bus)

        *e

        to Power Steering ECU with Motor Assembly

        (for V Bus)

        *f

        to ECM

        (for V Bus)

        *g

        to Radio and Display Receiver Assembly*

        (for V Bus)

        *h

        to CAN No. 2 Junction Connector

        (for V Bus)

        *: for Radio and Display Type

      2. Check the connection diagram of the components which are connected to the CAN No. 1 junction connector.

        Terminal No. (Symbol) Wiring Color Connected to
        I95-1 (CANH) P

        Main body ECU (Multiplex network body ECU)

        (for V bus)

        I95-2 (CANL) W
        I102-1 (CANH) V

        Air conditioning amplifier assembly

        (for V bus)

        I102-2 (CANL) W
        I103-1 (CANH) Y

        Airbag sensor assembly

        (for V bus)

        I103-2 (CANL) W
        I100-1 (CANH) L

        Power steering ECU with motor assembly

        (for V bus)

        I100-2 (CANL) W
        I104-1 (CANH) G

        ECM

        (for V bus)

        I104-2 (CANL) W
        I107-1 (CANH) R

        Radio and display receiver assembly*

        (for V bus)

        I107-2 (CANL) W
        I93-1 (CANH) B

        CAN No. 2 junction connector

        (for V bus)

        I93-2 (CANL) W

        *: for Radio and Display Type

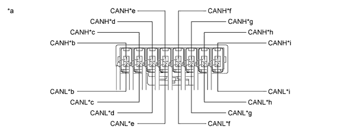
  4. CAN NO. 2 JUNCTION CONNECTOR (for LHD)


    1. Check the CAN No. 2 junction connector.

      Tech Tips

      Connectors that connect to the CAN junction connector can be distinguished by the color of their CAN bus lines. When the connectors have been disconnected from the CAN junction connector, reconnecting the connectors to non-original positions on the CAN junction connector does not affect system performance. However, it is preferred to reconnect the connectors to their original positions to avoid negative effects on the wiring such as tension on the wire harnesses, and to make future maintenance easier.


      1. Connection diagram

        B000JSTE12
        Text in Illustration
        *a

        Component with harness connected

        (CAN No. 2 Junction Connector)

        *b

        to Clearance Warning ECU Assembly*1

        (for V Bus)

        *c

        to ECM

        (for V Bus)

        *d

        to Air Conditioning Amplifier Assembly

        (for V Bus)

        *e

        to Brake Actuator Assembly

        (for V Bus)

        *f

        to Smart Key ECU Assembly (Certification ECU)*2

        (for V Bus)

        *g

        to Network Gateway ECU*3

        (for V Bus)

        *h
        • to Navigation receiver assembly*4

        • to Radio and Display Receiver Assembly*5

        (for V Bus)

        *i

        to CAN No. 1 Junction Connector

        (for V Bus)

        - -

        • *1: w/ Toyota Parking Assist-sensor System

        • *2: w/ Smart Entry and Start System

        • *3: w/ Network Gateway ECU

        • *4: for Navigation Receiver Type

        • *5: for Radio and Display Type

      2. Check the connection diagram of the components which are connected to the CAN No. 2 junction connector.

        Terminal No. (Symbol) Wiring Color Connected to
        I111-1 (CANH) BE

        Clearance warning ECU assembly*1

        (for V bus)

        I111-2 (CANL) W
        I104-1 (CANH) P

        ECM

        (for V bus)

        I104-2 (CANL) W
        I102-1 (CANH) V

        Air conditioning amplifier assembly

        (for V bus)

        I102-2 (CANL) W
        I105-1 (CANH) Y

        Brake actuator assembly

        (for V bus)

        I105-2 (CANL) W
        I106-1 (CANH) L

        Smart key ECU assembly (Certification ECU)*2

        (for V bus)

        I106-2 (CANL) W
        I188-1 (CANH) G

        Network gateway ECU*3

        (for V bus)

        I188-2 (CANL) W
        I107-1 (CANH) R
        • Navigation receiver assembly*4

        • Radio and display receiver assembly*5

        (for V bus)

        I107-2 (CANL) W
        I101-1 (CANH) B

        CAN No. 1 junction connector

        (for V bus)

        I101-2 (CANL) W

        • *1: w/ Toyota Parking Assist-sensor System

        • *2: w/ Smart Entry and Start System

        • *3: w/ Network Gateway ECU

        • *4: for Navigation Receiver Type

        • *5: for Radio and Display Type

  5. CAN NO. 2 JUNCTION CONNECTOR (for RHD)


    1. Check the CAN No. 2 junction connector.

      Tech Tips

      Connectors that connect to the CAN junction connector can be distinguished by the color of their CAN bus lines. When the connectors have been disconnected from the CAN junction connector, reconnecting the connectors to non-original positions on the CAN junction connector does not affect system performance. However, it is preferred to reconnect the connectors to their original positions to avoid negative effects on the wiring such as tension on the wire harnesses, and to make future maintenance easier.


      1. Connection diagram

        B000IGME02
        Text in Illustration
        *a

        Component with harness connected

        (CAN No. 2 Junction Connector)

        *b

        to Clearance Warning ECU Assembly

        (for V Bus)

        *c

        to Steering Sensor

        (for V Bus)

        *d

        to Brake Actuator Assembly

        (for V Bus)

        *e

        to Smart Key ECU Assembly (Certification ECU)

        (for V Bus)

        *f

        DLC3

        (for V Bus)

        *g

        to Combination Meter Assembly

        (for V Bus)

        *h

        to CAN No. 1 Junction Connector

        (for V Bus)

      2. Check the connection diagram of the components which are connected to the CAN No. 2 junction connector.

        Terminal No. (Symbol) Wiring Color Connected to
        I111-1 (CANH) P

        Clearance warning ECU assembly

        (for V bus)

        I111-2 (CANL) W
        I97-1 (CANH) V

        Steering sensor

        (for V bus)

        I97-2 (CANL) W
        I105-1 (CANH) Y

        Brake actuator assembly

        (for V bus)

        I105-2 (CANL) W
        I106-1 (CANH) L

        Smart key ECU assembly (Certification ECU)

        (for V bus)

        I106-2 (CANL) W
        I96-1 (CANH) G

        DLC3

        (for V bus)

        I96-2 (CANL) W
        I94-1 (CANH) R

        Combination meter assembly

        (for V bus)

        I94-2 (CANL) W
        I101-1 (CANH) B

        CAN No. 1 junction connector

        (for V bus)

        I101-2 (CANL) W
  6. CAN NO. 3 JUNCTION CONNECTOR (for LHD TMC Made)


    1. Check the CAN No. 3 junction connector.

      Tech Tips

      Connectors that connect to the CAN junction connector can be distinguished by the color of their CAN bus lines. When the connectors have been disconnected from the CAN junction connector, reconnecting the connectors to non-original positions on the CAN junction connector does not affect system performance. However, it is preferred to reconnect the connectors to their original positions to avoid negative effects on the wiring such as tension on the wire harnesses, and to make future maintenance easier.


      1. Connection diagram

        B000MU3E01
        Text in Illustration
        *a

        Component with harness connected

        (CAN No. 3 Junction Connector)

        *b

        to Multiplex Tilt and Telescopic ECU*

        (for Sub Bus 1)

        *c

        to Main Body ECU (Multiplex Network Body ECU)

        (for Sub Bus 1)

        *d

        to CAN No. 4 Junction Connector

        (for Sub Bus 1)


        • *: w/ Power Tilt and Power Telescopic Steering Column System

      2. Check the connection diagram of the components which are connected to the CAN No. 3 junction connector.

        Terminal No. (Symbol) Wiring Color Connected to
        I115-1 (CANH) B

        Multiplex tilt and telescopic ECU*

        (for Sub bus 1)

        I115-2 (CANL) GR
        I114-1 (CANH) R

        Main body ECU (Multiplex network body ECU)

        (for Sub bus 1)

        I114-2 (CANL) GR
        I117-1 (CANH) Y

        CAN No. 4 junction connector

        (for Sub bus 1)

        I117-2 (CANL) GR

        • *: w/ Power Tilt and Power Telescopic Steering Column System

  7. CAN NO. 3 JUNCTION CONNECTOR (for LHD TMMR Made)


    1. Check the CAN No. 3 junction connector.

      Tech Tips

      Connectors that connect to the CAN junction connector can be distinguished by the color of their CAN bus lines. When the connectors have been disconnected from the CAN junction connector, reconnecting the connectors to non-original positions on the CAN junction connector does not affect system performance. However, it is preferred to reconnect the connectors to their original positions to avoid negative effects on the wiring such as tension on the wire harnesses, and to make future maintenance easier.


      1. Connection diagram

        B000HDGE01
        Text in Illustration
        *a

        Component with harness connected

        (CAN No. 3 Junction Connector)

        *b

        to Main Body ECU (Multiplex Network Body ECU)

        (for Sub Bus 1)

        *c

        to Multiplex Tilt and Telescopic ECU*1

        (for Sub Bus 1)

        *d

        to CAN No. 4 Junction Connector

        (for Sub Bus 1)

        *e

        to Outer Mirror Control ECU Assembly (for Driver Side)*2

        (for Sub Bus 1)

        *f

        to Position Control ECU and Switch Assembly (for Driver Side)*2

        (for Sub Bus 1)


        • *1: w/ Power Tilt and Power Telescopic Steering Column System

        • *2: w/ Seat Position Memory System

      2. Check the connection diagram of the components which are connected to the CAN No. 3 junction connector.

        Terminal No. (Symbol) Wiring Color Connected to
        I114-1 (CANH) R

        Main body ECU (Multiplex network body ECU)

        (for Sub bus 1)

        I114-2 (CANL) GR
        I115-1 (CANH) B

        Multiplex tilt and telescopic ECU*1

        (for Sub bus 1)

        I115-2 (CANL) GR
        I117-1 (CANH) Y

        CAN No. 4 junction connector

        (for Sub bus 1)

        I117-2 (CANL) GR
        I199-1 (CANH) G

        Outer mirror control ECU assembly (for Driver side)*2

        (for Sub bus 1)

        I199-2 (CANL) GR
        I201-1 (CANH) L

        Position control ECU and switch assembly (for Driver side)*2

        (for Sub bus 1)

        I201-2 (CANL) GR

        • *1: w/ Power Tilt and Power Telescopic Steering Column System

        • *2: w/ Seat Position Memory System

  8. CAN NO. 4 JUNCTION CONNECTOR (for LHD)


    1. Check the CAN No. 4 junction connector.

      Tech Tips

      Connectors that connect to the CAN junction connector can be distinguished by the color of their CAN bus lines. When the connectors have been disconnected from the CAN junction connector, reconnecting the connectors to non-original positions on the CAN junction connector does not affect system performance. However, it is preferred to reconnect the connectors to their original positions to avoid negative effects on the wiring such as tension on the wire harnesses, and to make future maintenance easier.


      1. Connection diagram

        B000HZSE01
        Text in Illustration
        *a

        Component with harness connected

        (CAN No. 4 Junction Connector)

        *b

        to Outer Mirror Control ECU Assembly (for Front Passenger Side)*

        (for Sub Bus 1)

        *c

        to CAN No. 5 Junction Connector

        (for Sub Bus 1)

        *d

        to CAN No. 3 Junction Connector

        (for Sub Bus 1)


        • *: w/ Seat Position Memory System

      2. Check the connection diagram of the components which are connected to the CAN No. 4 junction connector.

        Terminal No. (Symbol) Wiring Color Connected to
        I200-1 (CANH) P

        Outer mirror control ECU assembly (for Front passenger side)*

        (for Sub bus 1)

        I200-2 (CANL) GR
        I121-1 (CANH) V

        CAN No. 5 junction connector

        (for Sub bus 1)

        I121-2 (CANL) GR
        I120-1 (CANH) Y

        CAN No. 3 junction connector

        (for Sub bus 1)

        I120-2 (CANL) GR

        • *: w/ Seat Position Memory System

  9. CAN NO. 5 JUNCTION CONNECTOR (for LHD)


    1. Check the CAN No. 5 junction connector.


      1. B000H3TE18
        Text in Illustration
        *a

        Rear view of wire harness connector

        (to CAN No. 5 Junction Connector)

        *b

        to CAN No. 4 Junction Connector

        (for Sub Bus 1)

        Connection diagram

      2. Check the connection diagram of the components which are connected to the CAN No. 5 junction connector.

        Terminal No. (Symbol) Wiring Color Connected to
        I123-3 (CANH) V

        CAN No. 4 junction connector

        (for Sub bus 1)

        I123-2 (CANL) GR
  10. CAN NO. 6 JUNCTION CONNECTOR (for LHD)


    1. Check the CAN No. 6 junction connector.

      Tech Tips

      Connectors that connect to the CAN junction connector can be distinguished by the color of their CAN bus lines. When the connectors have been disconnected from the CAN junction connector, reconnecting the connectors to non-original positions on the CAN junction connector does not affect system performance. However, it is preferred to reconnect the connectors to their original positions to avoid negative effects on the wiring such as tension on the wire harnesses, and to make future maintenance easier.


      1. Connection diagram

        B000KEZE03
        Text in Illustration
        *1 CAN No. 6 Junction Connector - -
        *a Junction Connector A Side *b Junction Connector B Side
        *c Earth Terminal *d

        Front view of wire harness connector

        (to CAN No. 6 Junction Connector)

      2. Check the connection diagram of the components which are connected to the CAN No. 6 junction connector.

        Junction Connector B Side
        Terminal No. (Symbol) Wiring Color Connected to
        I190-1 (CANH) V

        CAN No. 7 junction connector

        (for Sub bus 2)

        I190-2 (CANL) LG
        I189-1 (CANH) B

        Network gateway ECU*

        (for Sub bus 2)

        I189-2 (CANL) LG

        • *: w/ Network Gateway ECU

  11. CAN NO. 7 JUNCTION CONNECTOR (for LHD)


    1. Check the CAN No. 7 junction connector.


      1. B000JZYE60
        Text in Illustration
        *a

        Front view of wire harness connector

        (to CAN No. 7 Junction Connector)

        *b

        to CAN No. 8 Junction Connector

        (for Sub Bus 2)

        *c

        to Blind Spot Monitor Sensor RH*

        (for Sub Bus 2)

        *d

        to CAN No. 6 Junction Connector

        (for Sub Bus 2)

        Connection diagram


        • *: w/ Blind Spot Monitor Sensor

      2. Check the connection diagram of the components which are connected to the CAN No. 7 junction connector.

        Terminal No. (Symbol) Wiring Color Connected to
        O44-8 (CANH) G

        CAN No. 8 junction connector

        (for Sub bus 2)

        O44-19 (CANL) B
        O44-9 (CANH) R

        Blind spot monitor sensor RH*

        (for Sub bus 2)

        O44-20 (CANL) B
        O44-11 (CANH) V

        CAN No. 6 junction connector

        (for Sub bus 2)

        O44-22 (CANL) B

        • *: w/ Blind Spot Monitor Sensor

  12. CAN NO. 8 JUNCTION CONNECTOR (for LHD)


    1. Check the CAN No. 8 junction connector.


      1. B000JZYE67
        Text in Illustration
        *a

        Front view of wire harness connector

        (to CAN No. 8 Junction Connector)

        *b

        to CAN No. 9 Junction Connector

        (for Sub Bus 2)

        *c

        to Rear Television Camera Assembly*

        (for Sub Bus 2)

        *d

        to CAN No. 7 Junction Connector

        (for Sub Bus 2)

        Connection diagram


        • *: for Radio and Display Type (w/ Parking Assist Monitor System without Parallel Parking Assist Function)

      2. Check the connection diagram of the components which are connected to the CAN No. 8 junction connector.

        Terminal No. (Symbol) Wiring Color Connected to
        T21-1 (CANH) L

        CAN No. 9 junction connector

        (for Sub bus 2)

        T21-12 (CANL) B
        T21-2 (CANH) V

        Rear television camera assembly*

        (for Sub bus 2)

        T21-13 (CANL) P
        T21-3 (CANH) G

        CAN No. 7 junction connector

        (for Sub bus 2)

        T21-14 (CANL) B

        • *: for Radio and Display Type (w/ Parking Assist Monitor System without Parallel Parking Assist Function)

  13. CAN NO. 9 JUNCTION CONNECTOR (for LHD)


    1. Check the CAN No. 9 junction connector.


      1. B000H3TE61
        Text in Illustration
        *a

        Rear view of wire harness connector

        (to CAN No. 9 Junction Connector)

        *b

        to CAN No. 8 Junction Connector

        (for Sub Bus 2)

        Connection diagram

      2. Check the connection diagram of the components which are connected to the CAN No. 9 junction connector.

        Terminal No. (Symbol) Wiring Color Connected to
        T22-3 (CANH) L

        CAN No. 8 junction connector

        (for Sub bus 2)

        T22-2 (CANL) B
  14. DLC3


    1. Disconnect the cable from the negative (-) battery terminal.

    2. Measure the resistance according to the value(s) in the table below.

      B000NOXE32
      Text in Illustration
      *1 DLC3 - -

      *1: for LHD

      *2: for RHD

    3. ECM (for 2GR-FE)

      B000HECE55
    4. Text in Illustration
      *a

      Component without harness connected

      (ECM)

      - -

      1. Disconnect the cable from the negative (-) battery terminal.

      2. Disconnect the A25 and E26 ECM connectors.

        B000K3WE15
        Text in Illustration
        *a

        Front view of wire harness connector

        (to ECM)

        - -
      3. Measure the resistance according to the value(s) in the table below.

      4. ECM (for 2AR-FE)

        B000HECE63
      5. Text in Illustration
        *a

        Component without harness connected

        (ECM)

        - -

    1. Disconnect the cable from the negative (-) battery terminal.

    2. Disconnect the A25 and E26 ECM connectors.

      B000K3WE18
      Text in Illustration
      *a

      Front view of wire harness connector

      (to ECM)

      - -
    3. Measure the resistance according to the value(s) in the table below.

    4. ECM (for 6AR-FSE)

      B000HECE62
    5. Text in Illustration
      *a

      Component without harness connected

      (ECM)

      - -

  1. Disconnect the cable from the negative (-) battery terminal.

  2. Disconnect the A84 and E96 ECM connectors.

    B000KI9E01
    Text in Illustration
    *a

    Front view of wire harness connector

    (to ECM)

    - -
  3. Measure the resistance according to the value(s) in the table below.

  4. COMBINATION METER ASSEMBLY

    B000KMHE10
  5. Text in Illustration
    *a

    Component without harness connected

    (Combination Meter Assembly)

    - -

  1. Disconnect the cable from the negative (-) battery terminal.

  2. B000I88E33
    Text in Illustration
    *a

    Front view of wire harness connector

    (to Combination Meter Assembly)

    Disconnect the I18 combination meter assembly connector.

  3. Measure the resistance according to the value(s) in the table below.

  4. INSTRUMENT PANEL JUNCTION BLOCK ASSEMBLY AND MAIN BODY ECU (MULTIPLEX NETWORK BODY ECU)

    B000JLDE61
  5. Text in Illustration
    *A for LHD *B for RHD
    *a

    Component without harness connected

    (Instrument Panel Junction Block Assembly and Main Body ECU (Multiplex Network Body ECU))

    - -

    1. Disconnect the cable from the negative (-) battery terminal.

    2. Disconnect the I12 and I13 main body ECU (multiplex network body ECU) connectors.

      B000J1UE19
      Text in Illustration
      *1 DLC3 - -
      *a

      Front view of wire harness connector

      (to Main Body ECU (Multiplex Network Body ECU))

      - -
    3. Measure the resistance according to the value(s) in the table below.

    4. BRAKE ACTUATOR ASSEMBLY

      B000IGGE06
    5. Text in Illustration
      *a

      Component without harness connected

      (Brake Actuator Assembly)

      - -

      1. Disconnect the cable from the negative (-) battery terminal.

      2. B000L6NE52
        Text in Illustration
        *a

        Front view of wire harness connector

        (to Brake Actuator Assembly)

        Disconnect the A49 brake actuator assembly connector.

      3. Measure the resistance according to the value(s) in the table below.

      4. STEERING SENSOR


        1. Disconnect the cable from the negative (-) battery terminal.

        2. B000MOME53
      5. Text in Illustration
        *a

        Front view of wire harness connector

        (to Steering Sensor)

        Disconnect the I29 steering sensor connector.

      6. Measure the resistance according to the value(s) in the table below.

      7. POWER STEERING ECU WITH MOTOR ASSEMBLY

        B000M57E09
      8. Text in Illustration
        *a

        Component without harness connected

        (Power Steering ECU with Motor Assembly)

        - -

        1. Disconnect the cable from the negative (-) battery terminal.

        2. Disconnect the j1 and j2 power steering ECU with motor assembly connectors.

          B000H93E15
          Text in Illustration
          *a

          Front view of wire harness connector

          (to Power Steering ECU with Motor Assembly)

          - -
        3. Measure the resistance according to the value(s) in the table below.

        4. AIRBAG SENSOR ASSEMBLY


          1. Disconnect the cable from the negative (-) battery terminal.

          2. Disconnect the I47 airbag sensor assembly connector.

            B000IEBE40
        5. Text in Illustration
          *1 DLC3 - -
          *a

          Front view of wire harness connector

          (to Airbag Sensor Assembly)

          - -
        6. Measure the resistance according to the value(s) in the table below.

        7. SMART KEY ECU ASSEMBLY (CERTIFICATION ECU) (w/ Smart Entry and Start System)

          B000KS3E81
        8. Text in Illustration
          *a

          Component without harness connected

          (Smart Key ECU Assembly (Certification ECU))

          - -

          1. Disconnect the cable from the negative (-) battery terminal.

          2. Disconnect the A43 and I78 smart key ECU assembly (certification ECU) connectors.

            B000JQQE09
            Text in Illustration
            *a

            Rear view of wire harness connector

            (to Smart Key ECU Assembly (Certification ECU))

            - -
          3. Measure the resistance according to the value(s) in the table below.

          4. RADIO AND DISPLAY RECEIVER ASSEMBLY (for Radio and Display Type)

            B000MRUE05
          5. Text in Illustration
            *a

            Component without harness connected

            (Radio and Display Receiver Assembly)

            - -

            1. Disconnect the cable from the negative (-) battery terminal.

            2. Disconnect the I152 and I155 radio and display receiver assembly connectors.

              B000IGTE52
              Text in Illustration
              *a

              Front view of wire harness connector

              (to Radio and Display Receiver Assembly)

              - -
            3. Measure the resistance according to the value(s) in the table below.

            4. RADIO AND DISPLAY RECEIVER ASSEMBLY (w/ Parking Assist Monitor System without Parallel Parking Assist Function))

              B000IMOE03
            5. Text in Illustration
              *a

              Component without harness connected

              (Radio and Display Receiver Assembly)

              - -

              1. Disconnect the cable from the negative (-) battery terminal.

              2. Disconnect the I152 and I155 radio and display receiver assembly connectors.

                B000IGTE52
                Text in Illustration
                *a

                Front view of wire harness connector

                (to Radio and Display Receiver Assembly)

                - -
              3. Measure the resistance according to the value(s) in the table below.

              4. NAVIGATION RECEIVER ASSEMBLY (for Navigation Receiver Type)

                B000MZVE11
              5. Text in Illustration
                *a

                Component without harness connected

                (Navigation receiver assembly)

                - -

                1. Disconnect the cable from the negative (-) battery terminal.

                2. Disconnect the I64 and I67 navigation receiver assembly connectors.

                  B000IGTE53
                  Text in Illustration
                  *a

                  Front view of wire harness connector

                  (to Navigation Receiver Assembly)

                  - -
                3. Measure the resistance according to the value(s) in the table below.

                4. AIR CONDITIONING AMPLIFIER ASSEMBLY

                  B000LELE22
                5. Text in Illustration
                  *a

                  Component without harness connected

                  (Air Conditioning Amplifier Assembly)

                  - -

                  1. Disconnect the cable from the negative (-) battery terminal.

                  2. Disconnect the I77 air conditioning amplifier assembly connector.

                    B000JLXE51
                    Text in Illustration
                    *a

                    Front view of wire harness connector

                    (to Air Conditioning Amplifier Assembly)

                    - -
                  3. Measure the resistance according to the value(s) in the table below.

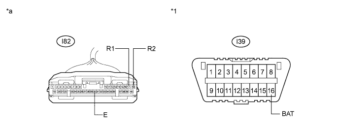
                  4. CLEARANCE WARNING ECU ASSEMBLY (w/ Toyota Parking Assist-sensor System)


                    1. Disconnect the cable from the negative (-) battery terminal.

                    2. Disconnect the I82 clearance warning ECU assembly connector.

                      B000KKIE15
                  5. Text in Illustration
                    *1 DLC3 - -
                    *a

                    Front view of wire harness connector

                    (to Clearance Warning ECU Assembly)

                    - -
                  6. Measure the resistance according to the value(s) in the table below.

                    *1: for LHD

                    *2: for RHD

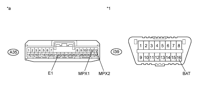
                  7. AFS ECU (w/ AFS)

                    B000MWAE08
                  8. Text in Illustration
                    *a

                    Component without harness connected

                    (AFS ECU)

                    - -

                    1. Disconnect the cable from the negative (-) battery terminal.

                    2. Disconnect the A35 AFS ECU connector.

                      B000H6ME21
                      Text in Illustration
                      *1 DLC3 - -
                      *a

                      Front view of wire harness connector

                      (to AFS ECU)

                      - -
                    3. Measure the resistance according to the value(s) in the table below.

                    4. MULTIPLEX TILT AND TELESCOPIC ECU (w/ Power Tilt and Power Telescopic Steering Column System)

                      B000M3AE14
                    5. Text in Illustration
                      *a

                      Component without harness connected

                      (Multiplex Tilt and Telescopic ECU)

                      - -

                      1. Disconnect the cable from the negative (-) battery terminal.

                      2. Disconnect the I15 multiplex tilt and telescopic ECU connector.

                        B000ILLE07
                        Text in Illustration
                        *a

                        Front view of wire harness connector

                        (to Multiplex Tilt and Telescopic ECU)

                        - -
                      3. Measure the resistance according to the value(s) in the table below.

                      4. INNER REAR VIEW MIRROR ASSEMBLY (w/ Automatic High Beam System)

                        B000JIOE01
                      5. Text in Illustration
                        *a

                        Component without harness connected

                        (Inner Rear View Mirror Assembly)

                        - -

                        1. Disconnect the cable from the negative (-) battery terminal.

                        2. Disconnect the S2 inner rear view mirror assembly connector.

                          B000NMRE01
                          Text in Illustration
                          *1 DLC3 - -
                          *a

                          Front view of wire harness connector

                          (to Inner Rear View Mirror Assembly)

                          - -
                        3. Measure the resistance according to the value(s) in the table below.

                        4. NETWORK GATEWAY ECU (w/ Network Gateway ECU)

                          B000HGHE08
                        5. Text in Illustration
                          *a

                          Component without harness connected

                          (Network Gateway ECU)

                          - -

                          1. Disconnect the cable from the negative (-) battery terminal.

                          2. B000MAOE66
                            Text in Illustration
                            *a

                            Front view of wire harness connector

                            (to Network Gateway ECU)

                            Disconnect the I187 network gateway ECU connector.

                          3. Measure the resistance according to the value(s) in the table below.

                          4. REAR TELEVISION CAMERA ASSEMBLY (for Radio and Display Type (w/ Parking Assist Monitor System without Parallel Parking Assist Function))

                            B000HL9E05
                          5. Text in Illustration
                            *a

                            Component without harness connected

                            (Rear Television Camera Assembly)

                            - -

                            1. Disconnect the cable from the negative (-) battery terminal.

                            2. Disconnect the T20 rear television camera assembly connector.

                              B000HMSE05
                              Text in Illustration
                              *1 DLC3 - -
                              *a

                              Front view of wire harness connector

                              (to Rear Television Camera Assembly)

                              - -
                            3. Measure the resistance according to the value(s) in the table below.

                            4. OUTER MIRROR CONTROL ECU ASSEMBLY (for Driver Side) (w/ Seat Position Memory System)

                              B000HN0E05
                            5. Text in Illustration
                              *a

                              Component without harness connected

                              (Outer Mirror Control ECU Assembly (for Driver Side))

                              - -

                              1. Disconnect the cable from the negative (-) battery terminal.

                              2. B000L6UE50
                                Text in Illustration
                                *a

                                Front view of wire harness connector

                                (to Outer Mirror Control ECU Assembly (for Driver Side))

                                Disconnect the K12 outer mirror control ECU assembly (for driver side) connector.

                              3. Measure the resistance according to the value(s) in the table below.

                              4. OUTER MIRROR CONTROL ECU ASSEMBLY (for Front Passenger Side) (w/ Seat Position Memory System)

                                B000HN0E06
                              5. Text in Illustration
                                *a

                                Component without harness connected

                                (Outer Mirror Control ECU Assembly (for Front Passenger Side))

                                - -

                                1. Disconnect the cable from the negative (-) battery terminal.

                                2. B000L6UE51
                                  Text in Illustration
                                  *a

                                  Front view of wire harness connector

                                  (to Outer Mirror Control ECU Assembly (for Front Passenger Side))

                                  Disconnect the J10 outer mirror control ECU assembly (for front passenger side) connector.

                                3. Measure the resistance according to the value(s) in the table below.

                                4. POSITION CONTROL ECU AND SWITCH ASSEMBLY (for Driver Side) (w/ Seat Position Memory System)

                                  B000N15E54
                                5. Text in Illustration
                                  *a

                                  Component without harness connected

                                  (Position Control ECU and Switch Assembly (for Driver Side))

                                  - -

                                  1. Disconnect the cable from the negative (-) battery terminal.

                                  2. Disconnect the e11 and e12 position control ECU and switch assembly (for driver side) connectors.

                                    B000LI7E34
                                    Text in Illustration
                                    *a

                                    Front view of wire harness connector

                                    (to Position Control ECU and Switch Assembly (for Driver Side))

                                    - -
                                  3. Measure the resistance according to the value(s) in the table below.

                                  4. BLIND SPOT MONITOR SENSOR RH (w/ Blind Spot Monitor System)

                                    B000H5WE34
                                  5. Text in Illustration
                                    *a

                                    Component without harness connected

                                    (Blind Spot Monitor Sensor RH)

                                    - -

                                    1. Disconnect the cable from the negative (-) battery terminal.

                                    2. Disconnect the O43 blind spot monitor sensor RH connector.

                                      B000NJEE10
                                      Text in Illustration
                                      *1 DLC3 - -
                                      *a

                                      Front view of wire harness connector

                                      (to Blind Spot Monitor Sensor RH)

                                      - -
                                    3. Measure the resistance according to the value(s) in the table below.