CHARGING SYSTEM ON-VEHICLE INSPECTION


  1. CHECK BATTERY CONDITION

    Note

    If the battery is weak or if the engine is difficult to start, perform the following procedure.


    1. Check the battery for damage and deformation. If severe damage, deformation or leakage is found, replace the battery.

    2. Check the electrolyte quantity of each cell.


      1. B000HV4

        For maintenance-free batteries:


        • If the electrolyte quantity is below the lower line, replace the battery.

        • If the electrolyte quantity is above the lower line, check the battery voltage when cranking the engine. If the voltage is less than 9.6 V, recharge or replace the battery.

          Tech Tips

          Before checking the battery voltage, turn off all the electrical systems (headlights, blower motor, rear defogger, etc.).

      2. B000JP6

        For non-maintenance-free batteries:


        • If the electrolyte quantity is below the lower line, add distilled water to each cell. Then, recharge the battery and check the electrolyte specific gravity.

        Standard specific gravity
        1.25 to 1.29 at 20°C (68°F)

        If the electrolyte quantity is above the lower line, check the battery voltage when cranking the engine. If the voltage is less than 9.6 V, recharge or replace the battery.

        Tech Tips

        Before checking the battery voltage, turn off all the electrical systems (headlights, blower motor, rear defogger, etc.).

    3. Check the voltage.


      1. Turn the engine switch off and turn on the headlights for 20 to 30 seconds. This will remove the surface charge from the battery.

      2. Measure the battery voltage according to the value(s) in the table below.

        Standard Voltage
        Tester Connection Condition Specified Condition
        Positive (+) terminal - Negative (-) terminal 20°C (68°F) 12.5 to 12.9 V

        Tech Tips

        If the voltage is not as specified, charge the battery.

  2. INSPECT BATTERY TERMINAL


    1. Check that the battery terminals are not loose or corroded.

      If the terminals are corroded, clean them.

  3. INSPECT FUSES


    1. Measure the resistance of each fuse for the charging system.

      Tech Tips

      The fuses shown in System Diagram are related to the charging system.

      Standard Resistance
      Below 1 Ω

      • If any of the results is not as specified, replace the fuse(s) as necessary.

  4. INSPECT V-RIBBED BELT


    1. B000KV1E08
      Text in Illustration
      *a INCORRECT

      Check the belt for wear, cracks or other signs of damage.

      If any of the following defects is found, replace the V-ribbed belt.


      • The belt is cracked.

      • The belt is worn out to the extent that the cords are exposed.

      • The belt has chunks missing from the ribs.

    2. B000L0QE18
      Text in Illustration
      *a CORRECT
      *b INCORRECT

      Check that the belt fits properly in the ribbed grooves.

      Tech Tips

      Check with your hand to confirm that the belt has not slipped out of the grooves on the bottom of the pulley. If it has slipped out, replace the V-ribbed. Install a new V-ribbed correctly.

  5. INSPECT GENERATOR WIRING


    1. Visually check the generator wiring.


      1. Check that the wiring is in good condition.

  6. CHECK FOR ABNORMAL NOISES


    1. Check for abnormal noises from the generator.


      1. Check that no abnormal noises are heard from the generator while the engine is running.

  7. INSPECT CHARGE WARNING LIGHT CIRCUIT


    1. Turn the engine switch on (IG). Check that the charge warning light comes on.

    2. Start the engine and check that the light goes off.

      If the light does not operate as specified, troubleshoot the charge warning light circuit.

  8. INSPECT CHARGING CIRCUIT WITHOUT LOAD


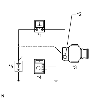
    1. B000JVNE03
      Text in Illustration
      *1 Ammeter
      *2 Terminal B
      *3 Generator
      *4 Voltmeter
      *5 Battery

      Connect a voltmeter and an ammeter to the charging circuit as follows.


      1. Disconnect the wire from terminal B of the generator and connect it to the negative (-) lead of the ammeter.

      2. Connect the ammeter positive (+) lead to terminal B of the generator.

      3. Connect the voltmeter positive (+) lead to the positive (+) terminal of the battery.

      4. Ground the voltmeter negative (-) lead.

    2. Check the charging circuit.


      1. Keep the engine speed at 2000 rpm and check the readings on the ammeter and voltmeter.

        Standard Current
        10 A or less
        Standard Voltage
        13.2 to 14.8 V

        If the result is not as specified, replace the generator.

        Tech Tips

        If the battery is not fully charged, the ammeter reading will sometimes be more than the standard current.

  9. INSPECT CHARGING CIRCUIT WITH LOAD


    1. With the engine running at 2000 rpm, turn the high beam headlights on and turn the heater blower switch to the "HI" position.

    2. Check the reading on the ammeter.

      Standard current
      30 A or more

      If the ammeter reading is less than the standard current, repair the generator.

      Tech Tips

      If the battery is fully charged, the indication will sometimes be less than the standard current. If this is the case, add more electrical load (operate the wipers, rear window defogger, etc.) and check the reading on the ammeter again.