PARKING BRAKE PEDAL (for LHD) INSTALLATION


  1. INSTALL PARKING BRAKE CONTROL PEDAL ASSEMBLY


    1. B000HW0E01

      Install the parking brake control pedal assembly with the bolt and 2 nuts.

      Torque:
      15 N*m  { 153 kgf*cm, 11 ft.*lbf }

      Note

      Tighten the bolt and 2 nuts in the order shown in the illustration.

    2. Connect the parking brake switch connector.

    3. B000HYT

      Install the No. 1 parking brake cable assembly with the bolt and 2 nuts.

      Torque:
      Bolt
      15 N*m  { 153 kgf*cm, 11 ft.*lbf }
      Nut
      5.4 N*m  { 55 kgf*cm, 48 in.*lbf }
    4. Install the clip to the No. 1 parking brake cable assembly.

    5. Install the floor carpet.

    6. for TMC, TMMR Made:


      1. B000MW8E01
        Text in Illustration
        *1 Lock Nut
        *2 Adjusting Nut

        Temporarily install the lock nut.

        Tech Tips

        After adjusting parking brake pedal travel, tighten the lock nut.

  2. CONNECT NO. 4 PARKING BRAKE CABLE ASSEMBLY


    1. B000NN1E02
      Text in Illustration
      *a Turn
      *b Hold

      for TMC, TMMR Made:


      1. Connect the No. 4 parking brake cable assembly to the parking brake control pedal assembly as shown in the illustration.

        Torque:
        5.4 N*m  { 55 kgf*cm, 48 in.*lbf }
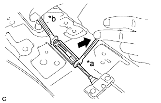
    2. B000IPBE02
      Text in Illustration
      *a Turn
      *b Hold

      for TMMK Made:


      1. Connect the No. 4 parking brake cable assembly to the parking brake control pedal assembly as shown in the illustration.

        Torque:
        5.4 N*m  { 55 kgf*cm, 48 in.*lbf }
  3. INSTALL AIRBAG SENSOR ASSEMBLY


  4. INSTALL FLOOR CARPET BRACKET RH


  5. INSTALL NO. 1 INDOOR ELECTRICAL KEY ANTENNA ASSEMBLY (w/ Smart Entry and Start System)


    1. Connect the connector.

    2. Install the No. 1 indoor electrical key antenna assembly with the bolt.

      Note

      Be careful when installing the No. 1 indoor electrical key antenna assembly. If the antenna is dropped, replace it with a new one.

    3. Engage the clamp.

  6. INSTALL LOWER NO. 1 INSTRUMENT PANEL AIRBAG ASSEMBLY (w/ Driver Side Knee Airbag)


  7. INSTALL SHIFT LEVER SUPPORT


  8. CONNECT CABLE TO NEGATIVE BATTERY TERMINAL

    Note

    When disconnecting the cable, some systems need to be initialized after the cable is reconnected Click here.

  9. PERFORM DIAGNOSTIC SYSTEM CHECK


  10. INSPECT SRS WARNING LIGHT


  11. ADJUST PARKING BRAKE PEDAL TRAVEL


    1. Completely release the parking brake pedal.

    2. for TMC, TMMR Made:


      1. B000MGME01
        Text in Illustration
        *1 Lock Nut
        *2 Adjusting Nut

        Loosen the lock nut and the adjusting nut to completely release the parking brake cable.

    3. for TMMK Made:


      1. B000MGME01
        Text in Illustration
        *1 Lock Nut
        *2 Adjusting Nut

        Remove the lock nut and loosen the adjusting nut to completely release the parking brake cable.

        Note

        If the lock nut is removed or loosened, replace the lock nut with a new one.

    4. Remove the rear wheels.

    5. Temporarily install the hub nuts to the hub bolts.

      Tech Tips

      Securely install the hub nuts to the rear disc.

    6. Remove the parking brake shoe adjusting hole plug.

    7. B000JSL

      Turn the shoe adjuster and expand the shoes until the disc locks.

      Text in Illustration
      B000K70 Expand
      B000IB9 Contract
    8. Turn and contract the shoe adjuster until the disc can rotate smoothly.

      Standard
      Returns 8 notches.
    9. Check that there is no brake drag against the shoes.

    10. Install the parking brake shoe adjusting hole plug.

    11. Turn the adjusting nut until the parking brake pedal travel is corrected to be within the specified range.

      Parking brake pedal travel
      7 to 10 notches at 300 N (31 kgf, 67.5 lbf)
    12. for TMC, TMMR Made:


      1. Using a wrench or an equivalent tool, hold the adjusting nut and tighten the lock nut.

        Torque:
        9.0 N*m  { 92 kgf*cm, 80 in.*lbf }
    13. for TMMK Made:


      1. Using a wrench or an equivalent tool, hold the adjusting nut and install a new lock nut.

        Torque:
        5.0 N*m  { 51 kgf*cm, 44 in.*lbf }
    14. Operate the parking brake pedal 3 to 4 times, and check the parking brake pedal travel.

    15. Check that the parking brake does not drag.

    16. Remove the hub nuts from the hub bolts.

    17. Install the rear wheels.

      Torque:
      103 N*m  { 1049 kgf*cm, 76 ft.*lbf }
  12. INSPECT BRAKE WARNING LIGHT


    1. When operating the parking brake pedal, check that the brake warning light illuminates.

      Standard
      The brake warning light always illuminates at the first click.