ROOF HEADLINING(for Sedan) REASSEMBLY

PROCEDURE


  1. INSTALL HEADLINING LIGHT CASE (for Center)


    1. A01LZ1SC01
      *a Marking
      *b Front

      Align the headlining light case with the marking on the roof headlining assembly and install the case using hot-melt glue as shown in the illustration.

  2. INSTALL HEADLINING LIGHT CASE (for Side)


    1. A01LZICC01
      *a Marking
      *b Front

      Align the 2 headlining light cases with the markings on the roof headlining assembly and install the cases using hot-melt glue as shown in the illustration.

  3. INSTALL NO. 1 ROOF WIRE


    1. Pass the No. 1 roof wire through the front tab of the roof headlining assembly.

      A01LX18C01
      *A w/ EC Mirror, w/ Rain Sensor - -
      *a Marking *b Front Tab
      A01LZGV Positioning Tape (A) A01LWAG Positioning Tape (B)
      A01M1XR Adhesive Tape - -
    2. Align the positioning tape (A) on the front part of the No. 1 roof wire with the front tab of the roof headlining assembly.

    3. Align the positioning tape (B) on the No. 1 roof wire with the markings of the roof headlining assembly.

    4. Install the No. 1 roof wire onto the roof headlining assembly with adhesive tape.

      Note


      • Apply the tape securely in place.

      • Do not touch the adhesive surface when applying the tape to prevent adhesion failure.

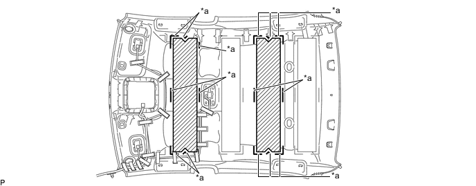
  4. INSTALL NO. 2 ROOF SILENCER PAD


    1. Align the 2 No. 2 roof silencer pads with the markings on the roof headlining assembly and install the pads using hot-melt glue as shown in the illustration.

      A01LV5GC01
      *a Marking - -
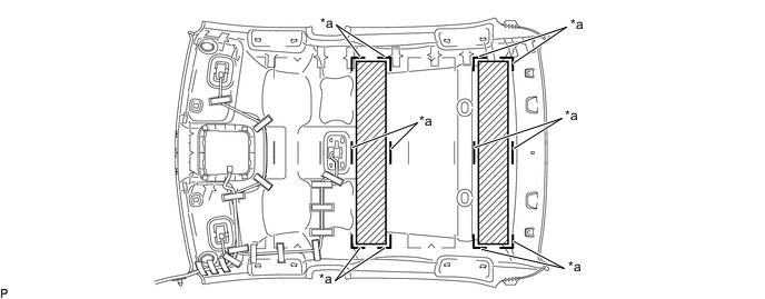
  5. INSTALL NO. 1 ROOF SILENCER PAD


    1. Align the 2 No. 1 roof silencer pads with the markings on the roof headlining assembly and install the pads using hot-melt glue as shown in the illustration.

      A01M1YMC01
      *a Marking - -
  6. INSTALL FRONT ROOF SILENCER PAD


    1. A01LW6ZC01
      *a Marking

      Align the front roof silencer pad with the markings on the roof headlining assembly and install the pad using hot-melt glue as shown in the illustration.

  7. INSTALL NO. 6 ROOF SILENCER PAD (except Standard)


    1. Remove the release paper from 2 new No. 6 roof silencer pads.

      Tech Tips

      After removing the release paper, keep the exposed adhesive free from foreign matter.

    2. Install the 2 No. 6 roof silencer pads as shown in the illustration.

      A01M26LC01
      *1 Headlining Light Case - -
  8. INSTALL ROOF SILENCER PAD (except Standard)


    1. Remove the release paper from 2 new roof silencer pads.

      Tech Tips

      After removing the release paper, keep the exposed adhesive free from foreign matter.

    2. A01M1DZC01
      *a Marking

      Align the 2 roof silencer pads with the markings on the roof headlining assembly and install the pads as shown in the illustration.

  9. INSTALL NO. 4 ROOF SILENCER PAD (except Standard)


    1. Remove the release paper from a new No. 4 roof silencer pad.

      Tech Tips

      After removing the release paper, keep the exposed adhesive free from foreign matter.

    2. A01M3HPC01
      *a Marking

      Align the No. 4 roof silencer pad with the markings on the roof headlining assembly and install the pad as shown in the illustration.

  10. INSTALL NO. 1 AMPLIFIER ANTENNA ASSEMBLY

    Click here

  11. INSTALL VANITY LIGHT ASSEMBLY

    Click here