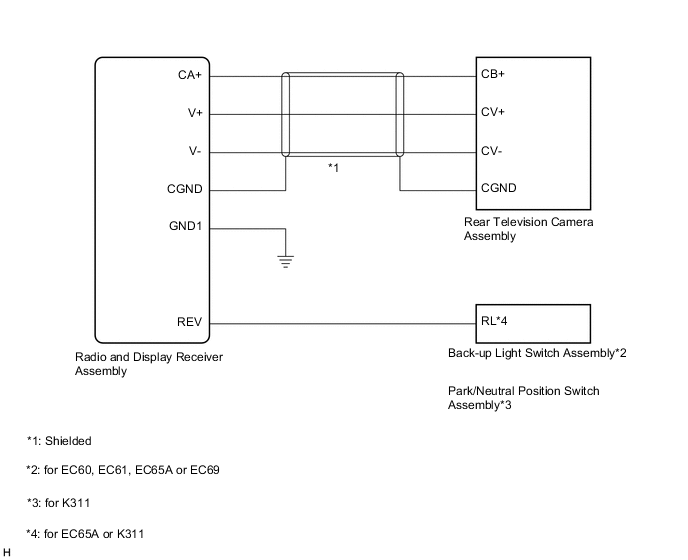
REAR VIEW MONITOR SYSTEM(for Sedan) SYSTEM DIAGRAM


  1. A012L22E06