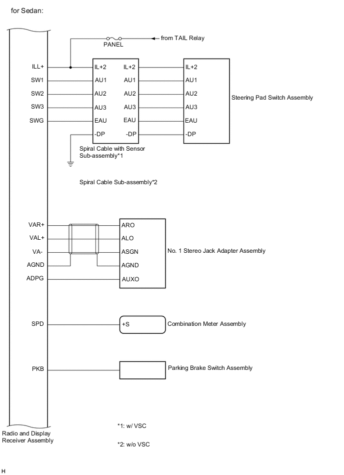
NAVIGATION SYSTEM SYSTEM DIAGRAM

A01M2BXE05
A01LX67E05
A01LYEXE05
A01M1R1E02
A01M378E02
A01M08XE01
A01M0EME04