AUDIO AND VISUAL SYSTEM(except Sedan Radio and Display Type) Illumination Circuit

DESCRIPTION

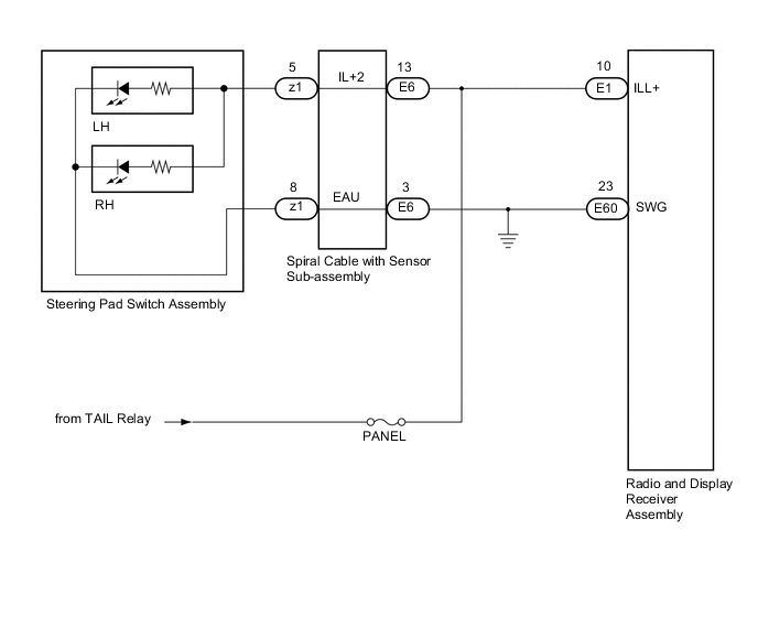
Power is supplied to the radio and display receiver assembly and steering pad switch assembly illumination when the light control switch is in the tail or head position.

WIRING DIAGRAM

A01TAAVE06

CAUTION / NOTICE / HINT

Note


  • The vehicle is equipped with a Supplemental Restraint System (SRS) which includes components such as airbags. Before servicing (including removal or installation of parts), be sure to read the precaution for Supplemental Restraint System.

    Click here

  • Inspect the fuses for circuits related to this system before performing the following procedure.

PROCEDURE


  1. CHECK ILLUMINATION


    1. Check if the illumination for the radio and display receiver assembly, steering pad switch assembly, heater control switch or others (hazard switch, transmission control switch, etc.) comes on when the light control switch is turned to the head or tail position.

      Result
      Result Proceed to
      Illumination comes on for all components except steering pad switch assembly. A
      Illumination comes on for all components except radio and display receiver assembly. B
      No illumination comes on (radio and display receiver assembly, hazard switch, heater control switch, etc.). C

    B
    C
    A
  2. CHECK HARNESS AND CONNECTOR (ILLUMINATION SIGNAL)


    1. Disconnect the E6 spiral cable with sensor sub-assembly connector.

    2. Measure the voltage according to the value(s) in the table below.

      Standard Voltage
      Tester Connection Condition Specified Condition
      E6-13 (IL+2) - Body ground Light control switch in tail or head position 11 to 14 V
      Result
      Proceed to
      OK
      NG

    NG
    OK
  3. INSPECT STEERING PAD SWITCH ASSEMBLY


    1. Remove the steering pad switch assembly.

      Click here

    2. Connect a positive (+) lead from the battery to terminal 5 (IL+2) and a negative (-) lead to terminal 8 (EAU) of the steering pad switch assembly connector.

      A01TARZC01
      *a

      Component without harness connected

      (Steering Pad Switch Assembly)

      - -
    3. Check that the steering pad switch assembly illumination illuminates.

      OK
      The steering pad switch assembly illumination illuminates.
      Result
      Proceed to
      OK
      NG

    NG
    OK
  4. INSPECT SPIRAL CABLE WITH SENSOR SUB-ASSEMBLY


    1. Remove the spiral cable with sensor sub-assembly.

      Click here

    2. A01TAW9C36
      *a

      Component without harness connected

      (Spiral Cable with Sensor Sub-assembly)

      *b Steering Pad Switch Assembly side
      *c Vehicle side

      Measure the resistance according to the value(s) in the table below.

      Standard Resistance
      Tester Connection Condition Specified Condition
      z1-5 (IL+2) - E6-13 (IL+2) Center 3 Ω or less
      2.5 rotations to the left
      2.5 rotations to the right
      z1-8 (EAU) - E6-3 (EAU) Center 3 Ω or less
      2.5 rotations to the left
      2.5 rotations to the right
    3. After setting the spiral cable with sensor sub-assembly to the center position, rotate the spiral cable with sensor sub-assembly 2.5 times clockwise. Then while rotating the spiral cable with sensor sub-assembly 5 times counterclockwise, measure the resistance according to the value(s) in the table below.

      Standard Resistance
      Tester Connection Condition Specified Condition
      z1-5 (IL+2) - E6-13 (IL+2) Always 3 Ω or less
      z1-8 (EAU) - E6-3 (EAU) Always 3 Ω or less

      Note


      • Press and hold the lock located in the center of the spiral cable with sensor sub-assembly to rotate the spiral cable with sensor sub-assembly.

      • The spiral cable with sensor sub-assembly is an important part of the SRS airbag system. Incorrect removal or installation of the spiral cable with sensor sub-assembly may prevent the airbag from deploying.

      • As the spiral cable with sensor sub-assembly may break, do not rotate the spiral cable with sensor sub-assembly more than the specified amount.

      Result
      Proceed to
      OK
      NG

    OK
    NG
  5. CHECK HARNESS AND CONNECTOR (ILLUMINATION SIGNAL)


    1. Disconnect the E1 radio and display receiver assembly connector.

    2. Measure the voltage according to the value(s) in the table below.

      Standard Voltage
      Tester Connection Condition Specified Condition
      E1-10 (ILL+) - Body ground Light control switch in tail or head position 11 to 14 V
      Result
      Proceed to
      OK
      NG

    OK
    NG