AUDIO AND VISUAL SYSTEM(for Radio Receiver Type) Vehicle Speed Signal Circuit between Radio Receiver and Combination Meter

DESCRIPTION

This circuit is necessary for the Automatic Sound Levelizer (ASL) built into the radio receiver assembly.

The Automatic Sound Levelizer (ASL) function automatically adjusts the audio system volume level in order to compensate for increased vehicle noise (vehicle noise tends to increase as vehicle speed increases). The ASL adjusts the volume level based upon vehicle speed signals that it receives from the combination meter assembly.

Tech Tips


  • A voltage of 12 V or 5 V is output from each ECU and then input to the combination meter assembly. The signal is changed to a pulse signal at the transistor in the combination meter assembly. Each ECU controls its respective system based on this pulse signal.

  • If a short occurs in any of the ECUs or in the wire harness connected to an ECU, all systems in the following diagram will not operate normally.

WIRING DIAGRAM


  1. for 1ZR-FE, 2ZR-FE

    A012L5GE01
  2. for 1NR-FE

    A012JX5E01
  3. for 1ZR-FAE

    A012M4KE01
  4. for 1ND-TV

    A012I59E01

PROCEDURE


  1. INSPECT COMBINATION METER ASSEMBLY (OUTPUT WAVEFORM)


    1. Check the output waveform.

      A012KWXC03
      *a

      Component with harness connected

      (Combination Meter Assembly)

      - -

      1. Remove the combination meter assembly with the connector still connected.

      2. Connect an oscilloscope to terminal E46-6 (+S) and body ground.

      3. Turn the ignition switch to ON.

      4. Turn a wheel slowly.

      5. Check the signal waveform according to the condition(s) in the table below.

        Item Condition
        Measurement terminal E46-6 (+S) - Body ground
        Tool setting 5 V/DIV., 20 ms./DIV.
        Vehicle condition Wheel being rotated
        OK
        The waveform is similar to that shown in the illustration.

        Tech Tips

        When the system is functioning normally, one wheel revolution generates 4 pulses. As the vehicle speed increases, the width indicated by (A) in the illustration narrows.

      Result
      Proceed to
      OK
      NG

    NG
    OK
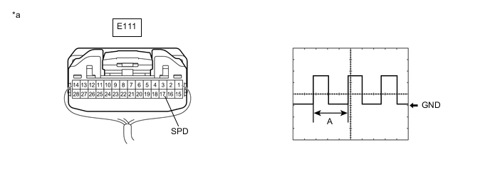
  2. INSPECT RADIO RECEIVER ASSEMBLY (INPUT WAVEFORM)


    1. Check the output waveform.

      A012KYNC09
      *a

      Component with harness connected

      (Radio Receiver Assembly)

      - -

      1. Remove the combination meter assembly with the connector still connected.

      2. Connect an oscilloscope to terminal E111-17 (SPD) and body ground.

      3. Turn the ignition switch to ON.

      4. Turn a wheel slowly.

      5. Check the signal waveform according to the condition(s) in the table below.

        Item Condition
        Measurement terminal E111-17 (SPD) - Body ground
        Tool setting 5 V/DIV., 20 ms./DIV.
        Vehicle condition Wheel being rotated
        OK
        The waveform is similar to that shown in the illustration.

        Tech Tips

        When the system is functioning normally, one wheel revolution generates 4 pulses. As the vehicle speed increases, the width indicated by (A) in the illustration narrows.

      Result
      Proceed to
      OK
      NG

    OK
    NG
  3. CHECK HARNESS AND CONNECTOR (RADIO RECEIVER ASSEMBLY - INSTRUMENT PANEL JUNCTION BLOCK ASSEMBLY)


    1. Disconnect the E111 radio receiver assembly connector.

    2. Disconnect the 3D instrument panel junction block assembly.

    3. Measure the resistance according to the value(s) in the table below.

      Standard Resistance
      Tester Connection Condition Specified Condition
      E111-17 (SPD) - 3D-19 Always Below 1 Ω
      Result
      Proceed to
      OK
      NG

    NG
    OK
  4. INSPECT INSTRUMENT PANEL JUNCTION BLOCK ASSEMBLY


    1. Remove the instrument panel junction block assembly.

    2. A012HYTC01
      *a

      Component without harness connected

      (Instrument Panel Junction Block Assembly)

      Measure the resistance according to the value(s) in the table below.

      Standard Resistance
      Tester Connection Condition Specified Condition
      3D-19 - 3D-38 Always Below 1 Ω
      Result
      Proceed to
      OK
      NG

    OK
    NG