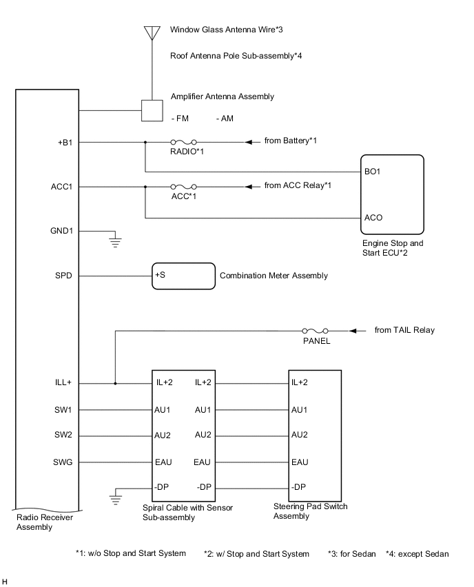
AUDIO AND VISUAL SYSTEM(for Radio Receiver Type) SYSTEM DIAGRAM

A012FBCE02
A012GSYE01
A012F3ZE01