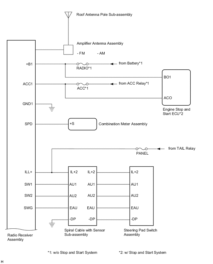
AUDIO AND VISUAL SYSTEM(for Radio Receiver Type) SYSTEM DIAGRAM

A00Y7NNE01
A00Y62PE02