TRANSMISSION CONTROL CABLE ADJUSTMENT

PROCEDURE


  1. SECURE VEHICLE


    1. Fully apply the parking brake and chock a wheel.

      CAUTION:


      • Make sure to apply the parking brake and chock a wheel before performing this procedure.

      • If the vehicle is not secure the vehicle may suddenly move, possibly resulting in an accident or serious injury.

  2. REMOVE REAR CONSOLE BOX ASSEMBLY

    Click here

  3. ADJUST TRANSMISSION CONTROL CABLE ASSEMBLY

    Tech Tips


    • After the floor shift lever assembly or the transmission control cable assembly is replaced, be sure to adjust the transmission control cable assembly.

    • If the shift lever does not move (or the shift lever is difficult to move) to 1st or 2nd, or if it is possible to move the shift lever to reverse without pulling up the slider shaft, the length of the transmission control cable assembly must be adjusted.


    1. A01M0LHC02
      *1 Transmission Control Select Cable
      *2 Floor Shift Lever Assembly

      Remove the clip, and disconnect the transmission control select cable from the floor shift lever assembly.

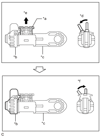
    2. A01LVCFC01
      *a Lock Piece
      *b Stopper
      *c Adjuster Case
      *d Twist the stopper
      *e Pull Out
      *f Return the stopper

      Release the lock of the transmission control cable assembly length adjustment structure of the transmission control select cable.


      1. Twist the stopper.

      2. Pull the lock piece outward from the adjuster case to release the lock.

      3. Return the stopper.

    3. A01LV2XC01
      *1 Transmission Control Select Cable
      *2 Floor Shift Lever Assembly

      Connect the transmission control select cable to the floor shift lever assembly and install the clip.

      Note


      • Make sure the lock piece of the transmission control select cable is facing upward when the transmission control select cable is connected.

      • Make sure that the transmission control select cable is securely installed.

    4. A01M3FEC01
      *a Press
      *b Press and Hold
      *c Push in the shift and select lever pin

      Pressing the shift and select lever shaft and shift and select lever pin, push in the shift and select lever pin and check that the shift and select lever shaft is secured at the 1st-2nd gear (the shaft comes to a stop at the position 8 mm (0.315 in.) below the N position).

    5. A01LW53C02
      *a Slider Shaft
      *b Cam Wall

      Push the slider shaft against the cam wall.

      Note


      • Do not pull up the slider shaft.

      • When adjusting the transmission control select cable, make sure that the shift lever is not in 1st or 2nd.

    6. Lock the transmission control cable assembly length adjustment structure of the transmission control select cable.


      1. Twist the stopper.

        A01LWN3C01
        *a Lock Piece *b Stopper
        *c Adjuster Case *d Twist the stopper
        *e Push *f Return the stopper
      2. Push the lock piece into the adjuster case with slider held against the cam wall.

        Note


        • Securely press in the lock piece until the lock engages.

        • When adjusting the transmission control select cable, make sure that the shift lever is not in 1st or 2nd.

      3. Return the stopper to prevent the lock from being released.

        Note


        • Push the lock piece as far as it will go.

        • Confirm whether the transmission control select cable length adjustment structure is locked securely.

    7. Release the shift and select lever pin that secures the shift and select lever shaft.


      1. A01M1ZSC01
        *a Pull

        Pull the shift and select lever pin toward the front left side of the vehicle.

  4. INSTALL REAR CONSOLE BOX ASSEMBLY

    Click here