MANUAL TRANSAXLE UNIT REASSEMBLY

PROCEDURE


  1. INSTALL SHIFT FORK SHAFT BEARING


    1. A012I23N01

      Using SST and a press, press in 4 new shift fork shaft bearings to the front transaxle case.

      SST
      09820-00031
      Clearance
      0 to 0.5 mm (0.000 to 0.0197 in.)
  2. INSTALL OUTPUT SHAFT COVER


    1. A012GOZC01
      *a Protrusion
      *b Groove

      Align the protrusion on the output shaft cover with the groove on the front transaxle case, as shown in the illustration, and install the cover to the front transaxle case.

  3. INSTALL NO. 2 OUTPUT SHAFT FRONT BEARING OUTER RACE


    1. A012H07N01

      Using SST and a hammer, install the No. 2 output shaft front bearing to the front transaxle case.

      SST
      09950-70010   ( 09951-07100 )
      09950-60020   ( 09951-00710 )
  4. INSTALL OUTPUT SHAFT COVER


    1. A012G6KC01
      *a Protrusion
      *b Groove

      Align the protrusion on the output shaft cover with the groove on the front transaxle case, as shown in the illustration, and install the cover to the front transaxle case.

  5. INSTALL OUTPUT SHAFT FRONT BEARING


    1. A012KJ5N01

      Coat a new output shaft front bearing with gear oil. Using SST and a press, install the output shaft front bearing.

      SST
      09223-15020
    2. A012L69

      Install the bolt.

      Torque:
      11.3 N*m  { 115 kgf*cm, 8 ft.*lbf }
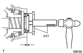
  6. INSTALL FRONT TRANSAXLE CASE OIL SEAL


    1. A012MTFN01

      Using SST and a hammer, install a new front transaxle case oil seal to the front transaxle case.

      SST
      09950-60010   ( 09951-00580 )
      09950-70010   ( 09951-07200 )
      Drive in Depth
      4.4 to 5.0 mm (0.173 to 0.197 in.)
    2. Coat a front transaxle case oil seal lip with MP grease.

  7. INSTALL INPUT SHAFT FRONT BEARING


    1. A012FWKN01

      Coat a new input shaft front bearing with gear oil. Using SST and a press, install the input shaft front bearing.

      SST
      09223-00010
    2. A012H3K

      Install the bolt.

      Torque:
      11.3 N*m  { 115 kgf*cm, 8 ft.*lbf }
  8. INSTALL INPUT SHAFT REAR BEARING SHAFT SNAP RING


    1. A012G6V

      Using snap ring pliers, install the input shaft rear bearing shaft snap ring and output shaft rear bearing shaft snap ring to the manual transmission case.

  9. INSTALL SHIFT AND SELECT LEVER SHAFT NEEDLE ROLLER BEARING


    1. A012G9RN01

      Using SST and a press, press in a new shift and select lever shaft needle roller bearing to the manual transmission case.

      SST
      09285-76010
      Clearance
      177.8 to 178.7 mm (7.00 to 7.04 in.)
  10. INSTALL SHIFT FORK SHAFT BEARING


    1. A012HMBC01
      *a Clearance A
      *b Clearance B

      Using SST and a press, press in 4 new shift fork shaft bearings to the manual transmission case.

      SST
      09307-12010
      09820-00031
      Clearance A
      168.2 to 169.3 mm (6.62 to 6.67 in.)
      Clearance B
      162.2 to 163.3 mm (6.39 to 6.43 in.)
  11. INSTALL FRONT DIFFERENTIAL CASE FRONT BEARING OUTER RACE


    1. A012K0JN01

      Using SST and a hammer, install the front differential case front bearing outer race to the front transaxle case.

      SST
      09950-60020   ( 09951-00910 )
      09950-70010   ( 09951-07150 )
  12. INSTALL FRONT DIFFERENTIAL CASE REAR SHIM


    1. A012N93

      Install the front differential case rear shim to the manual transmission case.

  13. INSTALL FRONT DIFFERENTIAL CASE REAR BEARING OUTER RACE


    1. A012GUHN01

      Using SST and a hammer, install the front differential case rear bearing outer race to the manual transmission case.

      SST
      09950-60020   ( 09951-00910 )
      09950-70010   ( 09951-07100 )
  14. ADJUST DIFFERENTIAL SIDE BEARING PRELOAD


    1. A012FN3

      Install differential gear assembly to the front transaxle case.

    2. A012N90

      Install the manual transmission case to the manual transaxle case with the 12 bolts.

      Torque:
      29.4 N*m  { 300 kgf*cm, 22 ft.*lbf }
    3. A012K8U

      Install the 6 bolts to the manual transaxle case side.

      Torque:
      29.4 N*m  { 300 kgf*cm, 22 ft.*lbf }
    4. Turn the differential case in both directions to settle it.

    5. A012MY5C01
      *a Mark

      Using SST and a torque wrench, measure the starting preload.

      SST
      09564-33010
      Bearing Preload
      1.00 to 2.49 N*m (10 to 25 kgf*cm, 9 to 22 in.*lbf)
    6. Select a front differential case rear shim.

      Front Differential Case Rear Shim Thickness:
      Mark Thickness mm (in.) Mark Thickness mm (in.) Mark Thickness mm (in.)
      0

      1.99 to 2.01

      (0.0783 to 0.0791)

      6

      2.29 to 2.31

      (0.0902 to 0.0909)

      C

      2.59 to 2.61

      (0.1020 to 0.1028)

      1

      2.04 to 2.06

      (0.0803 to 0.0811)

      7

      2.34 to 2.36

      (0.0921 to 0.0929)

      D

      2.64 to 2.66

      (0.1039 to 0.1047)

      2

      2.09 to 2.11

      (0.0823 to 0.0831)

      8

      2.39 to 2.41

      (0.0941 to 0.0949)

      E

      2.69 to 2.71

      (0.1059 to 0.1067)

      3

      2.14 to 2.16

      (0.0843 to 0.0850)

      9

      2.44 to 2.46

      (0.0961 to 0.0969)

      F

      2.74 to 2.76

      (0.1079 to 0.1087)

      4

      2.19 to 2.21

      (0.0862 to 0.0870)

      A

      2.49 to 2.51

      (0.0980 to 0.0988)

      G

      2.79 to 2.81

      (0.1098 to 0.1106)

      5

      2.24 to 2.26

      (0.0882 to 0.0890)

      B

      2.54 to 2.56

      (0.1000 to 0.1008)

      H

      2.84 to 2.86

      (0.1118 to 0.1126)

    7. Remove the 6 bolts from the front transaxle case side.

    8. Remove the 12 bolts from the manual transmission case side.

    9. Remove the manual transmission case from the front transaxle case.

    10. Remove the differential gear assembly from the front transaxle case.

  15. INSTALL NO. 2 OUTPUT SHAFT REAR BEARING OUTER RACE


    1. A012HM4C01
      *a Mark

      Install the output shaft rear bearing shim to the manual transmission case.

      Tech Tips

      When reusing the No. 2 output shaft rear bearing outer race, first install a output shaft rear bearing shim of the same thickness as the original. When installing a new No. 2 output shaft rear bearing outer race, first select and install a output shaft rear bearing shim which is thinner than the original.

    2. A012LU3N01

      Using SST and a hammer, install the No. 2 output shaft rear bearing outer race to the manual transmission case.

      SST
      09950-60010   ( 09951-00650 )
      09950-70010   ( 09951-07200 )
  16. ADJUST NO. 2 OUTPUT SHAFT REAR BEARING PRELOAD


    1. A012GPC

      Install the No. 2 output shaft assembly and differential gear assembly to the front transaxle case.

    2. A012N90

      Install the manual transmission case to the front transaxle case with the 12 bolts.

      Torque:
      29.4 N*m  { 300 kgf*cm, 22 ft.*lbf }
    3. A012K8U

      Install the 6 bolts to the manual transaxle case side.

      Torque:
      29.4 N*m  { 300 kgf*cm, 22 ft.*lbf }
    4. A012MJPN01

      Using SST, measure the No. 2 output shaft rear bearing preload. Subtract the value of the differential side bearing preload from the measured No. 2 output shaft rear bearing preload. Select a output shaft rear bearing shim that will set the preload within the specified range below and install the output shaft rear bearing shim.

      SST
      09564-33010
      Bearing Preload
      3.66 to 5.18 N*m (37 to 53 kgf*cm, 32 to 46 in.*lbf)
      Output Shaft Rear Bearing Shim Thickness:
      Mark Thickness mm (in.) Mark Thickness mm (in.) Mark Thickness mm (in.)
      A

      1.79 to 1.81

      (0.0705 to 0.0713)

      G

      2.09 to 2.11

      (0.0823 to 0.0831)

      N

      2.39 to 2.41

      (0.0941 to 0.0949)

      B

      1.84 to 1.86

      (0.0724 to 0.0732)

      H

      2.14 to 2.16

      (0.0843 to 0.0850)

      P

      2.44 to 2.46

      (0.0961 to 0.0969)

      C

      1.89 to 1.91

      (0.0744 to 0.0752)

      J

      2.19 to 2.21

      (0.0862 to 0.0870)

      Q

      2.49 to 2.51

      (0.0980 to 0.0988)

      D

      1.94 to 1.96

      (0.0764 to 0.0772)

      K

      2.24 to 2.26

      (0.0882 to 0.0890)

      R

      2.54 to 2.56

      (0.1000 to 0.1008)

      E

      1.99 to 2.01

      (0.0783 to 0.0791)

      L

      2.29 to 2.31

      (0.0902 to 0.0909)

      S

      2.59 to 2.61

      (0.1020 to 0.1028)

      F

      2.04 to 2.06

      (0.0803 to 0.0811)

      M

      2.34 to 2.36

      (0.0921 to 0.0929)

      T

      2.64 to 2.66

      (0.1039 to 0.1047)

    5. Remove the 6 bolts from the front transaxle case side.

    6. Remove the 12 bolts from the manual transmission case side.

    7. Remove the manual transmission case from the front transaxle case.

    8. Remove the No. 2 output shaft assembly from the front transaxle case.

    9. Remove the differential gear assembly from the front transaxle case.

  17. INSTALL TRANSMISSION MAGNET


    1. A012GGH

      Clean and reinstall the transmission magnet to the front transaxle case.

  18. INSTALL DIFFERENTIAL GEAR ASSEMBLY


    1. A012FN3

      Coat the front differential case tapered roller bearings with gear oil and install it to the front transaxle case.

  19. INSTALL TRANSMISSION OIL SEPARATOR


    1. A012JBK

      Install the transmission oil separator to the front transaxle case with the 2 bolts.

      Torque:
      8.5 N*m  { 87 kgf*cm, 75 in.*lbf }
  20. INSTALL INPUT SHAFT, NO. 1 OUTPUT SHAFT AND NO. 2 OUTPUT SHAFT


    1. A012KO8

      Install the 3 shafts at the same time.

  21. INSTALL REVERSE IDLER GEAR


    1. A012MC6

      Coat the reverse idler gear, needle roller bearing, and reverse idler thrust washer with MP grease, and install them to the reverse idler gear shaft.

      Tech Tips

      Make sure that the protruding part on the reverse idler thrust washer is fitted into the groove of the reverse idler shaft.

    2. A012HCH

      Install the reverse idler gear shaft by sliding and lifting it.

    3. A012LOYC01
      *a Align the mark with the hole.
      *b 30°

      Align the mark of the reverse idler gear shaft with the hole of the bolt.

  22. INSTALL REVERSE SHIFT FORK


    1. A012HG6

      Install the reverse shift fork to the No. 2 output shaft assembly.

  23. INSTALL NO. 3 GEAR SHIFT FORK


    1. A012LCA

      Install the No. 3 gear shift fork to the No. 2 output shaft assembly.

  24. INSTALL 5TH AND 6TH SHIFT FORK SHAFT


    1. A012K9C

      Install the 5th and 6th shift fork shaft to the front transaxle case.

    2. A012FUZ

      Coat the bolt with sealant.

      Sealant
      Toyota Genuine Adhesive 1344, Three Bond 1344 or equivalent
    3. Install the bolt to the No. 3 gear shift fork.

      Torque:
      19.6 N*m  { 200 kgf*cm, 14 ft.*lbf }
  25. INSTALL REVERSE SHIFT FORK SHAFT


    1. A012K44

      Install the reverse shift fork shaft to the front transaxle case.

    2. A012HZ4

      Coat the bolt with sealant.

      Sealant
      Toyota Genuine Adhesive 1344, Three Bond 1344 or equivalent
    3. Install the bolt to the reverse shift fork.

      Torque:
      19.6 N*m  { 200 kgf*cm, 14 ft.*lbf }
  26. INSTALL SHIFT ARM


    1. A012JZC

      Install the shift arm to the front transaxle case.

  27. INSTALL NO. 1 GEAR SHIFT FORK


    1. A012HZ1

      Install the No. 1 gear shift fork to the No. 1 output shaft assembly.

  28. INSTALL NO. 5 GEAR SHIFT FORK SHAFT


    1. A012I1I

      Install the No. 3 gear shift head to the No. 5 gear shift fork shaft.

    2. Using a 5 mm pin punch and hammer, drive a new slotted spring pin into the No. 3 gear shift head.

      Depth
      -0.5 to 0.5 mm (-0.0197 to 0.0197 in.)
    3. A012FSL

      Install the No. 5 gear shift fork shaft to the front transaxle case.

    4. A012GW1

      Install the shift arm to the No. 5 gear shift fork shaft.

    5. A012J5O

      Install the pin to the shift arm.

    6. A012F77

      Using a brass bar and hammer, install a new E-ring to the pin.

  29. INSTALL NO. 2 GEAR SHIFT FORK


    1. A012GH9

      Install the No. 2 gear shift fork to the No. 1 output shaft assembly.

  30. INSTALL 3RD AND 4TH SHIFT FORK SHAFT


    1. A012H5M

      Install the No. 2 gear shift head to the 3rd and 4th shift fork shaft.

    2. Install the 3rd and 4th shift fork shaft to the front transaxle case.

    3. A012KC0

      Using a 5 mm pin punch and hammer, drive a new slotted spring pin into the No. 2 gear shift fork.

      Drive in Depth
      -0.5 to 0.5 mm (-0.0197 to 0.0197 in.)
    4. A012HBT

      Using a 5 mm pin punch and hammer, drive a new slotted spring pin into the No. 2 gear shift head.

      Drive in Depth
      -0.5 to 0.5 mm (-0.0197 to 0.0197 in.)
  31. INSTALL 1ST AND 2ND SHIFT FORK SHAFT


    1. A012K68

      Install the 1st and 2nd shift fork shaft to the front transaxle case.

    2. A012MR8

      Coat the bolt with sealant.

      Sealant
      Toyota Genuine Adhesive 1344, Three Bond 1344 or equivalent
    3. Install the bolt to the No. 1 gear shift fork.

      Torque:
      19.6 N*m  { 200 kgf*cm, 14 ft.*lbf }
  32. INSTALL TRANSMISSION OIL SEPARATOR


    1. A012L8F

      Install the transmission oil separator to the manual transmission case with the 2 bolts.

      Torque:
      8.5 N*m  { 87 kgf*cm, 75 in.*lbf }
  33. INSTALL NO. 1 OIL RECEIVER PIPE


    1. A012HCZ

      Install the No. 1 oil receiver pipe to the manual transmission case.

      Note

      Do not damage the No. 1 oil receiver pipe.

  34. INSTALL MANUAL TRANSMISSION CASE


    1. Clean the seal packing attached on the manual transmission case and front transaxle case using a scraper and wire brush. Then remove the oil with non-residue solvent.

      Note

      Do not scratch the fitting surface.

    2. A012KMMC03
      *a FIPG

      Apply FIPG to the manual transmission case as shown in the illustration.

      FIPG
      Toyota Genuine Seal Packing 1281, Three Bond 1281 or equivalent

      Note

      Install the parts within 10 minutes of application. Otherwise, the packing (FIPG) material must be removed and reapplied.

    3. A012F8Y

      Use 2 snap ring pliers to keep the snap rings stretched and install the manual transmission case.

    4. A012HOVC01
      *a Service Hole
      *b 8.5 mm (0.335 in. )
      *c 9.3 mm (0.366 in. )

      Install the bolt to the No. 1 output shaft assembly and lift the bolt from the service hole as shown in the illustration. Make sure that the snap rings are positioned correctly in the bearing grooves by checking that the distances between the centers of the snap ring holes are as shown in the illustration.

    5. A012N90

      Install the manual transmission case to the front transaxle case with the 12 bolts.

      Torque:
      29.4 N*m  { 300 kgf*cm, 22 ft.*lbf }
    6. A012K8U

      Install the 6 bolts to the manual transaxle case side.

      Torque:
      29.4 N*m  { 300 kgf*cm, 22 ft.*lbf }
  35. INSTALL REVERSE IDLER GEAR SHAFT BOLT


    1. A012LBZ

      Coat the reverse idler gear shaft bolt with sealant.

      Sealant
      Toyota Genuine Adhesive 1344, Three Bond 1344 or equivalent
    2. Install a new gasket and the reverse idler gear shaft bolt to the manual transmission case.

      Torque:
      80 N*m  { 816 kgf*cm, 59 ft.*lbf }
  36. INSTALL SHIFT DETENT BALL


    1. A012G2O

      Coat the 4 detent ball plugs with sealant.

      Sealant
      Toyota Genuine Adhesive 1344, Three Bond 1344 or equivalent
    2. Install the 4 shift detent balls, 4 springs, 4 spring seats and 4 detent ball plugs using a 6 mm hexagon wrench.

      Torque:
      22.4 N*m  { 228 kgf*cm, 17 ft.*lbf }
  37. INSTALL MANUAL TRANSMISSION CASE PLUG


    1. Clean the seal packing attached on the manual transmission case using a scraper and wire brush. Then remove the oil with non-residue solvent or equivalent.

      Note

      Do not scratch the fitting surface.

    2. A012JJXC02
      *a FIPG
      *b Case plug A
      *c Case plug B

      Apply FIPG to the manual transmission case as shown in the illustration.

      FIPG
      Toyota Genuine Seal Packing 1281, Three Bond 1281 or equivalent

      Note

      Install the parts within 10 minutes of application. Otherwise, the packing (FIPG) material must be removed and reapplied.

    3. Coat the transmission case plugs with sealant.

      Sealant
      Toyota Genuine Adhesive 1344, Three Bond 1344 or equivalent
    4. Install the manual transmission case plugs to the manual transmission case.

      Torque:
      Case Plug A
      55 N*m  { 561 kgf*cm, 41 ft.*lbf }
      Case Plug B
      22.4 N*m  { 228 kgf*cm, 17 ft.*lbf }
  38. INSTALL O-RING


    1. A012FM8C01
      *1 O-ring

      Coat a new O-ring with the MP grease, and install it to the shift and select pin.

  39. INSTALL SHIFT AND SELECT PIN


    1. A012IQLC01
      *a Press and hold
      *b Push in the shift and select pin.

      Install the spring.

    2. While pressing in the shift and select pin in as far as it will go, push in the shift and select pin to install it.

  40. INSTALL MANUAL TRANSMISSION FILLER PLUG


    1. A012J9Z

      Install a new gasket and the manual transmission filler plug to the manual transmission case.

      Torque:
      39.2 N*m  { 400 kgf*cm, 29 ft.*lbf }
  41. INSTALL DRAIN PLUG


    1. A012MLJ

      Install a new gasket and the drain plug to the front transaxle case.

      Torque:
      39.2 N*m  { 400 kgf*cm, 29 ft.*lbf }
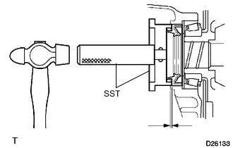
  42. INSTALL TRANSMISSION CASE OIL SEAL


    1. Coat a new transmission case oil seal lip with MP grease.

    2. A012I4DN01

      Using SST and a hammer, install the transmission case oil seal.

      SST
      09608-10010
      09950-70010   ( 09951-07200 )
      Drive in Depth
      -0.5 to 0.5 mm (-0.0197 to 0.0197 in.)

      Note

      Do not damage the transmission case oil seal lip.

  43. INSTALL TRANSAXLE CASE OIL SEAL


    1. Coat a new transaxle case oil seal lip with MP grease.

    2. A012K3HN01

      Using SST and a hammer, install the transaxle case oil seal.

      SST
      09608-32010
      09950-70010   ( 09951-07200 )
      Drive in Depth
      -0.5 to 0.5 mm (-0.0197 to 0.0197 in.)

      Note

      Do not damage the transaxle case oil seal lip.

  44. INSTALL SHIFT AND SELECT LEVER ASSEMBLY


    1. A012J3H

      Align the 4 shift fork shafts as shown in the illustration.

    2. Clean the seal packing attached on the manual transmission case and control shaft cover using a scraper and wire brush. Then remove the oil with non-residue solvent.

      Note

      Do not scratch the fitting surface.

    3. A012NAJC06
      *a FIPG

      Apply FIPG to the manual transmission case as shown in the illustration.

      FIPG
      Toyota Genuine Seal Packing 1281, Three Bond 1281 or equivalent

      Note

      Install the parts within 10 minutes of application. Otherwise, the packing (FIPG) material must be removed and reapplied.

    4. Coat the 4 bolts with sealant.

      Sealant
      Toyota Genuine Adhesive 1344, Three Bond 1344 or equivalent
    5. A012IWX

      Install the shift and select lever assembly to the manual transmission case with the 4 bolts.

      Torque:
      18.6 N*m  { 190 kgf*cm, 14 ft.*lbf }
  45. INSTALL SHIFT GATE PIN


    1. A012GC0

      Coat the shift gate pin with sealant.

      Sealant
      Toyota Genuine Adhesive 1344, Three Bond 1344 or equivalent
    2. Install the shift gate pin to the manual transmission case.

      Torque:
      30 N*m  { 306 kgf*cm, 22 ft.*lbf }
  46. INSTALL NO. 2 LOCK BALL ASSEMBLY


    1. A012N71

      Coat the No. 2 lock ball assembly with sealant.

      Sealant
      Toyota Genuine Adhesive 1344, Three Bond 1344 or equivalent
    2. Install the No. 2 lock ball assembly to the manual transmission case.

      Torque:
      29.4 N*m  { 300 kgf*cm, 22 ft.*lbf }
  47. INSTALL NO. 1 LOCK BALL ASSEMBLY


    1. A012KXY

      Coat the No. 1 lock ball assembly with sealant.

      Sealant
      Toyota Genuine Adhesive 1344, Three Bond 1344 or equivalent
    2. Install the No. 1 lock ball assembly to the manual transmission case.

      Torque:
      39.2 N*m  { 400 kgf*cm, 29 ft.*lbf }
  48. INSTALL NEUTRAL POSITION SWITCH


    1. A012G1UN01

      Using SST, install a new gasket and the neutral position switch to the manual transmission case.

      SST
      09816-30010
      Torque:
      40.2 N*m  { 410 kgf*cm, 30 ft.*lbf }
  49. INSTALL BACK-UP LAMP SWITCH ASSEMBLY


    1. A012I7BN01

      Using SST, install a new gasket and the back-up light switch assembly to the manual transmission case.

      SST
      09816-30010
      Torque:
      40.2 N*m  { 410 kgf*cm, 30 ft.*lbf }
  50. INSTALL SELECTING BELL CRANK ASSEMBLY


    1. A012HKG

      Install the selecting bell crank assembly to the manual transmission case with the 2 bolts.

      Torque:
      20 N*m  { 204 kgf*cm, 15 ft.*lbf }
  51. INSTALL CONTROL CABLE BRACKET


    1. A012HTQ

      Install the control cable bracket to the manual transaxle assembly with the 3 bolts.

      Torque:
      17 N*m  { 173 kgf*cm, 13 ft.*lbf }
  52. INSTALL CLUTCH RELEASE FORK BOOT

    Click here

  53. INSTALL RELEASE FORK SUPPORT

    Click here

  54. INSTALL CLUTCH RELEASE BEARING ASSEMBLY

    Click here

  55. INSTALL CLUTCH RELEASE FORK SUB-ASSEMBLY

    Click here