MANUAL TRANSAXLE UNIT REASSEMBLY

PROCEDURE


  1. INSTALL SHIFT FORK SHAFT BEARING


    1. A01M0Q3N01

      Using SST and a press, install 4 new shift fork shaft bearings to the front transaxle case.

      SST
      09820-00031
      Standard Clearance
      0 to 0.5 mm (0 to 0.0197 in.)
  2. INSTALL OUTPUT SHAFT COVER


    1. A01LYZAC01
      *a Protrusion
      *b Groove

      Align the protrusion on the output shaft cover with the groove on the front transaxle case as shown in the illustration, and install the output shaft cover to the front transaxle case.

  3. INSTALL NO. 2 OUTPUT SHAFT FRONT BEARING OUTER RACE


    1. A01LZIMN01

      Using SST and a hammer, install the No. 2 output shaft front bearing outer race to the front transaxle case.

      SST
      09950-70010   ( 09951-07100 )
      09950-60020   ( 09951-00710 )
  4. INSTALL OUTPUT SHAFT COVER


    1. A01LVU6C01
      *a Protrusion
      *b Groove

      Align the protrusion on the output shaft cover with the groove on the front transaxle case as shown in the illustration, and install the output shaft cover to the front transaxle case.

  5. INSTALL OUTPUT SHAFT FRONT BEARING


    1. A01LWUTN01

      Coat a new output shaft front bearing with gear oil.

    2. Using SST and a press, install the output shaft front bearing to the front transaxle case.

      SST
      09223-15020
    3. A01M2ZR

      Install the bolt to the front transaxle case.

      Torque:
      11.3 N*m  { 115 kgf*cm, 8 ft.*lbf }
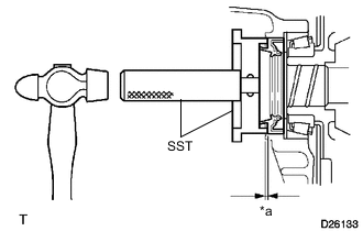
  6. INSTALL FRONT TRANSAXLE CASE OIL SEAL


    1. A01LVV9C01
      *a Depth

      Using SST and a hammer, install a new front transaxle case oil seal to the front transaxle case.

      SST
      09950-60010   ( 09951-00580 )
      09950-70010   ( 09951-07200 )
      Standard Depth
      4.4 to 5.0 mm (0.173 to 0.197 in.)
    2. Coat a front transaxle case oil seal lip with MP grease.

  7. INSTALL INPUT SHAFT FRONT BEARING


    1. Coat a new input shaft front bearing with gear oil.

    2. A01M28AN01

      Using SST and a press, install the input shaft front bearing to the front transaxle case.

      SST
      09223-00010
    3. A01LWNL

      Install the bolt to the front transaxle case.

      Torque:
      11.3 N*m  { 115 kgf*cm, 8 ft.*lbf }
  8. INSTALL INPUT SHAFT REAR BEARING SHAFT SNAP RING


    1. A01LXC7C01
      *1 Input Shaft Rear Bearing Shaft Snap Ring
      *2 Output Shaft Rear Bearing Shaft Snap Ring

      Using snap ring pliers, install the input shaft rear bearing shaft snap ring to the manual transmission case.

    2. Using snap ring pliers, install the output shaft rear bearing shaft snap ring to the manual transmission case.

  9. INSTALL SHIFT AND SELECT LEVER SHAFT NEEDLE ROLLER BEARING


    1. A01LWLUC01
      *a Depth

      Using SST and a press, install a new shift and select lever shaft needle roller bearing to the manual transmission case.

      SST
      09285-76010
      Standard Clearance
      177.8 to 178.7 mm (7.00 to 7.04 in.)
  10. INSTALL SHIFT FORK SHAFT BEARING


    1. A01LWQNC02
      *a Clearance (A)
      *b Clearance (B)
      *c Depth

      Using SST and a press, install 4 new shift fork shaft bearings to the manual transmission case.

      SST
      09307-12010
      09820-00031
      Standard Clearance (A)
      168.2 to 169.3 mm (6.62 to 6.67 in.)
      Standard Clearance (B)
      162.2 to 163.3 mm (6.39 to 6.43 in.)
  11. INSTALL FRONT DIFFERENTIAL CASE FRONT BEARING OUTER RACE


    1. A01LXW4N01

      Using SST and a hammer, install the front differential case front bearing outer race to the front transaxle case.

      SST
      09950-60020   ( 09951-00910 )
      09950-70010   ( 09951-07150 )
  12. INSTALL FRONT DIFFERENTIAL CASE REAR SHIM


    1. A01LYP5

      Install the front differential case rear shim to the manual transmission case.

  13. INSTALL FRONT DIFFERENTIAL CASE REAR BEARING OUTER RACE


    1. A01LVJON01

      Using SST and a hammer, install the front differential case rear bearing outer race to the manual transmission case.

      SST
      09950-60020   ( 09951-00910 )
      09950-70010   ( 09951-07100 )
  14. ADJUST DIFFERENTIAL SIDE BEARING PRELOAD


    1. A01LZ6B

      Install the differential gear assembly to the front transaxle case.

    2. A01LYAN

      Install the manual transmission case to the front transaxle case with the 12 bolts.

      Torque:
      29.4 N*m  { 300 kgf*cm, 22 ft.*lbf }
    3. A01LV6B

      Install the 6 bolts to the manual transmission case.

      Torque:
      29.4 N*m  { 300 kgf*cm, 22 ft.*lbf }
    4. Turn the differential gear assembly in both directions to settle it.

    5. A01LVAAC01
      *a Mark

      Using SST and a torque wrench, measure the starting preload.

      SST
      09564-33010
      Preload
      1.00 to 2.49 N*m (10 to 25 kgf*cm, 9 to 22 in.*lbf)
    6. Select a front differential case rear shim.

      Front Differential Case Rear Shim Thickness:
      Mark Thickness mm (in.) Mark Thickness mm (in.) Mark Thickness mm (in.)
      0

      1.99 to 2.01

      (0.0783 to 0.0791)

      6

      2.29 to 2.31

      (0.0902 to 0.0909)

      C

      2.59 to 2.61

      (0.1020 to 0.1028)

      1

      2.04 to 2.06

      (0.0803 to 0.0811)

      7

      2.34 to 2.36

      (0.0921 to 0.0929)

      D

      2.64 to 2.66

      (0.1039 to 0.1047)

      2

      2.09 to 2.11

      (0.0823 to 0.0831)

      8

      2.39 to 2.41

      (0.0941 to 0.0949)

      E

      2.69 to 2.71

      (0.1059 to 0.1067)

      3

      2.14 to 2.16

      (0.0843 to 0.0850)

      9

      2.44 to 2.46

      (0.0961 to 0.0969)

      F

      2.74 to 2.76

      (0.1079 to 0.1087)

      4

      2.19 to 2.21

      (0.0862 to 0.0870)

      A

      2.49 to 2.51

      (0.0980 to 0.0988)

      G

      2.79 to 2.81

      (0.1098 to 0.1106)

      5

      2.24 to 2.26

      (0.0882 to 0.0890)

      B

      2.54 to 2.56

      (0.1000 to 0.1008)

      H

      2.84 to 2.86

      (0.1118 to 0.1126)

    7. Remove the 6 bolts from the manual transmission case.

    8. Remove the 12 bolts from the front transaxle case.

    9. Remove the manual transmission case from the front transaxle case.

    10. Remove the differential gear assembly from the front transaxle case.

  15. INSTALL NO. 2 OUTPUT SHAFT REAR BEARING OUTER RACE


    1. A01LWVLC01
      *a Mark

      Install the output shaft rear bearing shim to the manual transmission case.

      Tech Tips

      When reusing the No. 2 output shaft rear bearing outer race, first install an output shaft rear bearing shim of the same thickness as the original. When installing a new No. 2 output shaft rear bearing outer race, first select and install an output shaft rear bearing shim which is thinner than the original.

    2. A01LYIJN01

      Using SST and a hammer, install the No. 2 output shaft rear bearing outer race to the manual transmission case.

      SST
      09950-60010   ( 09951-00650 )
      09950-70010   ( 09951-07200 )
  16. ADJUST NO. 2 OUTPUT SHAFT REAR BEARING PRELOAD


    1. A01M39G

      Install the No. 2 output shaft assembly and differential gear assembly to the front transaxle case.

    2. A01LYAN

      Install the manual transmission case to the front transaxle case with the 12 bolts.

      Torque:
      29.4 N*m  { 300 kgf*cm, 22 ft.*lbf }
    3. A01LV6B

      Install the 6 bolts to the manual transmission case.

      Torque:
      29.4 N*m  { 300 kgf*cm, 22 ft.*lbf }
    4. A01M0EHN01

      Using SST, measure the No. 2 output shaft rear bearing preload. Subtract the value of the differential side bearing preload from the measured No. 2 output shaft rear bearing preload. Select an output shaft rear bearing shim that will set the preload within the specified range below and install the output shaft rear bearing shim.

      SST
      09564-33010
      Preload
      3.66 to 5.18 N*m (37 to 53 kgf*cm, 32 to 46 in.*lbf)
      Output Shaft Rear Bearing Shim Thickness:
      Mark Thickness mm (in.) Mark Thickness mm (in.) Mark Thickness mm (in.)
      A

      1.79 to 1.81

      (0.0705 to 0.0713)

      G

      2.09 to 2.11

      (0.0823 to 0.0831)

      N

      2.39 to 2.41

      (0.0941 to 0.0949)

      B

      1.84 to 1.86

      (0.0724 to 0.0732)

      H

      2.14 to 2.16

      (0.0843 to 0.0850)

      P

      2.44 to 2.46

      (0.0961 to 0.0969)

      C

      1.89 to 1.91

      (0.0744 to 0.0752)

      J

      2.19 to 2.21

      (0.0862 to 0.0870)

      Q

      2.49 to 2.51

      (0.0980 to 0.0988)

      D

      1.94 to 1.96

      (0.0764 to 0.0772)

      K

      2.24 to 2.26

      (0.0882 to 0.0890)

      R

      2.54 to 2.56

      (0.1000 to 0.1008)

      E

      1.99 to 2.01

      (0.0783 to 0.0791)

      L

      2.29 to 2.31

      (0.0902 to 0.0909)

      S

      2.59 to 2.61

      (0.1020 to 0.1028)

      F

      2.04 to 2.06

      (0.0803 to 0.0811)

      M

      2.34 to 2.36

      (0.0921 to 0.0929)

      T

      2.64 to 2.66

      (0.1039 to 0.1047)

    5. Remove the 6 bolts from the manual transmission case.

    6. Remove the 12 bolts from the front transaxle case.

    7. Remove the manual transmission case from the front transaxle case.

    8. Remove the No. 2 output shaft assembly from the front transaxle case.

    9. Remove the differential gear assembly from the front transaxle case.

  17. INSTALL TRANSMISSION MAGNET


    1. A01LV2E

      Clean and reinstall the transmission magnet to the front transaxle case.

  18. INSTALL DIFFERENTIAL GEAR ASSEMBLY


    1. A01LZ6B

      Coat the front differential case tapered roller bearings with gear oil and install the differential gear assembly to the front transaxle case.

  19. INSTALL TRANSMISSION OIL SEPARATOR


    1. A01M2VO

      Install the transmission oil separator to the front transaxle case with the 2 bolts.

      Torque:
      8.5 N*m  { 87 kgf*cm, 75 in.*lbf }
  20. INSTALL INPUT SHAFT, NO. 1 OUTPUT SHAFT AND NO. 2 OUTPUT SHAFT


    1. A01LV1E

      Install the input shaft assembly, No. 1 output shaft assembly and No. 2 output shaft assembly at the same time.

  21. INSTALL REVERSE IDLER GEAR


    1. Clean and degrease the installation holes in the reverse idler gear shaft.

    2. A01M11UC01
      *1 Reverse Idler Gear
      *2 Needle Roller Bearing
      *3 Reverse Idler Thrust Washer
      *4 Reverse Idler Gear Shaft

      Coat the reverse idler gear, needle roller bearing, and reverse idler thrust washer with MP grease, and install them to the reverse idler gear shaft.

      Tech Tips

      Make sure that the protruding part on the reverse idler thrust washer is fitted into the groove of the reverse idler shaft.

    3. A01LYXU

      Install the reverse idler gear shaft by sliding and lifting it.

    4. A01LWKRC01
      *a Align the mark with the hole

      Align the mark of the reverse idler gear shaft with the hole of the bolt.

  22. INSTALL REVERSE SHIFT FORK


    1. A01LZHQ

      Install the reverse shift fork to the No. 2 output shaft assembly.

  23. INSTALL NO. 3 GEAR SHIFT FORK


    1. A01LZS6

      Install the No. 3 gear shift fork to the No. 2 output shaft assembly.

  24. INSTALL 5TH AND 6TH SHIFT FORK SHAFT


    1. Clean and degrease the bolt and installation holes in the 5th and 6th shift fork shaft.

    2. A01LZFS

      Install the 5th and 6th shift fork shaft to the front transaxle case.

    3. A01LV0KC67
      *a Adhesive 1344

      Apply adhesive to 2 or 3 threads on the end of the bolt.

      Adhesive
      Toyota Genuine Adhesive 1344, Three Bond 1344 or equivalent
    4. A01M1CA

      Install the bolt to the No. 3 gear shift fork.

      Torque:
      19.6 N*m  { 200 kgf*cm, 14 ft.*lbf }
  25. INSTALL REVERSE SHIFT FORK SHAFT


    1. Clean and degrease the bolt and installation holes in the reverse shift fork shaft.

    2. A01M085

      Install the reverse shift fork shaft to the front transaxle case.

    3. A01LV0KC67
      *a Adhesive 1344

      Apply adhesive to 2 or 3 threads on the end of the bolt.

      Adhesive
      Toyota Genuine Adhesive 1344, Three Bond 1344 or equivalent
    4. A01M1Z7

      Install the bolt to the reverse shift fork.

      Torque:
      19.6 N*m  { 200 kgf*cm, 14 ft.*lbf }
  26. INSTALL SHIFT ARM


    1. A01LZ5L

      Install the shift arm to the front transaxle case.

  27. INSTALL NO. 1 GEAR SHIFT FORK


    1. A01M1XV

      Install the No. 1 gear shift fork to the No. 1 output shaft assembly.

  28. INSTALL NO. 5 GEAR SHIFT FORK SHAFT


    1. A01LXHXC01
      *1 Slotted Spring Pin
      *a Depth

      Install the No. 3 gear shift head to the No. 5 gear shift fork shaft.

    2. Using a 5 mm pin punch and hammer, install a new slotted spring pin into the No. 3 gear shift head.

      Standard Depth
      -0.5 to 0.5 mm (-0.0197 to 0.0197 in.)
    3. A01LYTV

      Install the No. 5 gear shift fork shaft to the front transaxle case.

    4. A01LWOW

      Install the shift arm to the No. 5 gear shift fork shaft.

    5. A01LWOY

      Install the pin to the shift arm.

    6. A01LXQH

      Using a brass bar and hammer, install a new E-ring to the pin.

  29. INSTALL NO. 2 GEAR SHIFT FORK


    1. A01M2VK

      Install the No. 2 gear shift fork to the No. 1 output shaft assembly.

  30. INSTALL 3RD AND 4TH SHIFT FORK SHAFT


    1. A01LZBC

      Install the No. 2 gear shift head to the 3rd and 4th shift fork shaft.

    2. Install the 3rd and 4th shift fork shaft to the front transaxle case.

    3. A01LYXPC01
      *1 Slotted Spring Pin
      *a Depth

      Using a 5 mm pin punch and hammer, install a new slotted spring pin into the No. 2 gear shift fork.

      Standard Depth
      -0.5 to 0.5 mm (-0.0197 to 0.0197 in.)
    4. A01LW9WC01
      *1 Slotted Spring Pin
      *a Depth

      Using a 5 mm pin punch and hammer, install a new slotted spring pin into the No. 2 gear shift head.

      Standard Depth
      -0.5 to 0.5 mm (-0.0197 to 0.0197 in.)
  31. INSTALL 1ST AND 2ND SHIFT FORK SHAFT


    1. Clean and degrease the bolt and installation holes in the 1st and 2nd shift fork shaft.

    2. A01LUWB

      Install the 1st and 2nd shift fork shaft to the front transaxle case.

    3. A01LV0KC67
      *a Adhesive 1344

      Apply adhesive to 2 or 3 threads on the end of the bolt.

      Adhesive
      Toyota Genuine Adhesive 1344, Three Bond 1344 or equivalent
    4. A01LUYP

      Install the bolt to the No. 1 gear shift fork.

      Torque:
      19.6 N*m  { 200 kgf*cm, 14 ft.*lbf }
  32. INSTALL TRANSMISSION OIL SEPARATOR


    1. A01LWX4

      Install the transmission oil separator to the manual transmission case with the 2 bolts.

      Torque:
      8.5 N*m  { 87 kgf*cm, 75 in.*lbf }
  33. INSTALL NO. 1 OIL RECEIVER PIPE


    1. A01M06X

      Install the No. 1 oil receiver pipe to the manual transmission case.

      Note

      Do not damage the No. 1 oil receiver pipe.

  34. INSTALL MANUAL TRANSMISSION CASE


    1. Remove any remaining seal packing from the contact surfaces of the manual transmission case and front transaxle case.

      Note

      Make sure that there is no manual transaxle oil on the contact surfaces.

    2. A01M3HCC03
      *a FIPG

      Apply FIPG to the manual transmission case as shown in the illustration.

      FIPG
      Toyota Genuine Seal Packing 1281, Three Bond 1281 or equivalent

      Note

      Install the parts within 10 minutes of application. Otherwise, the packing (FIPG) material must be removed and reapplied.

    3. A01LXJQ

      Use 2 snap ring pliers to keep the snap rings stretched and install the manual transmission case.

    4. A01M2C8C01
      *a Service Hole
      *b 8.5 mm (0.335 in. )
      *c 9.3 mm (0.366 in. )

      Install the bolt to the No. 1 output shaft assembly and lift the bolt from the service hole as shown in the illustration. Make sure that the snap rings are positioned correctly in the bearing grooves by checking that the distances between the centers of the snap ring holes are as shown in the illustration.

    5. A01LYAN

      Install the manual transmission case to the front transaxle case with the 12 bolts.

      Torque:
      29.4 N*m  { 300 kgf*cm, 22 ft.*lbf }
    6. A01LV6B

      Install the 6 bolts to the manual transmission case.

      Torque:
      29.4 N*m  { 300 kgf*cm, 22 ft.*lbf }
  35. INSTALL REVERSE IDLER GEAR SHAFT BOLT


    1. Clean and degrease the bolt.

    2. A01LV0KC67
      *a Adhesive 1344

      Apply adhesive to 2 or 3 threads on the end of the reverse idler gear shaft bolt.

      Adhesive
      Toyota Genuine Adhesive 1344, Three Bond 1344 or equivalent
    3. A01M3HS

      Install the reverse idler gear shaft bolt and a new gasket to the manual transmission case.

      Torque:
      80 N*m  { 816 kgf*cm, 59 ft.*lbf }
  36. INSTALL SHIFT DETENT BALL


    1. Clean and degrease the 4 detent ball plugs and installation holes in the manual transmission case.

    2. A01LV4AC02
      *a Adhesive 1344

      Apply adhesive to 2 or 3 threads on the ends of 4 detent ball plugs.

      Adhesive
      Toyota Genuine Adhesive 1344, Three Bond 1344 or equivalent
    3. A01M0GUC01
      *1 Shift Detent Ball
      *2 Spring
      *3 Spring Seat

      Install the 4 shift detent balls, 4 springs, 4 spring seats and 4 detent ball plugs to the front transaxle case using a 6 mm hexagon wrench.

      Torque:
      22.4 N*m  { 228 kgf*cm, 17 ft.*lbf }
  37. INSTALL MANUAL TRANSMISSION CASE PLUG


    1. Remove any remaining seal packing from the contact surfaces of the manual transmission case.

      Note

      Make sure that there is no manual transaxle oil on the contact surfaces.

    2. Clean and degrease the 2 manual transmission case plugs and installation holes in the manual transmission case.

    3. A01LXEXC02
      *a FIPG
      *b Manual Transmission Case Plug (A)
      *c Manual Transmission Case Plug (B)

      Apply FIPG to the manual transmission case as shown in the illustration.

      FIPG
      Toyota Genuine Seal Packing 1281, Three Bond 1281 or equivalent

      Note

      Install the parts within 10 minutes of application. Otherwise, the packing (FIPG) material must be removed and reapplied.

    4. A01LV4AE01

      Apply adhesive to 2 or 3 threads on the ends of the 2 manual transmission case plugs.

      Adhesive
      Toyota Genuine Adhesive 1344, Three Bond 1344 or equivalent
    5. Install the manual transmission case plugs to the manual transmission case.

      Torque:
      Manual Transmission Case Plug (A)
      55 N*m  { 561 kgf*cm, 41 ft.*lbf }
      Manual Transmission Case Plug (B)
      22.4 N*m  { 228 kgf*cm, 17 ft.*lbf }
  38. INSTALL O-RING


    1. A01M0Y7C02
      *1 O-ring
      *2 Shift and Select Pin

      Coat a new O-ring with the MP grease, and install it to the shift and select pin.

  39. INSTALL SHIFT AND SELECT PIN


    1. A01LZ0GC01
      *a Press and hold
      *b Push in the shift and select pin

      Install the spring.

    2. While pressing in the shift and select pin in as far as it will go, push in the shift and select pin to install it.

  40. INSTALL MANUAL TRANSMISSION FILLER PLUG


    1. A01LVV4

      Install the manual transmission filler plug and a new gasket to the manual transmission case.

      Torque:
      39.2 N*m  { 400 kgf*cm, 29 ft.*lbf }
  41. INSTALL DRAIN PLUG


    1. A01LXAQ

      Install the drain plug and a new gasket to the front transaxle case.

      Torque:
      39.2 N*m  { 400 kgf*cm, 29 ft.*lbf }
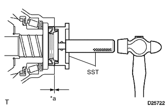
  42. INSTALL TRANSMISSION CASE OIL SEAL


    1. Coat a new transmission case oil seal lip with MP grease.

    2. A01LV2SC05
      *a Depth

      Using SST and a hammer, install the transmission case oil seal to the manual transmission case.

      SST
      09608-10010
      09950-70010   ( 09951-07200 )
      Standard Depth
      -0.5 to 0.5 mm (-0.0197 to 0.0197 in.)

      Note

      Do not damage the transmission case oil seal lip.

  43. INSTALL TRANSAXLE CASE OIL SEAL


    1. Coat a new transaxle case oil seal lip with MP grease.

    2. A01M16QC01
      *a Depth

      Using SST and a hammer, install the transaxle case oil seal to the front transaxle case.

      SST
      09608-32010
      09950-70010   ( 09951-07200 )
      Standard Depth
      -0.5 to 0.5 mm (-0.0197 to 0.0197 in.)

      Note

      Do not damage the transaxle case oil seal lip.

  44. INSTALL SHIFT AND SELECT LEVER ASSEMBLY

    Click here

  45. INSTALL SHIFT GATE PIN


    1. Clean and degrease the shift gate pin and installation holes in the manual transmission case.

    2. A01M35LC01
      *a Adhesive 1344

      Apply adhesive to 2 or 3 threads on the end of the shift gate pin.

      Adhesive
      Toyota Genuine Adhesive 1344, Three Bond 1344 or equivalent
    3. A01LXUJ

      Install the shift gate pin to the manual transmission case.

      Torque:
      30 N*m  { 306 kgf*cm, 22 ft.*lbf }
  46. INSTALL NO. 2 LOCK BALL ASSEMBLY


    1. Clean and degrease the No. 2 lock ball assembly and installation holes in the manual transmission case.

    2. A01M3G9C01
      *a Adhesive 1344

      Apply adhesive to 2 or 3 threads on the end of the No. 2 lock ball assembly.

      Adhesive
      Toyota Genuine Adhesive 1344, Three Bond 1344 or equivalent
    3. A01LWO7

      Install the No. 2 lock ball assembly to the manual transmission case.

      Torque:
      29.4 N*m  { 300 kgf*cm, 22 ft.*lbf }
  47. INSTALL NO. 1 LOCK BALL ASSEMBLY


    1. Clean and degrease the No. 1 lock ball assembly and installation holes in the manual transmission case.

    2. A01M3G9C01
      *a Adhesive 1344

      Apply adhesive to 2 or 3 threads on the end of the No. 1 lock ball assembly.

      Adhesive
      Toyota Genuine Adhesive 1344, Three Bond 1344 or equivalent
    3. A01M2UR

      Install the No. 1 lock ball assembly to the manual transmission case.

      Torque:
      39.2 N*m  { 400 kgf*cm, 29 ft.*lbf }
  48. INSTALL NEUTRAL POSITION SWITCH


    1. A01LVL4N01

      Using SST, install the neutral position switch and a new gasket to the manual transmission case.

      SST
      09816-30010
      Torque:
      40.2 N*m  { 410 kgf*cm, 30 ft.*lbf }
  49. INSTALL BACK-UP LIGHT SWITCH ASSEMBLY


    1. A01LXJBN01

      Using SST, install the back-up light switch assembly and a new gasket to the manual transmission case.

      SST
      09816-30010
      Torque:
      40.2 N*m  { 410 kgf*cm, 30 ft.*lbf }
  50. INSTALL SELECTING BELL CRANK ASSEMBLY


    1. A01M2XT

      Install the selecting bell crank assembly to the manual transmission case with the 2 bolts.

      Torque:
      20 N*m  { 204 kgf*cm, 15 ft.*lbf }
  51. INSTALL CONTROL CABLE BRACKET


    1. A01M1JR

      Install the control cable bracket to the manual transmission case with the 3 bolts.

      Torque:
      17 N*m  { 173 kgf*cm, 13 ft.*lbf }
  52. INSTALL CLUTCH RELEASE FORK BOOT

    Click here

  53. INSTALL RELEASE FORK SUPPORT

    Click here

  54. INSTALL CLUTCH RELEASE BEARING ASSEMBLY

    Click here

  55. INSTALL CLUTCH RELEASE FORK SUB-ASSEMBLY

    Click here