SFI SYSTEM MIL Circuit

DESCRIPTION

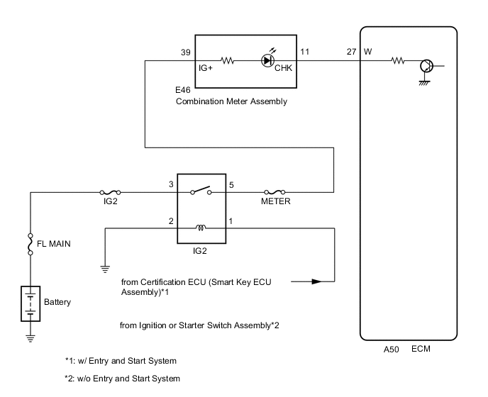
The MIL (Malfunction Indicator Lamp) is used to indicate vehicle malfunctions detected by the ECM. When the ignition switch is turned to ON, power is supplied to the MIL circuit, and the ECM provides the circuit ground which illuminates the MIL.

The MIL operation can be checked visually: When the ignition switch is turned to ON, the MIL should be illuminated and should turn off after engine is started. If the MIL remains illuminated or is not illuminated, conduct the following troubleshooting procedure using the GTS.

WIRING DIAGRAM

A01TDOEE03

CAUTION / NOTICE / HINT

Note

Inspect the fuses for circuits related to this system before performing the following procedure.

PROCEDURE


  1. CHECK THAT MIL IS ILLUMINATED


    1. Perform troubleshooting in accordance with the table below.

      Result
      Result Proceed to
      MIL remains on A
      MIL does not illuminate B

    B
    A
  2. CHECK WHETHER DTC OUTPUT RECURS


    1. Connect the GTS to the DLC3.

    2. Turn the ignition switch to ON.

    3. Turn the GTS on.

    4. Enter the following menus: Powertrain / Engine and ECT / Trouble Codes.


      Powertrain > Engine and ECT > Trouble Codes
    5. Check if any DTCs have been detected. Note down any DTCs.

      Result
      Result Proceed to
      No DTC detected A
      Any DTCs detected B

      Tech Tips

      Check for detected DTCs output from other ECUs which relate to the MIL.


    B
    A
  3. CHECK HARNESS AND CONNECTOR (CHECK FOR SHORT IN WIRE HARNESS)


    1. Disconnect the A50 ECM connector.

    2. Turn the ignition switch to ON.

    3. Check that the MIL is not illuminated.

      OK
      MIL is not illuminated.
      Result
      Proceed to
      OK
      NG

    OK
    NG
  4. CHECK HARNESS AND CONNECTOR (COMBINATION METER ASSEMBLY - ECM)


    1. Disconnect the combination meter assembly connector.

    2. Disconnect the ECM connector.

    3. Measure the resistance according to the value(s) in the table below.

      Standard Resistance
      Tester Connection Condition Specified Condition
      E46-11 (CHK) or A50-27 (W) - Body ground Always 10 kΩ or higher
      Result
      Proceed to
      OK
      NG

    OK
    NG
  5. CHECK THAT MIL IS ILLUMINATED


    1. Check if the MIL is illuminated when the ignition switch is turned to ON.

      OK
      MIL should be illuminated.
      Result
      Proceed to
      OK
      NG

    OK
    NG
  6. CHECK THAT ENGINE STARTS


    1. Turn the ignition switch to ON.

    2. Start the engine.

      Result
      Result Proceed to
      Engine starts A
      Engine does not start* B

      Tech Tips

      *: The GTS cannot communicate with the ECM.


    B
    A
  7. CHECK HARNESS AND CONNECTOR (COMBINATION METER ASSEMBLY - ECM)


    1. Disconnect the combination meter assembly connector.

    2. Disconnect the ECM connector.

    3. Measure the resistance according to the value(s) in the table below.

      Standard Resistance
      Tester Connection Condition Specified Condition
      E46-11 (CHK) - A50-27 (W) Always Below 1 Ω
      Result
      Proceed to
      OK
      NG

    OK
    NG