OUTER REAR VIEW MIRROR INSPECTION

PROCEDURE


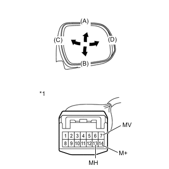
  1. INSPECT OUTER REAR VIEW MIRROR ASSEMBLY LH

    A002OVCE05
    Text in Illustration
    *1

    Component without harness connected

    (Outer Rear View Mirror Assembly LH)


    1. Check the operation of the mirror surface.


      1. Disconnect the outer rear view mirror assembly LH connector.

      2. Apply battery voltage and check the operation of the mirror.

        OK
        Measurement Condition Specified Condition

        Battery positive (+) → Terminal 7 (MV)

        Battery negative (-) → Terminal 14 (M+)

        Turns upward (A)

        Battery negative (-) → Terminal 7 (MV)

        Battery positive (+) → Terminal 14 (M+)

        Turns downward (B)

        Battery positive (+) → Terminal 13 (MH)

        Battery negative (-) → Terminal 14 (M+)

        Turns left (C)

        Battery negative (-) → Terminal 13 (MH)

        Battery positive (+) → Terminal 14 (M+)

        Turns right (D)

        If the result is not as specified, replace the outer rear view mirror assembly LH.

    2. Check the operation of the retractable mirror.

      Note


      • Disconnect and reconnect the battery between each mirror position check.

      • The mirror position cannot be changed manually when the battery is connected. To change the mirror position manually, the battery must be disconnected first.


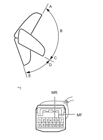
      1. A002O4HE05
        Text in Illustration
        *1

        Component without harness connected

        (Outer Rear View Mirror Assembly LH)

        Disconnect the outer rear view mirror assembly LH connector.

      2. For each position: Disconnect the battery, set the mirror position by hand, connect the battery, and check the retractable mirror's movement.

        OK
        Measurement Condition Mirror Position Specified Condition

        Battery positive (+) - Terminal 5 (MR)

        Battery negative (-) - Terminal 6 (MF)

        Forward position A Moves from A to retracted position E

        Battery positive (+) - Terminal 6 (MF)

        Battery negative (-) - Terminal 5 (MR)

        Forward position A Does not move

        Battery positive (+) - Terminal 5 (MR)

        Battery negative (-) - Terminal 6 (MF)

        Position between forward position A and driving position C Moves from B to retracted position E

        Battery positive (+) - Terminal 6 (MF)

        Battery negative (-) - Terminal 5 (MR)

        Position between forward position A and driving position C Moves from B to forward position A

        Battery positive (+) - Terminal 5 (MR)

        Battery negative (-) - Terminal 6 (MF)

        Driving position C Moves from C to retracted position E

        Battery positive (+) - Terminal 6 (MF)

        Battery negative (-) - Terminal 5 (MR)

        Driving position C Does not move

        Battery positive (+) - Terminal 5 (MR)

        Battery negative (-) - Terminal 6 (MF)

        Position between driving position C and retracted position E Moves from D to retracted position E

        Battery positive (+) - Terminal 6 (MF)

        Battery negative (-) - Terminal 5 (MR)

        Position between driving position C and retracted position E Moves from D to driving position C

        Battery positive (+) - Terminal 5 (MR)

        Battery negative (-) - Terminal 6 (MF)

        Retracted position E Does not move

        Battery positive (+) - Terminal 6 (MF)

        Battery negative (-) - Terminal 5 (MR)

        Retracted position E Moves from E to driving position C

        If the result is not as specified, replace the outer rear view mirror assembly LH.

    3. A002LKXE01
      Text in Illustration
      *1

      Component without harness connected

      (Outer Rear View Mirror Assembly LH)

      Check the operation of the mirror heater.


      1. Disconnect the outer rear view mirror assembly LH connector.

      2. Measure the resistance according to the value(s) in the table below.

        Standard Resistance
        Tester Connection Condition Specified Condition
        Terminal 8 (+) - Terminal 9 (-) 25°C (77°F) 13.4 Ω

        If the result is not as specified, check the mirror sub-assembly LH Click here.

        If the result is not as specified, replace the outer rear view mirror assembly LH.

      3. Apply battery voltage and check the operation of the mirror heater.

        OK
        Measurement Condition Specified Condition

        Battery positive (+) → Terminal 8 (+)

        Battery negative (-) → Terminal 9 (-)

        Mirror becomes warm

        Tech Tips

        It will take a short amount of time for the mirror to become warm.

        If the result is not as specified, check the mirror sub-assembly LH Click here.

        If the result is not as specified, replace the outer rear view mirror assembly LH.

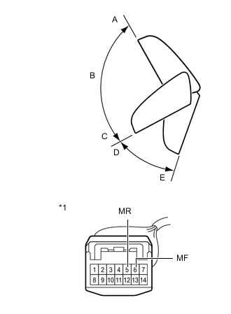
  2. INSPECT OUTER REAR VIEW MIRROR ASSEMBLY RH

    A002ML1E06
    Text in Illustration
    *1

    Component without harness connected

    (Outer Rear View Mirror Assembly RH)


    1. Check the operation of the mirror surface.


      1. Disconnect the outer rear view mirror assembly RH connector.

      2. Apply battery voltage and check the operation of the mirror.

        OK
        Measurement Condition Specified Condition

        Battery positive (+) → Terminal 7 (MV)

        Battery negative (-) → Terminal 14 (M+)

        Turns upward (A)

        Battery negative (-) → Terminal 7 (MV)

        Battery positive (+) → Terminal 14 (M+)

        Turns downward (B)

        Battery positive (+) → Terminal 13 (MH)

        Battery negative (-) → Terminal 14 (M+)

        Turns left (C)

        Battery negative (-) → Terminal 13 (MH)

        Battery positive (+) → Terminal 14 (M+)

        Turns right (D)

        If the result is not as specified, replace the outer rear view mirror assembly RH.

    2. Check the operation of the retractable mirror.

      Note


      • Disconnect and reconnect the battery between each mirror position check.

      • The mirror position cannot be changed manually when the battery is connected. To change the mirror position manually, the battery must be disconnected first.


      1. A002OBYE04
        Text in Illustration
        *1

        Component without harness connected

        (Outer Rear View Mirror Assembly RH)

        Disconnect the outer rear view mirror assembly RH connector.

      2. For each position: Disconnect the battery, set the mirror position by hand, connect the battery, and check the retractable mirror's movement.

        OK
        Measurement Condition Mirror Position Specified Condition

        Battery positive (+) - Terminal 5 (MR)

        Battery negative (-) - Terminal 6 (MF)

        Forward position A Moves from A to retracted position E

        Battery positive (+) - Terminal 6 (MF)

        Battery negative (-) - Terminal 5 (MR)

        Forward position A Does not move

        Battery positive (+) - Terminal 5 (MR)

        Battery negative (-) - Terminal 6 (MF)

        Position between forward position A and driving position C Moves from B to retracted position E

        Battery positive (+) - Terminal 6 (MF)

        Battery negative (-) - Terminal 5 (MR)

        Position between forward position A and driving position C Moves from B to forward position A

        Battery positive (+) - Terminal 5 (MR)

        Battery negative (-) - Terminal 6 (MF)

        Driving position C Moves from C to retracted position E

        Battery positive (+) - Terminal 6 (MF)

        Battery negative (-) - Terminal 5 (MR)

        Driving position C Does not move

        Battery positive (+) - Terminal 5 (MR)

        Battery negative (-) - Terminal 6 (MF)

        Position between driving position C and retracted position E Moves from D to retracted position E

        Battery positive (+) - Terminal 6 (MF)

        Battery negative (-) - Terminal 5 (MR)

        Position between driving position C and retracted position E Moves from D to driving position C

        Battery positive (+) - Terminal 5 (MR)

        Battery negative (-) - Terminal 6 (MF)

        Retracted position E Does not move

        Battery positive (+) - Terminal 6 (MF)

        Battery negative (-) - Terminal 5 (MR)

        Retracted position E Moves from E to driving position C

        If the result is not as specified, replace the outer rear view mirror assembly RH.

    3. A002MDVE01
      Text in Illustration
      *1

      Component without harness connected

      (Outer Rear View Mirror Assembly RH)

      Check the mirror heater.


      1. Measure the resistance according to the value(s) in the table below.

        Standard Resistance
        Tester Connection Condition Specified Condition
        Terminal 8 (+) - Terminal 9 (-) 25°C (77°F) 13.4 Ω

        If the result is not as specified, check the mirror sub-assembly RH Click here.

        If the result is not as specified, replace the outer rear view mirror assembly RH.

      2. Apply battery voltage and check the operation of the mirror heater.

        OK
        Measurement Condition Specified Condition

        Battery positive (+) → Terminal 8 (+)

        Battery negative (-) → Terminal 9 (-)

        Mirror becomes warm

        Tech Tips

        It will take a short amount of time for the mirror to become warm.

        If the result is not as specified, check the mirror sub-assembly RH Click here.

        If the result is not as specified, replace the outer rear view mirror assembly RH.