BACK DOOR SUPPORT DISPOSAL

CAUTION / NOTICE / HINT

Tech Tips


  • Use the same procedure for the RH and LH sides.

  • The procedure listed below is for the LH side.

PROCEDURE


  1. DISPOSE OF BACK DOOR STAY ASSEMBLY LH


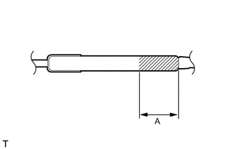
    1. A002NE0E02

      Horizontally fix the stay in a vise with the piston-rod pulled out.

    2. Using a metal saw, gradually cut anywhere in the area labeled A to release the gas.

      Standard
      Area Specified Condition
      A 80 mm (3.15 in.)

      CAUTION:

      As metal debris may be blown outward by the gas, you must:


      • Wear protective glasses.

      • Cover the area being cut.

      Note

      The gas inside the back door stay is colorless, odorless and harmless. As there is a possibility that metal debris could scatter, cover the back door stay with a piece of cloth or other material.