РАЗДАТОЧНАЯ КОРОБКА В СБОРЕ ПРОВЕРКА

ПОРЯДОК ВЫПОЛНЕНИЯ


  1. ПРОВЕРЬТЕ ПЕРВИЧНЫЙ ВАЛ РАЗДАТОЧНОЙ КОРОБКИ


    1. A01WWQ2

      С помощью микрометра измерьте диаметр поверхности шейки первичного вала.

      Минимально допустимый диаметр
      68 мм (2,68 дюйма)

      Если диаметр меньше минимально допустимого, замените первичный вал.

    2. A01WQIO

      С помощью индикатора часового типа измерьте внутренний диаметр втулки первичного вала.

      Максимальный внутренний диаметр
      46 мм (1,81 дюйма)

      Если внутренний диаметр превышает максимально допустимый, замените первичный вал.

  2. ОСМОТРИТЕ ПЛАНЕТАРНУЮ ПЕРЕДАЧУ НИЗШЕЙ СТУПЕНИ РАЗДАТОЧНОЙ КОРОБКИ В СБОРЕ


    1. A01WRX2

      С помощью комплекта плоских щупов измерьте осевой зазор ведущей шестерни.

      Номинальный зазор
      0,11–0,85 мм (0,00434–0,0334 дюйма)
      Максимально допустимый зазор
      0,85 мм (0,0334 дюйма)

      Если зазор превышает максимально допустимый, замените планетарную передачу низшей ступени в сборе.

    2. A01WSJ2

      С помощью индикатора часового типа измерьте радиальный зазор ведущей шестерни.

      Номинальный зазор
      0,01–0,04 мм (0,000434–0,00150 дюйма)
      Максимально допустимый зазор
      0,04 мм (0,00150 дюйма)

      Если зазор превышает максимально допустимый, замените планетарную передачу низшей ступени в сборе.

  3. ПРОВЕРЬТЕ ЗАДНИЙ ВЫХОДНОЙ ВАЛ РАЗДАТОЧНОЙ КОРОБКИ


    1. A01WU4SE02

      С помощью микрометра измерьте диаметр шеек выходного вала.

      Минимально допустимый диаметр
      Шейка Заданные условия
      А 38 мм (1,50 дюйма)
      B 42 мм (1,65 дюйма)
      C 49 мм (1,93 дюйма)

      Если диаметр меньше минимально допустимого, замените выходной вал.

  4. ОСМОТРИТЕ ВИЛКУ ПЕРЕКЛЮЧЕНИЯ ПЕРЕДАЧ РАЗДАТОЧНОЙ КОРОБКИ № 1 И СОЕДИНИТЕЛЬНУЮ МУФТУ ПЕРЕДНЕГО ПРИВОДА


    1. A01WQC6

      Используя комплект плоских щупов, измерьте зазор между вилкой переключения передач и соединительной муфтой.

      Максимально допустимый зазор
      0,8 мм (0,0315 дюйма)

      Если зазор превышает максимально допустимый, замените вилку переключения передач или соединительную муфту.

  5. ОСМОТРИТЕ ВИЛКУ ПЕРЕКЛЮЧЕНИЯ ПЕРЕДАЧ РАЗДАТОЧНОЙ КОРОБКИ № 2 И СОЕДИНИТЕЛЬНУЮ МУФТУ ВЫСШЕЙ И НИЗШЕЙ ПЕРЕДАЧ РАЗДАТОЧНОЙ КОРОБКИ


    1. A01WTXH

      Используя комплект плоских щупов, измерьте зазор между вилкой переключения передач и соединительной муфтой.

      Максимально допустимый зазор
      3,15 мм (0,124 дюйма)

      Если зазор превышает максимально допустимый, замените вилку переключения передач или соединительную муфту.

  6. ПРОВЕРЬТЕ ПРИВОД ПЕРЕКЛЮЧЕНИЯ РАЗДАТОЧНОЙ КОРОБКИ В СБОРЕ


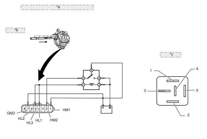
    1. Проверьте привод переключения верхнего/нижнего диапазонов раздаточной коробки.


      1. Проверьте переключение с верхнего диапазона на нижний.


        1. Подсоедините провода через реле, как показано на рисунке, и убедитесь, что вилка привода перемещается из положения верхнего диапазона в положение нижнего диапазона.

          Note


          • Перед данной проверкой необходимо снять привод с автомобиля. Выполнение проверки с установленным в автомобиль приводом приведет к повреждению привода.

          • Провода, используемые для управления приводом во время проверки, должны быть подключены через реле. Если провода подключены не через реле, и напряжение аккумуляторной батареи подается в привод непосредственно, привод будет поврежден.

          Tech Tips

          Для выполнения описанных выше действий следует использовать реле DEFOG.

          A01WU7EE04
          *a Устройство с неподсоединенным жгутом проводов: (привод переключения верхнего/нижнего диапазонов раздаточной коробки)
          *b Верхний → нижний:
          *c Реле DEFOG:
        2. После переключения с верхнего диапазона на нижний проверьте датчик нейтрального положения и концевой выключатель.


          1. Измерьте сопротивление в соответствии со значениями, приведенными в таблице ниже.

            Номинальное сопротивление
            Подключение диагностического прибора Условие Заданные условия
            4 (HL1) - 7 (GND) После переключения с верхнего диапазона на нижний 10 кОм или более
            5 (HL3) - 7 (GND) После переключения с верхнего диапазона на нижний 10 кОм или более
            6 (HL2) - 7 (GND) После переключения с верхнего диапазона на нижний Менее 1 Ом

            В случае неисправности замените привод переключения раздаточной коробки в сборе.

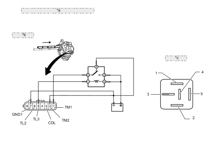
      2. Проверьте переключение с нижнего диапазона на верхний.


        1. Подсоедините провода через реле, как показано на рисунке, и убедитесь, что вилка привода перемещается из положения нижнего диапазона в положение верхнего диапазона.

          Note


          • Перед данной проверкой необходимо снять привод с автомобиля. Выполнение проверки с установленным в автомобиль приводом приведет к повреждению привода.

          • Провода, используемые для управления приводом во время проверки, должны быть подключены через реле. Если провода подключены не через реле, и напряжение аккумуляторной батареи подается в привод непосредственно, привод будет поврежден.

          Tech Tips

          Для выполнения описанных выше действий следует использовать реле DEFOG.

          A01WW1VE04
          *a Устройство с неподсоединенным жгутом проводов: (привод переключения верхнего/нижнего диапазонов раздаточной коробки)
          *b Верхний ← нижний:
          *c Реле DEFOG:
        2. После переключения с нижнего диапазона на верхний проверьте датчик нейтрального положения и концевой выключатель.


          1. Измерьте сопротивление в соответствии со значениями, приведенными в таблице ниже.

            Номинальное сопротивление
            Подключение диагностического прибора Условие Заданные условия
            4 (HL1) - 7 (GND) После переключения с нижнего диапазона на верхний Менее 1 Ом
            5 (HL3) - 7 (GND) После переключения с нижнего диапазона на верхний 10 кОм или более
            6 (HL2) - 7 (GND) После переключения с нижнего диапазона на верхний 10 кОм или более

            В случае неисправности замените привод переключения раздаточной коробки в сборе.

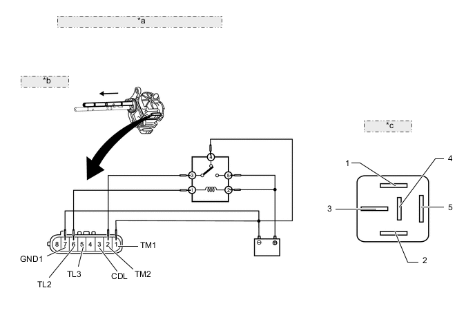
    2. Проверьте привод блокировки межосевого дифференциала.


      1. Проверьте переключение из свободного состояния в состояние блокировки.


        1. Подсоедините провода через реле, как показано на рисунке, и убедитесь, что вилка привода перемещается из свободного положения в положение блокировки.

          Note


          • Перед данной проверкой необходимо снять привод с автомобиля. Выполнение проверки с установленным в автомобиль приводом приведет к повреждению привода.

          • Провода, используемые для управления приводом во время проверки, должны быть подключены через реле. Если провода подключены не через реле, и напряжение аккумуляторной батареи подается в привод непосредственно, привод будет поврежден.

          Tech Tips

          Для выполнения описанных выше действий следует использовать реле DEFOG.

          A01WSSLE08
          *a Устройство с неподсоединенным жгутом проводов: (привод блокировки межосевого дифференциала)
          *b Свободен → заблокирован:
          *c Реле DEFOG:
        2. После переключения из свободного состояния в состояние блокировки проверьте датчик блокировки межосевого дифференциала и концевой выключатель.


          1. Измерьте сопротивление в соответствии со значениями, приведенными в таблице ниже.

            Номинальное сопротивление
            Подключение диагностического прибора Условие Заданные условия
            3 (CDL) - 7 (GND1) После переключения из свободного состояния в состояние блокировки Менее 1 Ом
            5 (TL3) - 7 (GND) После переключения из свободного состояния в состояние блокировки 10 кОм или более
            6 (TL2) - 7 (GND1) После переключения из свободного состояния в состояние блокировки Менее 1 Ом

            В случае неисправности замените привод переключения раздаточной коробки в сборе.

      2. Проверьте переключение из состояния блокировки в свободное состояние.


        1. Подсоедините провода через реле, как показано на рисунке, и убедитесь, что вилка привода перемещается из положения блокировки в свободное положение.

          Note


          • Перед данной проверкой необходимо снять привод с автомобиля. Выполнение проверки с установленным в автомобиль приводом приведет к повреждению привода.

          • Провода, используемые для управления приводом во время проверки, должны быть подключены через реле. Если провода подключены не через реле, и напряжение аккумуляторной батареи подается в привод непосредственно, привод будет поврежден.

          Tech Tips

          Для выполнения описанных выше действий следует использовать реле DEFOG.

          A01WSSPE08
          *a Устройство с неподсоединенным жгутом проводов: (привод блокировки межосевого дифференциала)
          *b Свободен ← заблокирован:
          *c Реле DEFOG:
        2. После переключения из состояния блокировки в свободное состояние проверьте датчик блокировки межосевого дифференциала и концевой выключатель.


          1. Измерьте сопротивление в соответствии со значениями, приведенными в таблице ниже.

            Номинальное сопротивление
            Подключение диагностического прибора Условие Заданные условия
            3 (CDL) - 7 (GND1) После переключения из состояния блокировки в свободное состояние 10 кОм или более
            5 (TL3) - 7 (GND1) После переключения из состояния блокировки в свободное состояние Менее 1 Ом
            6 (TL2) - 7 (GND1) После переключения из состояния блокировки в свободное состояние 10 кОм или более

            В случае неисправности замените привод переключения раздаточной коробки в сборе.

    3. для моделей с датчиком температуры:

      Проверьте датчик температуры.


      1. A01WQCHE02
        Обозначения на рисунке
        *a

        Устройство с неподсоединенным жгутом проводов

        (Датчик температуры)

        Измерьте сопротивление в соответствии со значениями, приведенными в таблице ниже.

        Номинальное сопротивление
        Подключение диагностического прибора Условие Заданные условия
        1 (TT) - масса Всегда 10 кОм или более
        2 (TGND) - масса Всегда 10 кОм или более

        Если результат не соответствует требованиям, замените привод переключения раздаточной коробки в сборе.

      2. Подогревая привод переключения раздаточной коробки в сборе, измерьте сопротивление в соответствии со значениями, представленным в таблице ниже.

        Номинальное сопротивление
        Подключение диагностического прибора Температура Заданные условия
        1 (TT) - 2 (TGND) 10°C (50°F) 3,61 кОм
        20°C (68°F) 2,38 кОм
        30°C (86°F) 1,61 кОм

        Если результат не соответствует требованиям, замените привод переключения раздаточной коробки в сборе.