ТОПЛИВНЫЙ НАСОС СНЯТИЕ

ПОРЯДОК ВЫПОЛНЕНИЯ


  1. СНИМИТЕ ТОПЛИВНЫЙ БАК В СБОРЕ


    1. Снимите топливный бак в сборе.

      Нажмите здесь Click here

  2. СНИМИТЕ ТОПЛИВОЗАБОРНИК С БЕНЗОНАСОСОМ И ДАТЧИКОМ УРОВНЯ ТОПЛИВА В СБОРЕ

    Note

    Закройте разъем топливозаборника с насосом и датчиком уровня топлива в сборе виниловой лентой, чтобы исключить попадание посторонних веществ. Затем, прежде чем продолжать работу, удалите грязь и другие посторонние вещества.


    1. A01WPOZC01
      *a Контрольная метка для предотвращения одновременного проворачивания
      B0018FC Передняя сторона автомобиля

      Нанесите контрольную метку для предотвращения одновременного проворачивания на топливозаборник с бензонасосом и датчиком уровня топлива в сборе и топливный бак в сборе.

      Note


      • Вырез топливного бака в сборе соединяется с выступом на топливозаборнике с бензонасосом и датчиком уровня топлива в сборе.

      • Если не обеспечить плотное крепление топливозаборника с бензонасосом и датчиком уровня топлива в сборе к топливному баку в сборе, и крепежная деталь датчика топливного насоса будет проворачиваться, то топливозаборник с бензонасосом и датчиком уровня топлива в сборе будет проворачиваться вместе с ней, что приведет к повреждению как топливозаборника с бензонасосом и датчиком уровня топлива в сборе, так и топливного бака в сборе.

      • Обязательно нанесите контрольную метку для предотвращения одновременного проворачивания, чтобы исключить одновременное проворачивание топливозаборника с бензонасосом и датчиком уровня топлива в сборе.

    2. A01WPERC01
      *1 Крепежная деталь датчика топливного насоса
      *a SST (комплект захватов)
      *b Ребро
      *c Вырез
      *d Точка неправильной установки SST (комплект захватов) (метка начальной точки поворота крепежной детали датчика топливного насоса)

      Установите 4 SST (комплекта захватов) на крепежную деталь датчика топливного насоса и временно закрепите их.

      SST
      09808-14031   ( 09808-01080, 09808-01090, 09808-01100 )

      Note


      • Совместите вырез SST (комплекта захватов) с ребром крепежной детали датчика топливного насоса.

      • Не помещайте SST на метку начальной точки поворота крепежной детали датчика топливного насоса. В противном случае SST (комплект захватов) будет установлен неправильно.

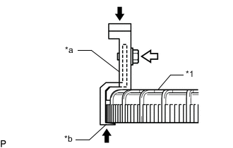
    3. A01WQ3DC02
      *1 Крепежная деталь датчика топливного насоса
      *a Специальный инструмент (SST) (комплект захватов)
      *b Крепление
      B0018FC Нажмите
      B00199O SST (болт)

      С усилием вдавливая захват SST в ребро крепежной детали датчика топливного насоса, затяните болт.

    4. A01WQB2C01
      *a SST (пластина)
      *b Специальный инструмент (SST) (комплект захватов)
      B0018FC SST (болт)

      Временно установите SST (пластину) на SST (комплект захватов) с помощью 4 SST (болтов).

      SST
      09808-14031   ( 09808-01030, 09808-01090 )
    5. A01WTQFC01
      *a Центр крепежной детали датчика топливного насоса
      *b SST (пластина)
      B0018FC Передняя сторона автомобиля

      Отрегулируйте положение SST (пластины) так, чтобы установочное отверстие SST (рукоятки) было совмещено с центром крепежной детали датчика топливного насоса.

    6. A01WQ98C01
      *1 Крепежная деталь датчика топливного насоса
      *a SST (пластина)
      *b Специальный инструмент (SST) (комплект захватов)
      *c SST (болт)
      *d Ребро
      B0018FC Нажмите

      С усилием вдавливая SST (комплект захватов) в ребро крепежной детали датчика топливного насоса, затяните SST (болт).

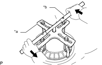
    7. A01WUWDC01
      *a SST (пластина)
      *b SST (рукоятка)
      B0018FC Ослабьте

      Установите специальный инструмент (SST) (рукоятка) на специальный инструмент (SST) (пластину).

      SST
      09808-14031   ( 09808-01010, 09808-01020 )
    8. Медленно ослабьте крепежную деталь датчика топливного насоса, повернув ее примерно на 90 градусов.

      Note


      • Не пользуйтесь другими инструментами, кроме SST, например отверткой и т. д.

      • Нажимая на SST, не прилагайте чрезмерного усилия, поскольку топливозаборник с бензонасосом и датчиком уровня топлива в сборе передает чрезмерное усилие на крепежную деталь датчика топливного насоса, в результате чего снятие будет затруднено, а детали могут получить повреждения.

      • Не пользуйтесь пневматическим ключом ударного действия и не поворачивайте рукоятку SST с чрезмерным усилием, поскольку детали могут получить повреждения.

    9. В то время как один механик медленно ослабляет крепежную деталь датчика топливного насоса, а другой прижимает топливозаборник с бензонасосом и датчиком уровня топлива в сборе, надежно закрепите выступ топливозаборника с бензонасосом и датчиком уровня топлива в сборе в канавке топливного бака в сборе, а затем снимите крепежную деталь датчика топливного насоса, убедившись в надлежащем совмещении топливозаборника с бензонасосом и датчиком уровня топлива в сборе.

      A01WR8JC01
      *a SST (пластина) *b SST (рукоятка)
      *c Механик, ослабляющий затяжку *d Механик, обеспечивающий опору
      *e Контрольная метка для предотвращения одновременного проворачивания - -

      Note


      • Топливозаборник с бензонасосом и датчиком уровня топлива в сборе снабжен пружиной, которая упирается в дно топливного бака, чтобы постоянно приподнимать топливозаборник с бензонасосом и датчиком уровня топлива в сборе.

      • Если не обеспечить плотное крепление топливозаборника с бензонасосом и датчиком уровня топлива в сборе к топливному баку в сборе, и крепежная деталь датчика топливного насоса будет проворачиваться, то топливозаборник с бензонасосом и датчиком уровня топлива в сборе будет проворачиваться вместе с ней, что приведет к повреждению как топливозаборника с бензонасосом и датчиком уровня топлива в сборе, так и топливного бака в сборе.

      • Не поворачивайте крепежную деталь датчика топливного насоса, когда контрольная метка для предотвращения одновременного проворачивания не находится на месте.

      • Не допускайте деформации рукоятки датчика уровня топлива в сборе.

    10. Снимите прокладку с топливного бака.