БЛОК ЦИЛИНДРОВ ПОВТОРНАЯ СБОРКА

ПОРЯДОК ВЫПОЛНЕНИЯ


  1. УСТАНОВИТЕ РЕЗЬБОВУЮ ШПИЛЬКУ


    1. С помощью торцевого ключа "torx" Е8 вверните резьбовые шпильки.

      B0018GWE11
      Torque:
      Для шпильки A
      20 Н*м  { 204 кгс*см, 15 фунт-сила-фута }
      Для шпильки B
      9,0 Н*м  { 92 кгс*см, 80 фунт-сила-дюймов }
  2. УСТАНОВИТЕ ШТУЦЕР ПОДАЧИ МАСЛА № 1 В СБОРЕ


    1. B0019Z0

      Установите 4 масляные форсунки № 1 и закрепите их 4 болтами с помощью торцевого ключа на 5 мм.

      Torque:
      10 Н*м  { 102 кгс*см, 7 фунт-сила-футов }
  3. УСТАНОВИТЕ ПОРШЕНЬ С ПАЛЬЦЕМ В СБОРЕ


    1. B001ARUE06
      *1 Технологическое отверстие

      С помощью небольшой отвертки установите новое стопорное кольцо с одного торца отверстия под поршневой палец.

      Tech Tips

      Зазор разреза стопорного кольца не должен совпадать с той частью поршня, где находится технологическое отверстие.

    2. B00189P

      Медленно нагрейте поршень до температуры примерно 80°C (176°F).

    3. Покройте поршневой палец и шатун моторным маслом.

    4. B001B2VE08
      *1 Метка передней стороны

      Совместите передние метки на поршне и шатуне, как показано на рисунке. Затем надавливайте на поршневой палец большим пальцем до тех пор, пока палец не соприкоснется с соединительным кольцом.

      Tech Tips

      Поршень и поршневой палец представляют собой подобранный комплект.

      Note

      Выполняя сборку с левой стороны, следите за тем, чтобы метки внешней стороны на поршне и шатуне располагались с одной стороны. Выполняя сборку с правой стороны, следите за тем, чтобы метки внешней стороны на поршне и шатуне располагались с противоположных сторон.

    5. Проверьте условия посадки поршня на поршневой палец.


      1. B0018AQ

        Подвигайте шатун взад-вперед относительно поршневого пальца. Проверьте состояние посадки.

        Если при движении ощущается сопротивление, замените поршень и палец в комплекте.

      2. Повращайте поршень вправо-влево относительно поршневого пальца. Проверьте состояние посадки.

        Если при движении ощущается сопротивление, замените поршень и палец в комплекте.

    6. B001ARUE06
      *1 Технологическое отверстие

      С помощью небольшой отвертки установите новое пружинное стопорное кольцо с другой стороны отверстия под поршневой палец.

      Tech Tips

      Зазор разреза стопорного кольца не должен совпадать с той частью поршня, где находится технологическое отверстие.

  4. УСТАНОВИТЕ НАБОР ПОРШНЕВЫХ КОЛЕЦ


    1. B00186OE13
      *1 Верхняя боковая направляющая
      *2 Нижняя боковая направляющая
      *3 Съемник маслосъемных колец

      Вручную установите расширитель, верхнюю и нижнюю направляющую маслосъемного кольца.

    2. B001ACAE06
      Обозначения на рисунке
      *1 Компрессионное кольцо № 1
      *2 Компрессионное кольцо № 2
      *3 Метка, нанесенная краской
      B0018FC Верх

      С помощью съемника поршневых колец установите компрессионные кольца № 1 и № 2 так, чтобы метки, нанесенные краской, располагались, как показано на рисунке.

      Метка, нанесенная краской
      Параметр / Устройство Метка, нанесенная краской
      Компрессионное кольцо № 1 Желтый
      Компрессионное кольцо № 2 Зеленый
  5. УСТАНОВИТЕ ПОДШИПНИК КОЛЕНЧАТОГО ВАЛА


    1. B001APZE36
      Обозначения на рисунке
      *1 Подшипники шеек № 1 и 5
      *2 Подшипники шеек № 2, 3 и 4

      Очистите коренную шейку и обе поверхности подшипника.

    2. Установите верхний подшипник коленчатого вала.

      Note

      Коренные подшипники бывают шириной 21 мм (0,827 дюйма) и 22,5 мм (0,886 дюйма). Установите подшипники 22,5 мм (0,886 дюйма) в позиции шеек № 1 и № 5 блока цилиндров вместе с крышками подшипников коленчатого вала. Установите подшипники на 21 мм (0,827 дюйма) в позиции № 2, № 3 и № 4.


      1. B0019YHE05
        Обозначения на рисунке
        *1 Смазочная канавка
        *2 Смазочное отверстие
        *a ПРАВИЛЬНО
        *b НЕПРАВИЛЬНО

        Установите верхний подшипник коленчатого вала на блок цилиндров, как показано на рисунке.

        Note


        • Не допускайте попадания моторного масла на подшипники и контактные поверхности.

        • Через отверстия масляных каналов в подшипнике коленчатого вала должны быть видны обе стороны смазочной канавки в блоке цилиндров. Длины канавки, видимые через отверстие с обеих сторон, должны быть одинаковыми.

        • Не допускайте попадания охлаждающей жидкости на внутреннюю поверхность подшипника.

        • В случае попадания охлаждающей жидкости на внутреннюю поверхность подшипника, замените подшипник коленчатого вала.

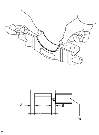
    3. B0018VQE14
      Обозначения на рисунке
      *a Штангенциркуль

      Установите нижний подшипник.

      Note


      • Следите за тем, чтобы установить соответствующие подшипники.

      • Коренные подшипники бывают шириной 21 мм (0,827 дюйма) и 22,5 мм (0,886 дюйма). Установите подшипники 22,5 мм (0,886 дюйма) в позиции шеек № 1 и № 5 блока цилиндров вместе с крышками подшипников коленчатого вала. Установите подшипники на 21 мм (0,827 дюйма) в позиции № 2, № 3 и № 4.


      1. Установите нижние подшипники в крышки подшипника коленчатого вала.

      2. С помощью штангенциркуля измерьте расстояние между кромкой крышки подшипника коленчатого вала и кромкой нижнего подшипника.

        Размер A - B или B - A
        0-0,7 мм (0-0,0276 дюйма)

        Note


        • Не допускайте попадания моторного масла на подшипники и контактные поверхности.

        • Не допускайте попадания охлаждающей жидкости на внутреннюю поверхность подшипника.

        • Если это произошло, замените подшипник.

  6. УСТАНОВИТЕ НАБОР УПОРНЫХ ШАЙБ КОЛЕНЧАТОГО ВАЛА


    1. B001AZ5

      Нанесите моторное масло на набор упорных шайб коленчатого вала.

    2. Установите 4 упорные шайбы коленчатого вала в позиции шейки № 3 блока цилиндров и крышку подшипника коленчатого вала смазочными канавками вверх.

  7. УСТАНОВИТЕ КОЛЕНЧАТЫЙ ВАЛ


    1. B0018X1E07
      *1 Метка с номером

      Нанеся моторное масло на верхний и нижний подшипники коленчатого вала, установите этот вал в блок цилиндров.

    2. Проверьте передние метки и номера на крышках подшипника коленчатого вала и установите крышки на блок цилиндров.

      Tech Tips

      На крышке каждого коренного подшипника промаркирован номер, указывающий установочную позицию.

    3. Нанесите тонкий слой моторного масла на резьбы и под головки болтов крышек подшипников.

    4. Временно вверните с внутренней стороны 10 болтов крышек подшипников коленчатого вала.

    5. B0018KDE06
      *1 Менее 6 мм
      *2 91 мм

      Рукой нажмите на крышку подшипника коленчатого вала, пока зазор между крышкой подшипника и блоком цилиндров составит не менее 6 мм (0,236 дюйма).

      Номинальная длина болта
      91 мм (3,58 дюйма)
    6. B001AUB

      С помощью молотка с пластмассовым покрытием слегка осадите крышку подшипника коленчатого вала, чтобы обеспечить ее надлежащую посадку.

    7. Нанесите тонкий слой моторного масла на резьбу и под головки 10 болтов крышек подшипников коленчатого вала.

    8. B0019XNE05
      *1 79,5 мм

      Временно вверните с наружной стороны 10 болтов крышек подшипников коленчатого вала.

      Номинальная длина болта
      79,5 мм (3,13 дюйма)

      Tech Tips

      Болты крышек коренных подшипников затягиваются в 2 последовательных этапа.

    9. Шаг 1:


      1. B001AY0E19

        Равномерно затяните 20 болтов крышек подшипников коленчатого вала в последовательности, показанной на рисунке.

        Torque:
        Внутри
        61 Н*м  { 622 кгс*см, 45 фунт-сила-футов }
        Снаружи
        27 Н*м  { 275 кгс*см, 20 фунт-сила-футов }

        Если какой-либо из болтов крышки подшипника коленчатого вала не удается затянуть с номинальным моментом, замените болт.

    10. Шаг 2:


      1. B001B2DE20
        *1 Метка, нанесенная краской
        *2 Вперед

        Отметьте внешнюю сторону болтов крышек подшипников краской.

      2. Затяните болты крышек подшипников с поворотом на 90° в той же последовательности, что и в шаге 1.

      3. Убедитесь, что нанесенные краской метки развернуты на 90° относительно исходного положения.

    11. Проверьте, чтобы коленчатый вал вращался плавно.

    12. B0019I2E07

      Равномерно в несколько приемов вверните и затяните 10 болтов крышек подшипников коленчатого вала вместе с 10 новыми уплотнительными шайбами в последовательности, показанной на рисунке.

      Torque:
      45 Н*м  { 459 кгс*см, 33 фунт-сила-фута }
    13. Проверьте, чтобы коленчатый вал вращался плавно.

  8. УСТАНОВИТЕ ПОДШИПНИК ШАТУНА

    B001AQOE01
    *1 Штангенциркуль

    1. Установите подшипники шатуна на шатуны и крышки подшипников шатунов.

    2. С помощью штангенциркуля измерьте расстояние между кромками шатунов и крышек подшипников, а также кромками всех подшипников шатунов.

      Размер A - B или B - A
      0-0,7 мм (0-0,0276 дюйма)

      Note


      • Не допускайте попадания моторного масла на подшипники и контактные поверхности.

      • Не допускайте попадания охлаждающей жидкости на внутреннюю поверхность подшипника.

      • В случае попадания охлаждающей жидкости на внутреннюю поверхность подшипника, замените подшипник шатуна.

  9. УСТАНОВИТЕ ПОРШЕНЬ И ШАТУН


    1. B001938E02

      Нанесите моторное масло на стенки цилиндра, поршни и поверхности подшипников шатуна.

    2. Расположите поршневые кольца таким образом, чтобы концы колец располагались, как показано на рисунке.

      Tech Tips

      Концы расширителя могут располагаться в любом месте.

      Note

      Не совмещайте замки колец.

    3. B0018D2E06
      *1 Метка передней стороны

      С помощью рукоятки молотка и оправки поршневых колец вставьте поршень и шатун с соответствующими номерами в цилиндр, обратив метку внешней стороны на поршне вперед.

    4. Установите крышку шатуна на шатун.


      1. B001AWYE10
        *1 Передняя сторона
        *2 Метка передней стороны

        На каждый шатун следует установить крышку с соответствующим номером.

      2. Поместите крышку шатуна на шатун и убедитесь, что метка внешней стороны на крышке шатуна обращена в направлении, указанном на рисунке ниже.

        Метка передней стороны
        Параметр / Устройство Метка передней стороны
        Ряд 1 Передняя сторона
        Ряд 2 Задняя сторона
    5. Нанесите тонкий слой моторного масла на резьбу и под головки болтов крышек шатунов.

    6. Вверните, не затягивая, болты крышки шатуна.

      Tech Tips

      Болты крышки шатуна затягиваются в 2 последовательных этапа.

    7. Шаг 1:


      1. B0018XU

        Установите и поочередно в несколько этапов затяните болты крышки шатуна.

        Torque:
        40 Н*м  { 408 кгс*см, 30 фунт-сила-футов }
    8. B0019MXE05
      *1 Передняя сторона
      *2 Метка, нанесенная краской

      Шаг 2:


      1. Краской отметьте переднюю сторону каждого болта крышки шатуна.

      2. Вновь затяните болты крышки с поворотом на 90°, как показано на рисунке, в том же порядке, что и в шаге 1.

      3. Убедитесь, что нанесенные краской метки развернуты на 90° относительно исходного положения.

    9. Убедитесь, что коленчатый вал вращается плавно.