ЗАДНИЙ КОНДИЦИОНЕР (для моделей без задней системы кондиционирования) УСТАНОВКА

ПОРЯДОК ВЫПОЛНЕНИЯ


  1. УСТАНОВИТЕ ЗАДНИЙ КОНДИЦИОНЕР В СБОРЕ

    A000VRTE01

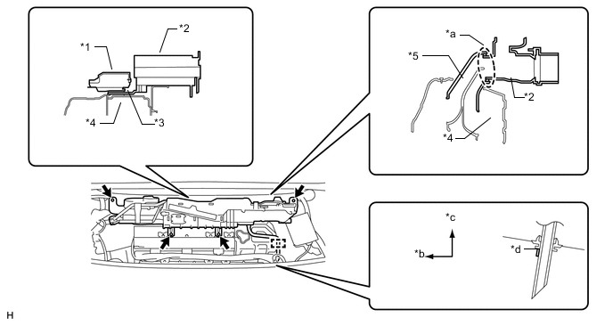
    1. Установите задний кондиционер в сборе и подсоедините сливной шланг кондиционера, как показано на рисунке.

      Обозначения на рисунке
      *1 Преобразователь постоянного тока в постоянный EPS *2 Задний кондиционер в сборе
      *3 Кронштейн для предотвращения переворачивания *4 Высоковольтная аккумуляторная батарея
      *5 Впускной воздухопровод аккумуляторной батареи гибридной системы № 1 - -
      *a Фитинг *b Передняя сторона
      *c Верх *d Метка, нанесенная белой краской
    2. Вверните 2 болта и заверните 2 гайки.

      Torque:
      9,8 Н*м  { 100 кгс*см, 87 фунт-сила-дюймов }
    3. Подсоедините разъемы и зажимы.

  2. ПОДСОЕДИНИТЕ ТРУБКУ И ОБВЯЗКУ СИСТЕМЫ КОНДИЦИОНИРОВАНИЯ В СБОРЕ

    A000UE8

    1. Нанесите необходимое количество компрессорного масла на 2 новых кольцевых уплотнения и пригоночную поверхность трубки.

      Компрессорное масло
      ND-OIL 11 или аналогичное
    2. Установите 2 кольцевых уплотнения на трубку и обвязку системы кондиционирования.

    3. Установите трубку и обвязку системы кондиционирования и закрепите их 2 болтами.

      Torque:
      9,8 Н*м  { 100 кгс*см, 87 фунт-сила-дюймов }
    4. Установите уплотнение кондиционера № 4, как показано на рисунке.


      1. Снимите отслаивающуюся бумагу A и закрепите уплотнение, начиная с маркировки на соединении блока.

      2. Протяните отслаивающуюся бумагу B через пространство между воздуховодом и соединением блока и установите уплотнение.

        A000UXAE01
        Обозначения на рисунке
        *1 Отслаивающаяся бумага A *2 Уплотнение кондиционера № 4
        *3 Отслаивающаяся бумага B *4 Соединение блока
        *a Совместите 2 кромки уплотнения с кромками соединения блока *b Надежно закрепите уплотнение на этих участках
        *c Маркировка - -
  3. УСТАНОВИТЕ ЗАДНИЙ ВОЗДУХОВОД № 4


    1. A000YYJ

      Установите задний воздуховод № 6, закрепив его 4 захватами.

  4. УСТАНОВИТЕ ЗАДНИЙ ВОЗДУХОВОД № 5


    1. A000U77

      Установите задний воздуховод № 5, закрепив его 4 захватами.

  5. УСТАНОВИТЕ ПРАВУЮ ВНУТРЕННЮЮ ОБЛИЦОВОЧНУЮ НАКЛАДКУ БАГАЖНОГО ОТДЕЛЕНИЯ

    Click here

  6. УСТАНОВИТЕ ЛЕВУЮ ВНУТРЕННЮЮ ОБЛИЦОВОЧНУЮ НАКЛАДКУ БАГАЖНОГО ОТДЕЛЕНИЯ

    Click here

  7. УСТАНОВИТЕ ОТДЕЛОЧНУЮ ПЛАСТИНУ ЗАДНЕГО ПОЛА

    Click here

  8. УСТАНОВИТЕ ПЕРЕДНЮЮ ОБЛИЦОВОЧНУЮ НАКЛАДКУ БАГАЖНОГО ОТДЕЛЕНИЯ

    Click here

  9. УСТАНОВИТЕ ЛАМПУ ОСВЕЩЕНИЯ БАГАЖНОГО ОТДЕЛЕНИЯ № 1 В СБОРЕ

    Click here

  10. УСТАНОВИТЕ ПРАВУЮ БОКОВУЮ ОБЛИЦОВОЧНУЮ ПАНЕЛЬ ПОЛКИ БАГАЖНОГО ОТДЕЛЕНИЯ

    Click here

  11. УСТАНОВИТЕ КАНАТНЫЙ КРЮК В СБОРЕ

    Click here

  12. УСТАНОВИТЕ КАНАТНЫЙ КРЮК

    Click here

  13. УСТАНОВИТЕ ПАНЕЛЬ ОБЛИЦОВКИ ОТДЕЛЕНИЯ ДЛЯ МЕЛКИХ ВЕЩЕЙ В СБОРЕ

    Click here

  14. УСТАНОВИТЕ ЛЕВУЮ ВНУТРЕННЮЮ БОКОВУЮ ОБЛИЦОВКУ КРЫШИ

    Click here

  15. УСТАНОВИТЕ ВНУТРЕННЮЮ ПРАВУЮ БОКОВУЮ ОБЛИЦОВКУ КРЫШИ

    Click here

  16. УСТАНОВИТЕ ЛЕВУЮ БОКОВУЮ НАКЛАДКУ ЗАДНЕГО СИДЕНЬЯ

    Click here

  17. УСТАНОВИТЕ ПРАВУЮ БОКОВУЮ НАКЛАДКУ ЗАДНЕГО СИДЕНЬЯ

    Click here

  18. УСТАНОВИТЕ ОПОРНУЮ НАКЛАДКУ ЛЕВОЙ ЗАДНЕЙ ДВЕРИ

    Click here

  19. УСТАНОВИТЕ ОПОРНУЮ НАКЛАДКУ ПРАВОЙ ЗАДНЕЙ ДВЕРИ

    Click here

  20. УСТАНОВИТЕ ЗАДНЕЕ СИДЕНЬЕ В СБОРЕ

    (см. стр. Click here).

  21. ПОДСОЕДИНИТЕ ПРОВОД К ОТРИЦАТЕЛЬНОМУ ВЫВОДУ ВСПОМОГАТЕЛЬНОЙ АККУМУЛЯТОРНОЙ БАТАРЕИ

    Note

    После подсоединения провода необходимо инициализировать некоторые системы (см. стр. Click here).

  22. УСТАНОВИТЕ ЛЕВУЮ КРЫШКУ ТЕХНОЛОГИЧЕСКОГО ОТВЕРСТИЯ АККУМУЛЯТОРНОЙ БАТАРЕИ

    Click here

  23. УСТАНОВИТЕ ЛЕВУЮ БОКОВУЮ ОБЛИЦОВОЧНУЮ ПАНЕЛЬ ПОЛКИ БАГАЖНОГО ОТДЕЛЕНИЯ (для моделей без запасного колеса)

    Click here

  24. УСТАНОВИТЕ ПАНЕЛЬ ПОЛКИ БАГАЖНОГО ОТДЕЛЕНИЯ В СБОРЕ (для моделей без запасного колеса)

    Click here

  25. УСТАНОВИТЕ КОВРИК БАГАЖНОГО ОТДЕЛЕНИЯ (для моделей с запасным колесом)

    Click here

  26. ДОБАВЬТЕ КОМПРЕССОРНОЕ МАСЛО

    Click here

  27. ЗАПРАВЬТЕ ХЛАДАГЕНТ

    Click here

  28. ПРОГРЕЙТЕ ДВИГАТЕЛЬ

    Click here

  29. ПРОВЕРЬТЕ, НЕТ ЛИ УТЕЧЕК ГАЗООБРАЗНОГО ХЛАДАГЕНТА

    Click here

  30. ПРОВЕРЬТЕ КОНТРОЛЬНУЮ ЛАМПУ АВАРИЙНОГО СОСТОЯНИЯ SRS


    1. Проверьте контрольную лампу аварийного состояния SRS (см. стр. Click here).