СИСТЕМА ОБРАБОТКИ И ПЕРЕДАЧИ ИНФОРМАЦИИ (для моделей с приемопередатчиком системы обработки и передачи информации кроме моделей с системой G-BOOK), Diagnostic DTC:B1573, B15CB

Код DTC Наименование DTC
B1573 Короткое замыкание в телефонной антенне в сборе
B15CB Телефонная антенна отсоединена

ОПИСАНИЕ

Данные DTC сохраняются в случае неисправности телефонной антенны.

№ DTC Неисправность Условие обнаружения DTC Неисправный участок
B1573 Короткое замыкание в телефонной антенне в сборе

Импеданс (Ом) телефонной антенны в сборе ниже порога неисправности в течение 20 с при включенном питании (IG).

(короткое замыкание)


  • Приемопередатчик системы обработки и передачи информации

  • Телефонная антенна в сборе

  • Антенный шнур № 2 в сборе

  • Антенный шнур № 3 в сборе

  • Жгут или разъем

B15CB Телефонная антенна отсоединена

Импеданс (Ом) телефонной антенны в сборе превышает порог неисправности в течение 20 с при включенном питании (IG).

(обрыв цепи)


  • Приемопередатчик системы обработки и передачи информации

  • Телефонная антенна в сборе

  • Антенный шнур № 2 в сборе

  • Антенный шнур № 3 в сборе

  • Жгут или разъем

СХЕМА ЭЛЕКТРИЧЕСКИХ СОЕДИНЕНИЙ

A000ZN0E05

ПРЕДОСТЕРЕЖЕНИЕ / ПРИМЕЧАНИЕ / УКАЗАНИЕ

Note

В зависимости от замененных деталей или операций, которые были выполнены при проверке или обслуживании автомобиля, может потребоваться инициализация, регистрация или калибровка. См. раздел "Регистрация для системы обработки и передачи информации".

Нажмите здесь Click here

ПОРЯДОК ВЫПОЛНЕНИЯ


  1. ПРОВЕРЬТЕ DTC


    1. Выключите питание.

    2. Подключите GTS к DLC3.

    3. Включите питание (IG) и подождите 20 с.

    4. Включите GTS.

    5. Проверьте коды DTC и убедитесь, что они не выводятся.

      Нажмите здесь Click here

      OK
      Коды DTC не выводятся.
      Результат
      Перейти к
      OK
      NG

    OK
    NG
  2. ПРОВЕРЬТЕ ТЕЛЕФОННУЮ АНТЕННУ В СБОРЕ


    1. A000TRUC18
      *a

      Устройство с неподсоединенным жгутом проводов

      (Телефонная антенна в сборе)

      Снимите телефонную антенну в сборе

      Нажмите здесь Click here

    2. Измерьте сопротивление в соответствии со значениями, приведенными в таблице ниже.

      Номинальное сопротивление
      Подключение диагностического прибора Условие Заданные условия
      4 - 4a Всегда 4 - 11 кОм
      Результат
      Перейти к
      OK
      NG

    NG
    OK
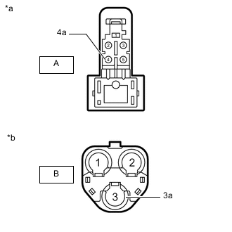
  3. ПРОВЕРЬТЕ ШНУР АНТЕННЫ № 3 В СБОРЕ


    1. A000W2OC01
      *a

      Вид спереди разъема со стороны жгута проводов:

      (к телефонной антенне в сборе)

      *b

      Вид спереди разъема со стороны жгута проводов:

      (к антенному шнуру № 2 в сборе)

      Отсоедините разъем антенны от телефонной антенны.

    2. Отсоедините разъем антенны от шнура антенны № 2 в сборе.

    3. Измерьте сопротивление в соответствии со значениями, приведенными в таблице ниже.

      Номинальное сопротивление
      Подключение диагностического прибора Условие Заданные условия
      A-4 - B-3 Всегда Менее 1 Ом
      A-4 или B-3 - масса Всегда 10 кОм или более
      A-4a - B-3a Всегда Менее 1 Ом
      A-4a или B-3a - масса Всегда 10 кОм или более
      Результат
      Следующий шаг
      OK
      NG

    NG
    OK
  4. ПРОВЕРЬТЕ ШНУР АНТЕННЫ № 2 В СБОРЕ


    1. A000YZ0C01
      *a

      Вид спереди разъема со стороны жгута проводов:

      (к антенному шнуру № 3 в сборе)

      *b

      Вид спереди разъема со стороны жгута проводов:

      (к жгуту проводов панели приборов)

      Отсоедините разъем антенны от шнура антенны № 3 в сборе.

    2. Отсоедините разъем антенны от жгута проводов панели приборов.

    3. Измерьте сопротивление в соответствии со значениями, приведенными в таблице ниже.

      Номинальное сопротивление
      Подключение диагностического прибора Условие Заданные условия
      B-3 - 1 (ANT1) Всегда Менее 1 Ом
      B-3 или 1 (ANT1) - масса Всегда 10 кОм или более
      B-3a - 1a Всегда Менее 1 Ом
      B-3a или 1a - масса Всегда 10 кОм или более
      Результат
      Перейти к
      OK
      NG

    NG
    OK
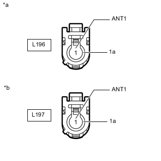
  5. ПРОВЕРЬТЕ ЖГУТ ПРОВОДОВ И РАЗЪЕМ (ШНУР АНТЕННЫ № 2 – ПРИЕМОПЕРЕДАТЧИК СИСТЕМЫ ОБРАБОТКИ И ПЕРЕДАЧИ ИНФОРМАЦИИ)


    1. A000WGGC04
      *a

      Вид спереди разъема со стороны жгута проводов:

      (к антенному шнуру № 2 в сборе)

      *b

      Вид спереди разъема со стороны жгута проводов:

      (к приемопередатчику системы обработки и передачи информации)

      Отсоедините разъем антенны от шнура антенны № 2 в сборе.

    2. Отсоедините разъем антенны от приемопередатчика системы обработки и передачи информации.

    3. Измерьте сопротивление в соответствии со значениями, приведенными в таблице ниже.

      Номинальное сопротивление
      Подключение диагностического прибора Условие Заданные условия
      L196-1 (ANT1) - L197-1 (ANT1) Всегда Менее 1 Ом
      L196-1 (ANT) или L197-1 (ANT1) - масса Всегда 10 кОм или более
      L196-1a - L197-1a Всегда Менее 1 Ом
      L196-1a или L197-1a - масса Всегда 10 кОм или более
      Результат
      Перейти к
      OK
      NG

    NG
    OK
  6. ЗАМЕНИТЕ ПРИЕМОПЕРЕДАТЧИК СИСТЕМЫ ОБРАБОТКИ И ПЕРЕДАЧИ ИНФОРМАЦИИ


    1. Замените приемопередатчик системы обработки и передачи информации новым.

      Нажмите здесь Click here

      Результат
      Следующий шаг
      ДАЛЕЕ

    ДАЛЕЕ