FRONT POWER SEAT MOTOR ASSEMBLY INSPECTION

PROCEDURE


  1. INSPECT FRONT SEAT HEADREST ADJUSTER SUB-ASSEMBLY


    1. A000YJ7E08
      Text in Illustration
      *a

      Component without harness connected

      (Front Seat Headrest Adjuster Sub-assembly)

      Check the operation of the front seat headrest adjuster sub-assembly.


      1. Apply battery voltage to the front seat headrest adjuster sub-assembly connector, and check that the front seat headrest adjuster sub-assembly operates smoothly as follows.

        OK
        Condition Specified Condition

        Battery positive (+) → 1 (HUP)

        Battery negative (-) → 5 (HDWN)

        Upward

        Battery positive (+) → 5 (HDWN)

        Battery negative (-) → 1 (HUP)

        Downward

        If the result is not as specified, replace the front seat headrest adjuster sub-assembly.

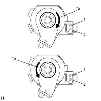
    2. A000UTOE01
      Text in Illustration
      *a Clockwise
      *b Counterclockwise

      w/ Retractable Headrest:

      Check the operation of the front seat headrest adjuster sub-assembly (headrest motor).


      1. Apply battery voltage to the front seat headrest adjuster sub-assembly (headrest motor) connector, and check that the front seat headrest adjuster sub-assembly (headrest motor) operates smoothly as follows.

        OK
        Condition Specified Condition

        Battery positive (+) → Terminal 1

        Battery negative (-) → Terminal 2

        Clockwise

        Battery positive (+) → Terminal 2

        Battery negative (-) → Terminal 1

        Counterclockwise

        If the result is not as specified, replace the front seat headrest adjuster sub-assembly (headrest motor).

  2. INSPECT FRONT SEAT ADJUSTER ASSEMBLY LH


    1. A000Y9QE01
      Text in Illustration
      *a

      Component without harness connected

      (Front Seat Adjuster Assembly LH (Slide Motor))

      Check the operation of the front seat adjuster assembly LH (slide motor).


      1. Apply battery voltage to the front seat adjuster assembly LH (slide motor) connector, and check that the front seat adjuster assembly LH (slide motor) operates smoothly as follows.

        OK
        Condition Specified Condition

        Battery positive (+) → 4 (FWD)

        Battery negative (-) → 3 (BACK)

        Forward

        Battery positive (+) → 3 (BACK)

        Battery negative (-) → 4 (FWD)

        Backward

        If the result is not as specified, replace the front seat adjuster assembly LH (slide motor).

    2. A000Y9QE02
      Text in Illustration
      *a

      Component without harness connected

      (Front Seat Adjuster Assembly LH (Vertical Motor))

      Check the operation of the front seat adjuster assembly LH (vertical motor).


      1. Apply battery voltage to the front seat adjuster assembly LH (vertical motor) connector, and check that the front seat adjuster assembly LH (vertical motor) operates smoothly as follows.

        OK
        Condition Specified Condition

        Battery positive (+) → 3 (UP)

        Battery negative (-) → 4 (DOWN)

        Upward

        Battery positive (+) → 4 (DOWN)

        Battery negative (-) → 3 (UP)

        Downward

        If the result is not as specified, replace the front seat adjuster assembly LH (vertical motor).

    3. A000Y9QE03
      Text in Illustration
      *a

      Component without harness connected

      (Front Seat Adjuster Assembly LH (Cushion Length Adjustment Motor))

      Check the operation of the front seat adjuster assembly LH (cushion length adjustment motor).


      1. Apply battery voltage to the front seat adjuster assembly LH (cushion length adjustment motor) connector, and check that the front seat adjuster assembly LH (cushion length adjustment motor) operates smoothly as follows.

        OK
        Condition Specified Condition

        Battery positive (+) → 3 (FWD)

        Battery negative (-) → 4 (BACK)

        Forward

        Battery positive (+) → 4 (BACK)

        Battery negative (-) → 3 (FWD)

        Backward

        If the result is not as specified, replace the front seat adjuster assembly LH (cushion length adjustment motor).

    4. A000Y9QE04
      Text in Illustration
      *a

      Component without harness connected

      (Front Seat Adjuster Assembly LH (Lift Motor))

      Check the operation of the front seat adjuster assembly LH (lift motor).


      1. Apply battery voltage to the front seat adjuster assembly LH (lift motor) connector, and check that the front seat adjuster assembly LH (lift motor) operates smoothly as follows.

        OK
        Condition Specified Condition

        Battery positive (+) → 4 (UP)

        Battery negative (-) → 3 (DOWN)

        Upward

        Battery positive (+) → 3 (DOWN)

        Battery negative (-) → 4 (UP)

        Downward

        If the result is not as specified, replace the front seat adjuster assembly LH (lift motor).

    5. A000Y9QE01
      Text in Illustration
      *a

      Component without harness connected

      (Front Seat Adjuster Assembly LH (Reclining Motor))

      Check the operation of the front seat adjuster assembly LH (reclining motor).


      1. Apply battery voltage to the front seat adjuster assembly LH (reclining motor) connector, and check that the front seat adjuster assembly LH (reclining motor) operates smoothly as follows.

        OK
        Condition Specified Condition

        Battery positive (+) → 4 (FWD)

        Battery negative (-) → 3 (BACK)

        Forward

        Battery positive (+) → 3 (BACK)

        Battery negative (-) → 4 (FWD)

        Backward

        If the result is not as specified, replace the front seat adjuster assembly LH (reclining motor).

  3. INSPECT FRONT SEAT ADJUSTER ASSEMBLY RH


    1. A000Y9QE01
      Text in Illustration
      *a

      Component without harness connected

      (Front Seat Adjuster Assembly RH (Slide Motor))

      Check the operation of the front seat adjuster assembly RH (slide motor).


      1. Apply battery voltage to the front seat adjuster assembly RH (slide motor) connector, and check that the front seat adjuster assembly RH (slide motor) operates smoothly as follows.

        OK
        Condition Specified Condition

        Battery positive (+) → 4 (FWD)

        Battery negative (-) → 3 (BACK)

        Forward

        Battery positive (+) → 3 (BACK)

        Battery negative (-) → 4 (FWD)

        Backward

        If the result is not as specified, replace the front seat adjuster assembly RH (slide motor).

    2. A000Y9QE02
      Text in Illustration
      *a

      Component without harness connected

      (Front Seat Adjuster Assembly RH (Vertical Motor))

      Check the operation of the front seat adjuster assembly RH (vertical motor).


      1. Apply battery voltage to the front seat adjuster assembly RH (vertical motor) connector, and check that the front seat adjuster assembly RH (vertical motor) operates smoothly as follows.

        OK
        Condition Specified Condition

        Battery positive (+) → 3 (UP)

        Battery negative (-) → 4 (DOWN)

        Upward

        Battery positive (+) → 4 (DOWN)

        Battery negative (-) → 3 (UP)

        Downward

        If the result is not as specified, replace the front seat adjuster assembly RH (vertical motor).

    3. A000Y9QE04
      Text in Illustration
      *a

      Component without harness connected

      (Front Seat Adjuster Assembly RH (Lift Motor))

      Check the operation of the front seat adjuster assembly RH (lift motor).


      1. Apply battery voltage to the front seat adjuster assembly RH (lift motor) connector, and check that the front seat adjuster assembly RH (lift motor) operates smoothly as follows.

        OK
        Condition Specified Condition

        Battery positive (+) → 4 (UP)

        Battery negative (-) → 3 (DOWN)

        Upward

        Battery positive (+) → 3 (DOWN)

        Battery negative (-) → 4 (UP)

        Downward

        If the result is not as specified, replace the front seat adjuster assembly RH (lift motor).

    4. A000Y9QE01
      Text in Illustration
      *a

      Component without harness connected

      (Front Seat Adjuster Assembly RH (Reclining Motor))

      Check the operation of the front seat adjuster assembly RH (reclining motor).


      1. Apply battery voltage to the front seat adjuster assembly RH (reclining motor) connector, and check that the front seat adjuster assembly RH (reclining motor) operates smoothly as follows.

        OK
        Condition Specified Condition

        Battery positive (+) → 4 (FWD)

        Battery negative (-) → 3 (BACK)

        Forward

        Battery positive (+) → 3 (BACK)

        Battery negative (-) → 4 (FWD)

        Backward

        If the result is not as specified, replace the front seat adjuster assembly RH (reclining motor).