TELEMATICS SYSTEM(w/ Telematics Transceiver except G-BOOK), Diagnostic DTC:B15C0, B15C1

DTC Code DTC Name
B15C0 Short in GPS Antenna
B15C1 Open in GPS Antenna

DESCRIPTION

These DTCs are stored when a malfunction occurs in the GPS antenna.

DTC No. Detection Item DTC Detection Condition Trouble Area
B15C0 Short in GPS Antenna

Current to the telephone antenna assembly is lower than the malfunction threshold for 20 seconds when the power switch is on (IG).

(Short circuit)


  • Telematics transceiver

  • Telephone antenna assembly

  • No. 2 antenna cord sub-assembly

  • No. 3 antenna cord sub-assembly

  • Harness or connector

B15C1 Open in GPS Antenna

Current for telephone antenna assembly is higher than the malfunction threshold for 20 seconds when the power switch is on (IG).

(Open circuit)


  • Telematics transceiver

  • Telephone antenna assembly

  • No. 2 antenna cord sub-assembly

  • No. 3 antenna cord sub-assembly

  • Harness or connector

WIRING DIAGRAM

A000ZN0E06

CAUTION / NOTICE / HINT

Note

Depending on the parts that are replaced during vehicle inspection or maintenance, performing initialization, registration or calibration may be needed. Refer to Registration for Telematics System.

Click here

PROCEDURE


  1. CHECK FOR DTC


    1. Turn the power switch off.

    2. Connect the GTS to the DLC3.

    3. Turn the power switch on (IG) and wait for 20 seconds.

    4. Turn the GTS on.

    5. Check for DTCs and check that no DTCs are output.

      Click here

      OK
      No DTCs are output.
      Result
      Proceed to
      OK
      NG

    OK
    NG
  2. INSPECT NO. 3 ANTENNA CORD SUB-ASSEMBLY


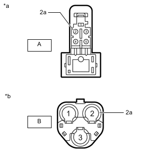
    1. A000W2OC02
      *a

      Front view of wire harness connector

      (to Telephone Antenna Assembly)

      *b

      Front view of wire harness connector

      (to No. 2 Antenna Cord Sub-assembly)

      Disconnect the antenna connector from the telephone antenna assembly

      Click here

    2. Disconnect the antenna connector from the No. 2 antenna cord sub-assembly.

    3. Measure the resistance according to the value(s) in the table below.

      Standard Resistance
      Tester Connection Condition Specified Condition
      A-2 - B-2 Always Below 1 Ω
      A-2 or B-2 - Body ground Always 10 kΩ or higher
      A-2a - B-2a Always Below 1 Ω
      A-2a or B-2a - Body ground Always 10 kΩ or higher
      Result
      Proceed to
      OK
      NG

    NG
    OK
  3. INSPECT NO. 2 ANTENNA CORD SUB-ASSEMBLY


    1. A000T8QC01
      *a

      Front view of wire harness connector

      (to No. 3 Antenna Cord Sub-assembly)

      *b

      Front view of wire harness connector

      (to Instrument Panel Wire)

      Disconnect the antenna connector from the No. 3 antenna cord sub-assembly.

    2. Disconnect the antenna connector from the instrument panel wire.

    3. Measure the resistance according to the value(s) in the table below.

      Standard Resistance
      Tester Connection Condition Specified Condition
      B-2 - 1 (ANT3) Always Below 1 Ω
      B-2 or 1 (ANT3) - Body ground Always 10 kΩ or higher
      B-2a - 1a Always Below 1 Ω
      B-2a or 1a - Body ground Always 10 kΩ or higher
      Result
      Proceed to
      OK
      NG

    NG
    OK
  4. CHECK HARNESS AND CONNECTOR (NO. 2 ANTENNA CORD SUB-ASSEMBLY - TELEMATICS TRANSCEIVER)


    1. A000UB9C02
      *a

      Front view of wire harness connector

      (to No. 2 Antenna Cord Sub-assembly)

      *b

      Front view of wire harness connector

      (to Telematics Transceiver)

      Disconnect the antenna connector from the No. 2 antenna cord sub-assembly.

    2. Disconnect the antenna connector from the telematics transceiver.

    3. Measure the resistance according to the value(s) in the table below.

      Standard Resistance
      Tester Connection Condition Specified Condition
      L203-1 (ANT3) - L204-1 (ANT3) Always Below 1 Ω
      L203-1 (ANT3) or L204-1 (ANT3) - Body ground Always 10 kΩ or higher
      L203-1a - L204-1a Always Below 1 Ω
      L203-1a or L204-1a - Body ground Always 10 kΩ or higher
      Result
      Proceed to
      OK
      NG

    NG
    OK
  5. CHECK TELEPHONE ANTENNA ASSEMBLY


    1. Replace the telephone antenna assembly with a new or known good one.

      Click here

    2. Clear the DTCs.

      Click here

    3. Recheck for DTCs and check that no DTCs are output.

      OK
      No DTCs are output.
      Result
      Proceed to
      OK
      NG

    OK
    NG
  6. REPLACE TELEMATICS TRANSCEIVER


    1. Replace the telematics transceiver with a new one.

      Click here

      Result
      Proceed to
      NEXT

    NEXT