POWER STEERING SYSTEM, Diagnostic DTC:C1511, C1512, C1513

DTC Code DTC Name
C1511 Torque Sensor Circuit Malfunction
C1512 Torque Sensor Circuit Malfunction
C1513 Torque Sensor Circuit Malfunction

DESCRIPTION

The torque sensor converts rotation torque input to the steering wheel into an electrical signal and sends it to the ECU. Based on this signal, the ECU detects steering effort.

DTC Code Detection Condition Trouble Area
C1511 Torque sensor (TRQ1) signal error or stop
  • Harness or connector

  • Torque sensor (built into power steering link assembly)

  • Power steering ECU

C1512 Torque sensor (TRQ2) signal error or stop
  • Harness or connector

  • Torque sensor (built into power steering link assembly)

  • Power steering ECU

C1513 Deviation between torque sensors
  • Harness or connector

  • Torque sensor (built into power steering link assembly)

  • Power steering ECU

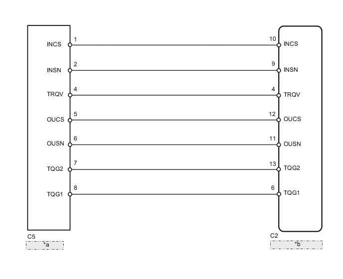
WIRING DIAGRAM

A000XYSE08
*a Torque Sensor
*b Power Steering ECU

PROCEDURE


  1. CHECK CONNECTORS


    1. Check the connection of the power steering ECU and power steering link assembly connectors.

    2. Visually inspect the terminals of the power steering ECU and power steering link assembly connectors.

      Result
      Result Proceed to
      Normal A
      Connectors not properly connected B
      Power steering ECU connector terminals abnormal C
      Power steering link assembly connector terminals abnormal D

      Note


      • If replacing the power steering link assembly, clear the rotation angle sensor calibration value, initialize the rotation angle sensor value, and calibrate the torque sensor zero point Click here.

      • If replacing the power steering ECU, initialize the rotation angle sensor value and calibrate the torque sensor zero point Click here.


    B
    C
    D
    A
  2. CHECK HARNESS AND CONNECTOR (POWER STEERING ECU - TORQUE SENSOR)


    1. Disconnect the C2 power steering ECU connector.

      A000UMHE01
      *1 Front view of wire harness connector: (to Power Steering ECU)
      *2 Front view of wire harness connector: (to Torque Sensor)
    2. Disconnect the C5 torque sensor connector.

    3. Measure the resistance according to the value(s) in the table below.

      Standard resistance
      Tester Connection Condition Specified Condition
      C5-1 (INCS) - C2-10 (INCS) Always Below 1 Ω
      C5-2 (INSN) - C2-9 (INSN)
      C5-4 (TRQV) - C2-4 (TRQV)
      C5-5 (OUCS) - C2-12 (OUCS)
      C5-6 (OUSN) - C2-11 (OUSN)
      C5-7 (TQG2) - C2-13 (TQG2)
      C5-8 (TQG1) - C2-6 (TQG1)
      C5-1 (INCS) - Body ground Always 10 kΩ or higher
      C5-2 (INSN) - Body ground
      C5-4 (TRQV) - Body ground
      C5-5 (OUCS) - Body ground
      C5-6 (OUSN) - Body ground
      C5-7 (TQG2) - Body ground
      C5-8 (TQG1) - Body ground

    NG
    OK
  3. INSPECT POWER STEERING LINK ASSEMBLY (TORQUE SENSOR)


    1. Disconnect the C5 torque sensor connector.

    2. A000U7CE02
      *1 Component without harness connected: (Torque Sensor)

      Measure the resistance according to the value(s) in the table below.

      Standard resistance

      Tester Connection

      (Symbols)

      Condition Specified Condition
      1 (INCS) - 7 (TQG2) Always 90 to 170 Ω
      2 (INSN) - 7 (TQG2) Always 300 to 430 Ω
      4 (TRQV) - 8 (TQG1) Always 4 to 14 Ω
      5 (OUCS) - 7 (TQG2) Always 90 to 170 Ω
      6 (OUSN) - 7 (TQG2) Always 300 to 430 Ω

      Note

      If replacing the power steering link assembly, clear the rotation angle sensor calibration value, initialize the rotation angle sensor value, and calibrate the torque sensor zero point Click here.


    NG
    OK
  4. REPLACE POWER STEERING ECU


    1. Replace the power steering ECU Click here.


    NEXT
  5. INITIALIZE ROTATION ANGLE SENSOR AND CALIBRATE TORQUE SENSOR ZERO POINT


    1. Initialize the rotation angle sensor value and calibrate the torque sensor zero point Click here.


    NEXT
  6. RECONFIRM DTC


    1. Check for DTCs Click here.

      Result
      Result Proceed to
      DTC C1511, C1512, or C1513 is not output A
      DTC C1511, C1512, or C1513 is output B

      Note

      If replacing the power steering link assembly, clear the rotation angle sensor calibration value, initialize the rotation angle sensor value, and calibrate the torque sensor zero point Click here.


    A
    B