REAR ACTIVE STABILIZER CONTROL ACTUATOR INSTALLATION

CAUTION / NOTICE / HINT

Tech Tips

A bolt without a torque specification is shown in the standard bolt chart Click here.

PROCEDURE


  1. INSTALL REAR STABILIZER BUSH

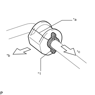
    A000WX6E03
    Text in Illustration
    *1 Bush Stopper
    *a Seam
    *b Rear of Vehicle
    *c Inside of Vehicle

    1. Install the 2 stabilizer bar bushes outside of the bush stoppers on the rear active stabilizer control actuator as shown in the illustration.

      Note

      Make sure to face the stabilizer bar bush's seam to the upper rear of the vehicle.

  2. INSTALL REAR ACTIVE STABILIZER CONTROL ACTUATOR ASSEMBLY


    1. A000WSPE02

      First, temporarily install bolt 1. Then install bolts 2, 3 and 4. Then tighten bolt 5.

      Torque:
      51 N*m  { 520 kgf*cm, 38 ft.*lbf }
    2. A000W4C

      Attach the 2 claws, and install the wire harness to the suspension member.

  3. INSTALL REAR STABILIZER LINK ASSEMBLY LH

    A000XO5

    1. Install the stabilizer link with the nut and bolt.

      Torque:
      26 N*m  { 265 kgf*cm, 19 ft.*lbf }
    2. A000ZPP

      Install the stabilizer link with the nut.

      Torque:
      89 N*m  { 908 kgf*cm, 66 ft.*lbf }
  4. INSTALL REAR STABILIZER LINK ASSEMBLY RH

    Tech Tips

    Use the same procedures described for the LH side.

  5. INSTALL REAR SUSPENSION MEMBER SUB-ASSEMBLY


    1. A000XMEE02
      Text in Illustration
      *1 Attachment
      *2 Engine Lifter
      *a Attachment placement location

      Support the rear suspension member sub-assembly with an engine lifter using 4 attachments or equivalent tools.

      Note


      • Make sure to secure the rear suspension member sub-assembly to prevent it from dropping.

      • Use the attachments to keep the rear suspension member sub-assembly level.

      • The rear suspension member sub-assembly is a heavy component. Make sure that it is supported securely.

    2. Raise the rear suspension member sub-assembly until there is no clearance between the rear suspension member sub-assembly and the body.

      Note

      When raising the rear suspension member subassembly, be careful not to damage the vehicle body or other components installed on the vehicle.

    3. A000UJY

      Attach the 3 claws, and install the grommet to the body.

      Tech Tips

      Install the grommet so that the arrow of the grommet is facing the top of the vehicle.

    4. Install the 2 member stoppers with the 4 bolts labeled B, and install the 4 bolts labeled A.

      A000ZMEE02
      Text in Illustration
      *1 Suspension Member Stopper Lower RH *2 Suspension Member Stopper Lower LH
      Torque:
      for bolt A
      19 N*m  { 194 kgf*cm, 14 ft.*lbf }
      for bolt B
      127 N*m  { 1295 kgf*cm, 94 ft.*lbf }
  6. TEMPORARILY INSTALL PNEUMATIC CYLINDER WITH REAR SHOCK ABSORBER ASSEMBLY LH

    Click here

  7. TEMPORARILY INSTALL PNEUMATIC CYLINDER WITH REAR SHOCK ABSORBER ASSEMBLY RH

    Tech Tips

    Use the same procedures described for the LH side.

  8. INSTALL REAR DISC BRAKE CALIPER ASSEMBLY LH

    Click here

  9. INSTALL REAR DISC BRAKE CALIPER ASSEMBLY RH

    Tech Tips

    Use the same procedures described for the LH side.

  10. INSTALL LOAD SENSING VALVE SENSOR BRACKET

    Click here

  11. INSTALL REAR HEIGHT CONTROL SENSOR SUB-ASSEMBLY LH

    Click here

  12. INSTALL REAR HEIGHT CONTROL SENSOR SUB-ASSEMBLY RH

    Tech Tips

    Use the same procedures described for the LH side.

  13. INSTALL SKID CONTROL SENSOR WIRE

    Click here

  14. INSTALL REAR WHEEL HOUSE LINER LH

    Click here

  15. INSTALL PROPELLER SHAFT WITH CENTER BEARING ASSEMBLY

    Click here

  16. INSTALL ELECTRIC PARKING BRAKE ACTUATOR CAP

    Click here

  17. CONNECT WIRE HARNESS CLAMP

    Click here

  18. CONNECT ELECTRIC PARKING BRAKE ACTUATOR CONNECTOR

    Click here

  19. CONNECT REAR ACTIVE STABILIZER CONTROL ACTUATOR CONNECTOR

    A000ZQV

    1. Attach the 2 clamps to install the wire harness to the body.

    2. A000W6FE02

      Connect the actuator connector labeled A.

    3. Connect the actuator connector labeled B.


      1. Connect the actuator connector. (*1)

      2. Rotate the lever in the direction of the arrow until a "click" sound is heard. (*2)

      3. Lock the lever's lock. (*3)

    4. A000YQU

      Attach the wire harness clamp to the bracket.

  20. INSTALL LUGGAGE COMPARTMENT TRIM COVER ASSEMBLY LH

    Click here

  21. STABILIZE SUSPENSION

    Click here

  22. TIGHTEN PNEUMATIC CYLINDER WITH REAR SHOCK ABSORBER ASSEMBLY LH

    Click here

  23. TIGHTEN PNEUMATIC CYLINDER WITH REAR SHOCK ABSORBER ASSEMBLY RH

    Tech Tips

    Use the same procedures described for the LH side.

  24. INSTALL REAR WHEEL

    Torque:
    140 N*m  { 1428 kgf*cm, 103 ft.*lbf }
  25. CHECK SUSPENSION CONTROL SYSTEM


    1. Check the suspension control system Click here.

  26. INSPECT AND ADJUST REAR WHEEL ALIGNMENT


    1. Inspect and adjust the rear wheel alignment Click here.

  27. CHECK SPEED SENSOR SIGNAL


    1. Check the speed sensor signal Click here.

  28. ADJUST HEADLIGHT ASSEMBLY


    1. Adjust the headlight Click here.

  29. ADJUST OBJECT RECOGNITION CAMERA


    1. Adjust the object recognition camera Click here.