REAR SUSPENSION MEMBER REMOVAL

PROCEDURE


  1. REMOVE REAR WHEEL

  2. REMOVE REAR WHEEL HOUSE LINER LH

    Click here

  3. REMOVE REAR WHEEL HOUSE LINER RH

    Tech Tips

    Use the procedures described for the LH side.

  4. REMOVE LUGGAGE COMPARTMENT TRIM COVER ASSEMBLY LH

    Click here

  5. DISCONNECT REAR ACTIVE STABILIZER CONTROL ACTUATOR CONNECTOR (w/ Active Stabilizer)

    Click here

  6. DISCONNECT ELECTRIC PARKING BRAKE ACTUATOR CONNECTOR

    Click here

  7. REMOVE ELECTRIC PARKING BRAKE ACTUATOR CAP

    Click here

  8. REMOVE REAR AXLE ASSEMBLY LH

    Click here

  9. REMOVE REAR AXLE ASSEMBLY RH

    Tech Tips

    Use the procedures described for the LH side.

  10. REMOVE PROPELLER SHAFT WITH CENTER BEARING ASSEMBLY

    Click here

  11. REMOVE REAR DIFFERENTIAL CARRIER ASSEMBLY WITH DRIVE SHAFT

    Click here

  12. REMOVE REAR HEIGHT CONTROL SENSOR SUB-ASSEMBLY LH

    Click here

  13. REMOVE REAR HEIGHT CONTROL SENSOR SUB-ASSEMBLY RH

    Tech Tips

    Use the procedures described for the LH side.

  14. REMOVE LOAD SENSING VALVE SENSOR BRACKET

    Click here

  15. REMOVE REAR SUSPENSION MEMBER SUB-ASSEMBLY


    1. A000XMEE02
      Text in Illustration
      *1 Attachment
      *2 Engine Lifter
      *a Attachment placement location

      Support the rear suspension member sub-assembly with an engine lifter using 4 attachments or equivalent tools as shown in the illustration.

      Note


      • Use the attachments to keep the rear suspension member sub-assembly level.

      • The rear suspension member sub-assembly is a heavy component. Make sure that it is supported securely.

    2. for Sports Package:

      A000UAVE04
      Text in Illustration
      *A for Sports Package *B for Standard
      *1 Suspension Member Stopper Lower RH *2 Suspension Member Stopper Lower LH

      1. Remove the 4 bolts labeled A.

      2. Remove the 4 bolts labeled B and 2 suspension member stoppers.

      3. Slowly lower the rear suspension member subassembly.

        Note

        When lowering the rear suspension member sub-assembly, be careful not to damage the vehicle body or other components installed on the vehicle.

    3. for Standard:


      1. Remove the 4 bolts.

      2. Slowly lower the rear suspension member subassembly.

        Note

        When lowering the rear suspension member sub-assembly, be careful not to damage the vehicle body or other components installed on the vehicle.

  16. REMOVE REAR STABILIZER LINK ASSEMBLY LH

    A000U61

    1. Remove the nut and disconnect the stabilizer link from the stabilizer bar.

      Tech Tips

      If the ball joint turns together with the nut, use a 6 mm hexagon wrench to hold the stud.

  17. REMOVE REAR STABILIZER LINK ASSEMBLY RH

    Tech Tips

    Use the same procedures described for the LH side.

  18. REMOVE PARKING BRAKE WITH BRACKET ACTUATOR ASSEMBLY

    Click here

  19. REMOVE REAR STABILIZER BAR (w/o Active Stabilizer)

    Click here

  20. REMOVE REAR ACTIVE STABILIZER CONTROL ACTUATOR ASSEMBLY (w/ Active stabilizer)

    Click here

  21. REMOVE REAR SUSPENSION MEMBER DAMPER

    Click here

  22. REMOVE REAR NO. 1 SUSPENSION ARM ASSEMBLY LH

    A000U80

    1. Remove the bolt, nut and No. 1 suspension arm from the suspension member.

  23. REMOVE REAR NO. 1 SUSPENSION ARM ASSEMBLY RH

    Tech Tips

    Use the same procedures described for the LH side.

  24. REMOVE TOE CONTROL LINK SUB-ASSEMBLY LH

    A000VM2E06

    1. Place matchmarks on the No. 2 suspension toe adjust plate and suspension member.

      Text in Illustration
      *a Matchmark
    2. A000WQE

      Remove the nut, No. 2 toe adjust plate, toe adjust cam and toe control link from the suspension member.

  25. REMOVE TOE CONTROL LINK SUB-ASSEMBLY RH

    Tech Tips

    Use the same procedures described for the LH side.

  26. REMOVE REAR UPPER NO. 1 CONTROL ARM ASSEMBLY LH

    A000V5H

    1. Remove the nut, washer, bolt and control arm from the rear suspension member.

  27. REMOVE REAR UPPER NO. 1 CONTROL ARM ASSEMBLY RH

    Tech Tips

    Use the same procedures described for the LH side.

  28. REMOVE REAR UPPER NO. 2 CONTROL ARM ASSEMBLY LH

    A000UZ5

    1. Remove the nut, washer, bolt and rear control arm from the rear suspension member.

  29. REMOVE REAR UPPER NO. 2 CONTROL ARM ASSEMBLY RH

    Tech Tips

    Use the same procedures described for the LH side.

  30. REMOVE REAR NO. 1 DIFFERENTIAL MOUNT CUSHION

    Click here

  31. REMOVE REAR NO. 2 DIFFERENTIAL MOUNT CUSHION

    Click here

  32. REMOVE REAR SUSPENSION MEMBER BODY MOUNTING CUSHION LH (for Front Side)

    A000W97

    1. Using a chisel, widen the area between the rear suspension member and the body mounting cushion enough for the claws of SST.

    2. A000TY4E01

      Using SST, remove the rear suspension member body mounting cushion.

      SST
      09950-40011   ( 09951-04020, 09952-04010, 09953-04030, 09954-04020, 09957-04010, 09958-04011 )
      09950-60010   ( 09951-00540 )

      Note


      • Be careful as the rear suspension member body mounting cushion may come out with force.

      • Do not reuse the removed rear suspension body mounting cushion.

    3. If the outer cylinder of the rear suspension member body mounting cushion remains, insert SST into the gaps between the rear suspension member and the body mounting cushion and remove it.


      1. Cut off the mounting cushion until SST can be set.

      2. A000V8HE01

        Using SST, remove the outer cylinder of the body mounting cushion.

        SST
        09608-06041
        09950-40011   ( 09951-04020, 09952-04010, 09953-04030, 09954-04020, 09957-04010, 09958-04011 )
        09950-60010   ( 09951-00540 )
        09950-60020   ( 09951-00680 )
  33. REMOVE REAR SUSPENSION MEMBER BODY MOUNTING CUSHION RH (for Front Side)

    Tech Tips

    Use the same procedures described for the LH side.

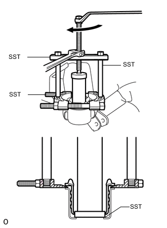
  34. REMOVE REAR SUSPENSION MEMBER BODY MOUNTING CUSHION (for Rear Side)

    A000TVTE01

    1. Using SST, remove the rear suspension member body mounting cushion.

      SST
      09950-00020
      09950-00030
      09950-40011   ( 09957-04010 )
      09950-60010   ( 09951-00540 )

      Note


      • Be careful as the rear suspension member body mounting cushion may come out with force.

      • Do not reuse the removed rear suspension body mounting cushion.

    2. If the outer cylinder of the rear suspension member body mounting cushion remains, insert SST into the gaps between the rear suspension member and the body mounting cushion and remove it. SST


      1. Cut off the mounting cushion until SST can be set.

      2. A000XUFE01

        Using SST, remove the outer cylinder of the body mounting cushion.

        SST
        09608-06041
        09950-00020
        09950-00030
        09950-60020