FRONT SHOCK ABSORBER REMOVAL

CAUTION / NOTICE / HINT

Note

Be sure to read the ''PRECAUTION'' thoroughly before servicing Click here.

Tech Tips


  • Use the same procedures for the RH side and LH side.

  • The procedures listed below are for the LH side.

PROCEDURE


  1. REMOVE BATTERY SERVICE HOLE COVER LH

    Click here

  2. PRECAUTION

    Note

    After turning the power switch off, waiting time may be required before disconnecting the cable from the auxiliary battery terminal. Therefore, make sure to read the disconnecting the cable from the auxiliary battery terminal notice before proceeding with work Click here.

  3. DISCONNECT CABLE FROM NEGATIVE AUXILIARY BATTERY TERMINAL

    CAUTION:

    Wait at least 90 seconds after disconnecting the cable from the negative (-) battery terminal to prevent airbag and seat belt pretensioner activation.

    Note

    When disconnecting the cable, some systems need to be initialized after the cable is reconnected Click here.

  4. REMOVE FRONT WHEEL

  5. REMOVE FRONT AXLE SHAFT NUT LH

    Click here

  6. DISCONNECT FRONT DISC BRAKE CALIPER ASSEMBLY LH

    Click here

  7. REMOVE FRONT DISC

    Click here

  8. REMOVE FRONT DISC BRAKE DUST COVER LH

    Click here

  9. DISCONNECT SKID CONTROL SENSOR WIRE

    Click here

  10. REMOVE FRONT SPEED SENSOR LH

    Click here

  11. DISCONNECT TIE ROD ASSEMBLY LH

    Click here

  12. DISCONNECT FRONT NO. 1 SUSPENSION UPPER ARM ASSEMBLY LH

    Click here

  13. DISCONNECT FRONT NO. 2 SUSPENSION UPPER ARM ASSEMBLY LH

    Click here

  14. REMOVE STEERING KNUCKLE SUB-ASSEMBLY LH

    Click here

  15. DISCONNECT FRONT HEIGHT CONTROL SENSOR SUB-ASSEMBLY LH


    1. A000VF8

      Remove the nut, and then remove the bracket of the front height control sensor LH.

  16. REMOVE FRONT STABILIZER LINK ASSEMBLY LH


    1. A000UTH

      Remove the 2 nuts and front stabilizer link assembly LH.

      Tech Tips

      If the stud bolt turns with the nut, use a 6 mm hexagon wrench to hold the stud bolt.

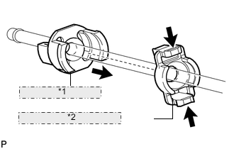
  17. REMOVE AIR CONNECTOR CLIP HOLDER


    1. A000TP2E02
      *1 No. 1 Tube Connector
      *2 Air Connector Clip Holder

      Pinch and pull the air connector clip holder to release the No. 1 connector.

  18. DISCONNECT NO. 4 HEIGHT CONTROL TUBE


    1. Pinch and pull the No. 1 tube connector to release it.

    2. A000WQ0E02
      *1 No. 1 Tube Connector

      Using SST, disconnect the No. 4 height control tube from the pneumatic cylinder with front shock absorber assembly LH.

      SST
      09730-00010

      Note

      After pulling out the height control tube, replace the O-ring and plate with new ones.

  19. REMOVE AIR CLEANER INLET COVER SUB-ASSEMBLY

    Click here

  20. REMOVE ENGINE ROOM SIDE COVER LH

    Click here

  21. REMOVE FRONT SHOCK ABSORBER CAP LH


    1. A000W6W

      Remove the 3 nuts and front shock absorber cap LH.

    2. Disconnect the connector.

  22. REMOVE ABSORBER CONTROL ACTUATOR


    1. A000XYU

      Turn the absorber control actuator counterclockwise 40° and remove it from the pneumatic cylinder with front shock absorber assembly LH.

  23. REMOVE PNEUMATIC CYLINDER WITH FRONT SHOCK ABSORBER ASSEMBLY LH


    1. A000Z9IE02
      *1 Matchmark

      When reusing the pneumatic cylinder with front shock absorber assembly LH:

      Place matchmarks on the front suspension support assembly and pneumatic cylinder chamber.

    2. A000T8G

      Remove the nut and upper front shock absorber bracket plate, and disconnect the lower front shock absorber bracket sub-assembly LH from the front No. 1 suspension lower arm LH.

    3. A000WFC

      Remove the bolt, and disconnect the skid control sensor wire from the pneumatic cylinder with front shock absorber assembly LH.

    4. A000TLM

      Remove the 3 nuts and pneumatic cylinder with front shock absorber assembly LH.

      Note

      Hold the pneumatic cylinder with front shock absorber assembly LH to prevent it from dropping.

  24. REMOVE FRONT SHOCK ABSORBER LOWER BRACKET SUB-ASSEMBLY LH


    1. A000WRL

      Remove the bolt and lower front shock absorber bracket sub-assembly LH.

  25. REMOVE FRONT PNEUMATIC CYLINDER O-RING LH

    Tech Tips

    If replacing the pneumatic cylinder with front shock absorber assembly LH with a new one, this procedure is not necessary.


    1. A000TBB

      Using a screwdriver, detach the 2 clips and remove the tube connector.

    2. A000UYB

      Using a screwdriver, remove the plate and 2 O-rings.