SUSPENSION CONTROL RELAY ON-VEHICLE INSPECTION

CAUTION / NOTICE / HINT

Note

After turning the power switch off, waiting time may be required before disconnecting the cable from the auxiliary battery terminal. Therefore, make sure to read the disconnecting the cable from the auxiliary battery terminal notice before proceeding with work Click here.

PROCEDURE


  1. REMOVE LUGGAGE COMPARTMENT MAT SUB-ASSEMBLY

    Click here

  2. REMOVE BATTERY SERVICE HOLE COVER LH

    Click here

  3. DISCONNECT CABLE FROM NEGATIVE AUXILIARY BATTERY TERMINAL

    CAUTION:

    Wait at least 90 seconds after disconnecting the cable from the negative (-) battery terminal to prevent airbag and seat belt pretensioner activation.

    Note

    When disconnecting the cable, some systems need to be initialized after the cable is reconnected Click here.

  4. REMOVE SUSPENSION CONTROL RELAY (AIR SUS)


    1. Remove the suspension control relay from the engine room No. 5 relay block.

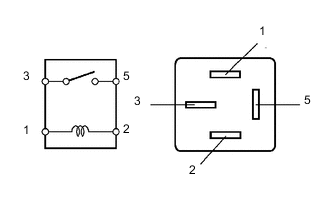
  5. INSPECT SUSPENSION CONTROL RELAY


    1. A000ZV2E01

      Measure the resistance according to the value(s) in the table below.

      Standard resistance
      Tester Connection Condition Specified Condition
      3 - 5 When battery voltage is not applied to terminals 1 and 2 10 kΩ or higher
      When battery voltage is applied to terminals 1 and 2 Below 1 Ω

      If the result is not as specified, replace the suspension control relay.

  6. INSTALL SUSPENSION CONTROL RELAY

  7. CONNECT CABLE TO NEGATIVE AUXILIARY BATTERY TERMINAL

    Note

    When disconnecting the cable, some systems need to be initialized after the cable is reconnected Click here.

  8. INSTALL BATTERY SERVICE HOLE COVER LH

    Click here

  9. INSTALL LUGGAGE COMPARTMENT MAT SUB-ASSEMBLY

    Click here

  10. CHECK SRS WARNING LIGHT

    Click here