HEIGHT CONTROL COMPRESSOR PRECAUTION


  1. WHEN USING JACK OR LIFT


    1. When work is performed under the vehicle or when jacking the vehicle up, make sure to turn the power switch OFF.

    2. A00102RE97
      Front view of DLC3
      *1 OPA

      When performing the work that needs vehicle to rise with the power switch ON (READY), perform the following procedure to stop the vehicle height control operation of the suspension control ECU:


      1. Before the vehicle is raised, using SST, connect terminals 11 (OPA) and 4 (CG) of the DLC3.

        SST
        09843-18040
      2. After the work is completed, lower the vehicle completely and remove the SST from the terminal of the DLC3.

  2. WHEN ADDING AIR

    Note

    Only operate the height control compressor to add air for less than 3 minutes. In order to protect the height control compressor, if it is operated for 3 minutes continuously, its operation is prohibited for 10 minutes.

  3. DISCONNECT AND CONNECT HEIGHT CONTROL TUBE (Type 1)

    Note


    • Disconnecting and connecting the height control tube should be performed by hand to prevent dust or foreign objects from entering it.

    • Be careful not to damage the height control tube.


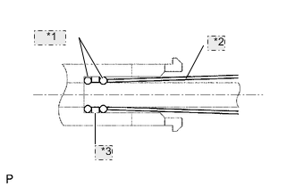
    1. Disconnect the height control tube.


      1. A000TJSE01
        *1 Air Tube
        *2 Housing
        *3 No. 1 Connector

        for Except Front Pneumatic Cylinder:

        Pinch A to disconnect the No. 1 connector and pull it out from the housing.

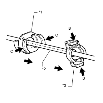
      2. A000TATE03
        *1 No. 1 Connector
        *2 Air Tube
        *3 Air Connector Clip Holder

        for Front Pneumatic Cylinder:

        Pinch B to disconnect the air connector clip holder and pull it out from the No. 1 connector.

        Pinch C to disconnect the No. 1 connector and pull it out from the housing.

      3. A000ZIPE05
        *1 Air Tube

        Set SST to the tube.

        SST
        09730-00010
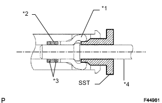
      4. A000UXEE06
        *1 Tube Connector
        *2 Plate
        *3 O-Ring
        *4 Air Tube

        Insert SST into the housing to expand the claw of the plug or tube connector in the housing.

      5. Pull out the tube with SST inserted.

        Note

        Do not pull out the tube forcibly.

      6. Insert a screwdriver into the circular hole on the housing, and remove the tube connector, 2 O-rings and plate from the housing.

        Tech Tips

        The O-rings, plate and tube connector are non-reusable parts.

    2. A000WR2E01
      *1 O-Ring
      *2 Plate

      Install 2 new O-rings and a new plate.

      Note

      When replacing the parts onto which the tube is to be installed with new ones, it is not necessary to perform this installation procedure.


      1. Apply MP grease to 2 new O-rings and a new plate, and then install them to the height control tube.

        Note


        • Install the plate between the O-rings.

        • Air leaks may occur if dust or foreign objects come into contact with the O-rings.

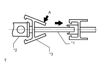
      2. A000TBHE01
        *1 O-Ring
        *2 Cardboard
        *3 Plate

        Insert the tube onto which the 2 O-rings and plate are installed into the housing, and then lightly push them in with a piece of rolled up cardboard or equivalent.

      3. A000TCWE06
        *1 Tube Connector

        Push the tube connector into the housing until a clicking sound is heard.

    3. A000XVEE01

      Install the height control tube.


      1. Push the air holder to the No. 1 connector until a clicking sound is heard.

        Note


        • Turn the claw of the connector 90° so that the claw is aligned with the housing port as shown in the illustration.

        • Lightly pull on the tube to make sure that it is securely connected.

      2. A000YEBE03
        *1 No. 1 Connector
        *2 Air Connector Clip Holder

        for Front Pneumatic Cylinder:

        Push the air connector clip holder to the No. 1 connector until a clicking sound is heard.

  4. DISCONNECT AND CONNECT HEIGHT CONTROL TUBE (Type 2)

    A000X6BE08
    *1 Clip
    *2 Holder

    Note


    • Disconnecting and connecting the height control tube should be performed by hand to prevent dust or foreign objects from entering it.

    • Be careful not to damage the height control tube.


    1. Disconnect the height control tube.


      1. Remove the holder.

      2. A000WTM

        Spread the clip and slowly pull the height control tube straight out.

        Note

        Do not completely remove the clip except when replacing it.

      3. Remove the 2 O-rings.

        Tech Tips

        Some tubes are equipped with only 1 O-ring.

    2. A000ZS4

      Install the height control tube.


      1. If replacing the clip:

        Hook one side of the new clip around the union groove, and slide the other side into the opposite side of the union groove.

      2. If not replacing the clip:

        Apply MP grease to 2 new O-rings to and install them to the height control tube.

        Note

        Air leaks may occur if dust or foreign objects come into contact with the O-rings.

        Tech Tips

        Some tubes are equipped with only 1 O-ring.

      3. Securely connect the height control tube straight onto the connector until a clicking sound can be heard.

        Note

        Connect the height control tube straight in order to prevent air leaks.

      4. Install the height control tube to the holder, being careful not to apply excessive force to the clip.