AIR SUSPENSION SYSTEM, Diagnostic DTC:C1715, C1716, C1717, C1796, C1797, C1798

DTC Code DTC Name
C1715 Front Acceleration Sensor RH Malfunction
C1716 Front Acceleration Sensor LH Malfunction
C1717 Rear Acceleration Sensor Malfunction
C1796 Front Acceleration Sensor RH Malfunction (Test Mode DTC)
C1797 Front Acceleration Sensor LH Malfunction (Test Mode DTC)
C1798 Rear Acceleration Sensor Malfunction (Test Mode DTC)

DESCRIPTION

The acceleration sensor (up & down G sensor) detects the upward and downward acceleration of the vehicle, and outputs it as a voltage to the suspension control ECU. Up & down G sensors are installed in 3 locations: 1) the suspension control ECU, 2) the driver side instrument panel, and 3) the rear quarter. Each up & down G sensor independently detects the upward and downward acceleration. During a test mode inspection, the suspension control ECU reads the fluctuations in each sensor's signal. If a sensor's signal does not fluctuate, test mode DTCs C1796, C1797 and C1798 are output.

DTC No. Detection Condition Trouble Area

C1715

C1796

Either condition is met:


  • With power switch ON (IG) and signal of 9.8 m/s2or more input into suspension control ECU (houses acceleration sensor), either of following is detected for 0.5 seconds or more: power voltage of suspension control ECU (houses acceleration sensor) is 5.5 V or higher, or 4.3 V or less.

  • With the power switch ON (IG), a voltage of 4.7 V or higher, or 0.3 V or less at the suspension control ECU (houses acceleration sensor) voltage input is detected for 1 second.

Suspension control ECU (houses acceleration sensor)

C1716

C1797

Either condition is met:


  • With power switch ON (IG) and signal of 9.8 m/s2or more input into acceleration sensor (for Front), either of following is detected for 0.5 seconds or more: power voltage of acceleration sensor (for Front) is 5.5 V or higher, or 4.3 V or less.

  • With the power switch ON (IG), a voltage of 4.7 V or higher, or 0.3 V or less at the acceleration sensor (for Front) voltage input is detected for 1 second.


  • Acceleration sensor (for Front)

  • Harness or connector

  • Suspension control ECU

C1717

C1798

Either condition is met:


  • With power switch ON (IG) and signal of 9.8 m/s2or more input into acceleration sensor (for Rear), either of following is detected for 0.5 seconds or more: power voltage of acceleration sensor (for Rear) is 5.5 V or higher, or 4.3 V or less.

  • With the power switch ON (IG), a voltage of 4.7 V or higher, or 0.3 V or less at the acceleration sensor (for Rear) voltage input is detected for 1 second.


  • Acceleration sensor (for Rear)

  • Harness or connector

  • Suspension control ECU

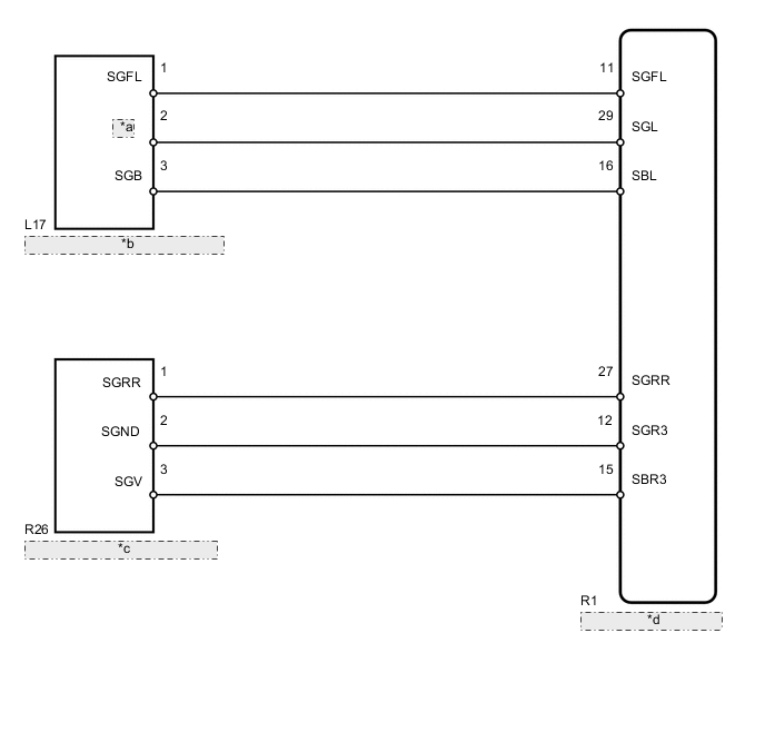
WIRING DIAGRAM

A000Z0SE03
*a SGG
*b Acceleration Sensor (for Front)
*c Acceleration Sensor (for Rear)
*d Suspension Control ECU

CAUTION / NOTICE / HINT

Note


  • Before performing troubleshooting, inspect the connectors of related circuits.

  • If DTC C1782 (Power Source Voltage Malfunction) is output at the same time, perform troubleshooting for C1782 first Click here.

  • Before replacing the suspension control ECU, perform all of the following again: 1) symptom simulation Click here; 2) DTC inspection; and 3) intelligent tester inspection (Data List or Active Test). If no malfunctions are found in other areas, replace the suspension control ECU.

  • If the suspension control ECU or height control sensor is replaced, the vehicle height offset calibration must be performed Click here.

  • If DTCs C1715 and C1796 are output, replace the suspension control ECU (houses acceleration sensor).

PROCEDURE


  1. CHECK ACCELERATION SENSOR (DATA LIST)


    1. Turn the power switch OFF.

    2. Connect the intelligent tester to the DLC3.

    3. Turn the power switch ON (IG) and the tester ON.

    4. Enter the following menus: Chassis / Air suspension / Data List.

    5. According to the display on tester, read the Data List.

      Air suspension
      Tester Display Measurement Item/Range Normal Condition Diagnostic Note
      (Up&Down)G Sensor FR

      G (up & down) suspension control ECU (houses acceleration sensor) reading /

      min.: -1045.29 m/s2

      max.: 1045.26 m/s2

      0 +/-0.98 m/s2at still condition

      Reading changes when vehicle (FR) is bounced
      (Up&Down)G Sensor FL

      G (up & down) acceleration sensor (for Front) reading /

      min.: -1045.29 m/s2

      max.: 1045.26 m/s2

      0 +/-0.98 m/s2at still condition

      Reading changes when vehicle (FL) is bounced
      (Up&Down)G Sensor Rear

      G (up & down) acceleration sensor (for Rear) reading /

      min.: -1045.29 m/s2

      max.: 1045.26 m/s2

      0 +/-0.98 m/s2at still condition

      Reading changes when vehicle (rear) is bounced
      OK
      Acceleration value changes.

    OK
    NG
  2. INSPECT ACCELERATION SENSOR (FRONT LH OR REAR)

    A001013E01

    1. Turn the power switch OFF.

    2. Remove the acceleration sensor (for Front) for LHD (See page ), acceleration sensor (for Front) for RHD (See page ) or acceleration sensor (for Rear) Click here.

      Note

      Do not drop the acceleration sensor. If it is dropped, replace it with a new one.

    3. Connect 3 1.5 V dry cell batteries in series.

    4. Connect the positive (+) end of the batteries to terminal 3 (SGB*1, SGV*2) of the acceleration sensor and the negative (-) end of the batteries to terminal 2 (SGG*1, SGND*2). Then measure the voltage between terminal 1 (SGFL*1, SGRR*2) and terminal 2 (SGG*1, SGND*2)

      Tech Tips

      *1: for Front LH

      *2: for Rear

    5. Measure the voltage according to the value(s) in the table below.

      Standard voltage
      for Front LH: (C1716, C1797)
      Tester Connection Condition Specified Condition
      1 (SGFL) - 2 (SGG) Sensor stationary Approx. 2.0 to 2.5 V
      Sensor is tilted Change between approx. 0.9 to 2.3 V
      for Rear: (C1717, C1798)
      Tester Connection Condition Specified Condition
      1 (SGRR) - 2 (SGND) Sensor stationary Approx. 2.0 to 2.5 V
      Sensor is tilted Change between approx. 0.9 to 2.3 V

      Note

      Do not apply a voltage of higher than 6 V.

      Tech Tips

      When the acceleration sensor is tilted, it may output a different value.

      Result
      Result Proceed to
      OK A
      Acceleration sensor (for Front) malfunction (for LHD) B
      Acceleration sensor (for Front) malfunction (for RHD) C
      Acceleration sensor (for Rear) malfunction D

    B
    C
    D
    A
  3. CHECK HARNESS AND CONNECTOR (ACCELERATION SENSOR - SUSPENSION CONTROL ECU)


    1. Check the acceleration sensor (for Front) harness and connector (when DTC C1716 or C1797 is output).

      A000ZR3E02
      *1 Rear view of wire harness connector: (to Suspension Control ECU)
      *2 Front view of wire harness connector: (to Acceleration Sensor (for Front))
      *3 SGG

      1. Disconnect the R1 ECU connector.

      2. Disconnect the L17 sensor connector.

      3. Measure the resistance according to the value(s) in the table below.

        Standard resistance
        Tester Connection Condition Specified Condition
        L17-1 (SGFL) - R1-11 (SGFL) Always Below 1 Ω
        L17-2 (SGG) - R1-29 (SGL) Always Below 1 Ω
        L17-3 (SGB) - R1-16 (SBL) Always Below 1 Ω
        L17-1 (SGFL) or R1-11 (SGFL) - Body ground Always 10 kΩ or higher
        L17-2 (SGG) or R1-29 (SGL) - Body ground Always 10 kΩ or higher
        L17-3 (SGB) or R1-16 (SBL) - Body ground Always 10 kΩ or higher
    2. Check the acceleration sensor (for Rear) harness and connector (when DTC C1717 or C1798 is output).

      A000Y6GE02
      *1 Rear view of wire harness connector: (to Suspension Control ECU)
      *2 Front view of wire harness connector: (to Acceleration Sensor (for Rear))

      1. Disconnect the R1 ECU connector.

      2. Disconnect the R26 sensor connector.

      3. Measure the resistance according to the value(s) in the table below.

        Standard resistance
        Tester Connection Condition Specified Condition
        R26-1 (SGRR) - R1-27 (SGRR) Always Below 1 Ω
        R26-2 (SGND) - R1-12 (SGR3) Always Below 1 Ω
        R26-3 (SGV) - R1-15 (SBR3) Always Below 1 Ω
        R26-1 (SGRR) or R1-27 (SGRR) - Body ground Always 10 kΩ or higher
        R26-2 (SGND) or R1-12 (SGR3) - Body ground Always 10 kΩ or higher
        R26-3 (SGV) or R1-15 (SBR3) - Body ground Always 10 kΩ or higher
        Result
        Result Proceed to
        NG A
        OK (for LHD) B
        OK (for RHD) C

    A
    B
    C