MILLIMETER WAVE RADAR SENSOR ADJUSTMENT

PROCEDURE


  1. ADJUST MILLIMETER WAVE RADAR SENSOR ASSEMBLY

    A000Z1XE01
    *1 Approx. 10 m
    *2 Approx. 14 m

    CAUTION:

    Exposure to radio frequency emissions is hazardous to your health. It is hazardous to be within 20 cm (7.87 in.) of the device's radio frequency aperture.

    Note


    • This device complies with FCC radio frequency emission regulations.

    • Perform measurements on a level surface.

    • Make sure that no large pieces of metal are within a 10 m (32.8 ft.) x 14 m (45.9 ft.) area in front of the vehicle. If possible, the surrounding area should also be free of large metal objects.


    1. Before adjusting the radar beam axis, prepare the vehicle as follows.


      1. Check the tire pressure and adjust it if necessary.

      2. Remove all excess weight from the vehicle (luggage, heavy objects, etc.).

    2. w/ Air Suspension:

      Adjust the vehicle's height to the standard height.

    3. Check and adjust the vertical direction of the radar sensor.


      1. A001001E01
        *1 Level

        Remove dust, oil and foreign matter from the radar sensor's level rack.

      2. Set a level on the radar sensor's level rack.

      3. A000TGQE03
        *1 Level
        *2 Air Bubble
        *3 Screwdriver Insertion Hole
        *4 Bolt A

        Check that the level's air bubble is within the red frame.

        OK
        Level's air bubble is within red frame.

        If the bubble is not within the red frame, use a screwdriver to adjust bolt A until the level's air bubble is within the red frame.

        Tech Tips


        • The adjustable range within the red frame of the level is +/-0.2°.

        • The target angle is +0.2° (upward angle of 0.2°).

        Result
        Adjustment Direction Adjustment Procedure Adjustment Angle
        Vertical adjustment Upward direction: Turn bolt A in minus (- )direction For 1 complete turn of screwdriver, sensor moves about 0.12°
        Downward direction: Turn bolt A in plus (+) direction
    4. A000WXQE11
      *1 Millimeter Wave Radar Sensor Assembly

      Adjust the reflector height.


      1. Adjust the reflector so that the center of SST reflector is the same height as the millimeter wave radar sensor.

        SST
        09870-60000   ( 09870-60010 )
        09870-60040

        Tech Tips

        Prepare a 10 m (32.8 ft.) string, a string with a sharp-pointed weight (plumb bob), and a 5 m (16.4 ft.) tape measure.

    5. Place the reflector.


      1. From the center of the front bumper (center of the emblem), hang a weight with a pointed tip, and mark point B on the ground.

        A000WZ2E03
        *1 String
        *2 Center
        *3 Point B
        *4 Weight
      2. From the center of the rear bumper (center of the emblem), hang a weight with a pointed tip, and mark point A on the ground.

        A00105UE03
        *1 String
        *2 Center
        *3 Weight
        *4 Point A
      3. Using a piece of string that uses point A as a starting point and that passes through point B, make a straight line on the ground ahead of the vehicle 5 m (16.4 ft.) or more from point B.

        Tech Tips


        • Make sure to secure the string (using tape, etc.) when it is taut.

        • Lightly flick the string with your fingers several times to confirm that the string is aligned above point B.

      4. Using a tape measure, measure 10 mm (0.394 in.) to the left of the 5000 mm (16.4 ft.) position. Place the reflector at that position.

        Note

        Perform the operation as precisely as possible.

        A000ZLFE01
        *1 5000 mm
        *2 10 mm
        *3 Reflector placement point
        *4 Millimeter wave radar sensor position
    6. Check the radar beam axis.


      1. Connect the intelligent tester to the DLC3.

      2. Turn the power switch on (IG).

      3. Turn the intelligent tester main switch ON, and turn the cruise control main switch ON.

      4. Select "Auto" from the intelligent tester display screen. *1

      5. Select "Radar Cruise" from the display screen.

      6. Select the appropriate menu item.


        1. For vehicles with lane recognition camera: select "w/ LKA System" from the display screen.

        2. For vehicles without lane recognition camera: select "w/o LKA System" from the display screen.

      7. Select "Radar Cruise" from the display screen.

      8. Select "Utility" from the display screen.

      9. Select "Beam Axis Adjustment" from the display screen.

      10. Follow the intelligent tester display and select "Next".

        Note


        • Turn the cruise control main switch ON before pressing Next.

        • Make sure there is at least 20 cm (7.9 inches) between the radar sensor and any nearby individuals.

          CAUTION:

          Do not come within 20 cm (7.9 inches) of the radar sensor.

      11. Check the following items on the laser cruise divergence data screen.

        CAUTION:

        While using the intelligent tester's beam axis adjustment mode, the actual direction and angle of the radar sensor may be different from the intelligent tester's data. In such a case, the deviation is displayed on the combination meter's multi-information display.


        1. Confirm that the distance value is approximately 5 m (16.4 ft.).

          Tech Tips


          • A value between 0.0 and 6.3 m (20.7 ft.) is indicated.

          • If the distance is 0 m (0 ft.), the sensor cannot detect the target. Reconfirm that there is no metal in the specified area in front of the vehicle (refer to the NOTICE at the beginning of this adjustment procedure).

        2. Confirm that the left/right side value is between 0.0 and 6.3°.

          Tech Tips

          If the distance is 0 m (0 ft.), the sensor cannot detect the target. Reconfirm that there is no metal in the specified area in front of the vehicle (refer to the NOTICE at the beginning of this adjustment procedure).

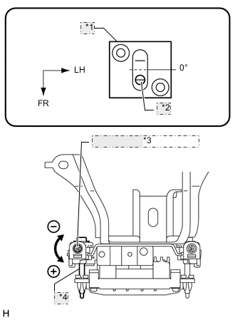
    7. Check and adjust the horizontal direction of the radar sensor.


      1. Check that the divergence of the radar beam axis is 0°.

        Standard
        0° (Both right and left)

        If the axis is not as specified, use a screwdriver to adjust bolt B until the divergence of the radar beam axis is 0°.

      2. A000T8UE03
        *1 Screwdriver Insertion Hole
        *2 Bolt B

        Based on the measured divergence of the beam axis, turn and adjust bolt B for horizontal adjustment of the millimeter wave radar sensor using a screwdriver.

        Result
        Adjustment Direction Adjustment Procedure Adjustment Angle
        Horizontal adjustment Right direction: Turn bolt B in plus (+) direction For 1 complete turn of screwdriver, sensor moves about 0.07°
        Left direction: Turn bolt B in minus (- )direction

        Tech Tips

        If the value does not change to 0°, it is possible that the sensor is aiming at something different. Reconfirm that there are no reflective materials in the surrounding area.

      3. Select "Next". The driving learning value is automatically reset.

        Tech Tips

        A buzzer will sound for 10 seconds or more.

      4. Disconnect the intelligent tester from the DLC3.

    8. Recheck and readjust the vertical direction of the radar sensor.


      1. A001001E01
        *1 Level

        Set a level on the radar sensor's level rack.

      2. A000TGQE03
        *1 Level
        *2 Air Bubble
        *3 Screwdriver Insertion Hole
        *4 Bolt A

        Check that the level's air bubble is within the red frame.

        OK
        Level's air bubble is within the red frame.

        If the bubble is not within the red frame, use a screwdriver to adjust bolt A until the level's air bubble is within the red frame.

        Tech Tips


        • The adjustable range within the red frame is +/-0.2°.

        • The target angle is +0.2° (upward angle of 0.2°).

        Result
        Adjustment Direction Adjustment Procedure Adjustment Angle
        Vertical adjustment Upward direction: Turn bolt A in minus (- )direction For 1 complete turn of screwdriver, sensor moves about 0.12°
        Downward direction: Turn bolt A in plus (+) direction