DYNAMIC RADAR CRUISE CONTROL SYSTEM Millimeter Wave Radar Sensor Power Source Circuit

DESCRIPTION

This circuit provides power to the front millimeter wave radar sensor. The front millimeter wave radar sensor emits radio waves towards an object in front and measures the distance and direction of the object by receiving the beam reflections. Based on the reflections, the sensor calculates the difference in speed between the vehicle and the object in front. This data is transmitted to the driving support ECU.

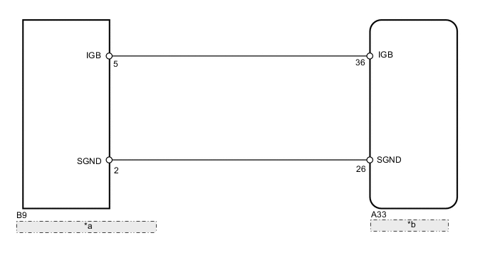
WIRING DIAGRAM

A000XPVE06
*a Front Millimeter Wave Radar Sensor
*b Driving Support ECU

PROCEDURE


  1. CHECK HARNESS AND CONNECTOR (FRONT MILLIMETER WAVE RADAR SENSOR - DRIVING SUPPORT ECU)

    A000VUSE01
    *1 Front view of wire harness connector: (to Front Millimeter Wave Radar Sensor)
    *2 Front view of wire harness connector: (to Driving Support ECU)

    1. Disconnect the B9 sensor connector.

    2. Disconnect the A33 ECU connector.

    3. Measure the resistance according to the value(s) in the table below.

      Standard Resistance
      Tester Connection Condition Specified Condition
      B9-2 (SGND) - A33-26 (SGND) Always Below 1 Ω
      B9-5 (IGB) - A33-36 (IGB) Always Below 1 Ω
      B9-2 (SGND) - Body ground Always 10 kΩ or higher
      B9-5 (IGB) - Body ground Always 10 kΩ or higher

    NG
    OK
  2. CHECK DRIVING SUPPORT ECU (IGB VOLTAGE)

    A000WA0E02
    *1 Component with harness connected: (Front Millimeter Wave Radar Sensor)

    1. Reconnect the B9 sensor connector.

    2. Measure the voltage according to the value(s) in the table below.

      Standard Voltage
      Tester Connection Switch Condition Specified Condition
      B9-5 (IGB) - B9-2 (SGND) Power switch ON (IG) 11 to 14 V

    OK
    NG