RADIATOR ON-VEHICLE INSPECTION

PROCEDURE


  1. CHECK RADIATOR RESERVOIR CAP


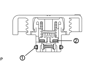
    1. A000YWP

      Measure the valve opening pressure.


      1. If there are water stains or foreign matter on O-ring 1, clean it with water and finger scouring.

      2. Check that O-ring 1 is not deformed, cracked or swollen.

      3. Apply engine coolant to O-ring 1 and rubber packing 2 before using a radiator cap tester.

      4. A000WK0E26
        *1 Radiator Reservoir Cap
        *2 Radiator Cap Tester
        *3 30° or more

        When using the cap tester, tilt it 30° or more.

      5. Pump the cap tester several times, and check the maximum pressure*.

        Pump speed
        1 pump per second

        Tech Tips

        *: Even if the cap cannot maintain the maximum pressure, it is not a defect.

        Judgment criterion
        Item Specified Condition
        Standard value (for brand-new cap)

        93 to 123 kPa (1.0 to 1.3 kgf/cm2, 13.5 to 17.8 psi)

        Minimum standard value (after using cap)

        79 kPa (0.8 kgf/cm2, 11.4 psi)

        If the maximum pressure is less than the minimum standard value, replace the radiator reservoir cap.

  2. CHECK FINS FOR BLOCKAGE


    1. Check that the radiator and condenser are not blocked with leaves, dirt, or insects. Clean the hose connections.

      If the fins are blocked, wash them with water or a steam cleaner.

      Note


      • If the distance between the steam cleaner and core is too close, the fins may be damaged.

      • Keep the following injection distance.

        Standard injection distance
        Injection Distance Injection Pressure
        300 mm (11.8 in.)

        2942 to 4903 kPa (30.0 to 50.0 kgf/cm2, 427 to 711 psi)

        500 mm (19.7 in.)

        4903 to 7845 kPa (50.0 to 80.0 kgf/cm2, 711 to 1138 psi)

      • If the fins are bent, straighten them with a screwdriver or pliers.

      • Never apply water directly into the electric components.

    2. Dry the fins with compressed air.