RELAY(w/ Headlight Cleaner System) COMPONENTS

ILLUSTRATION

B001DNWC01
*1 RADIATOR GRILLE *2 UPPER RADIATOR SUPPORT SEAL

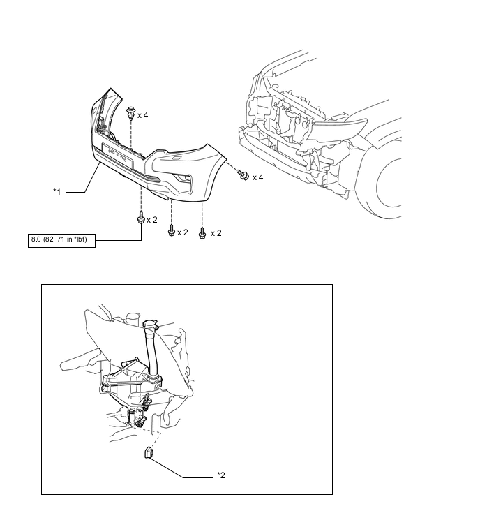
ILLUSTRATION

B001GYGC01
*1 FRONT BUMPER COVER *2 HEADLIGHT CLEANER CONTROL RELAY
B001IGR N*m (kgf*cm, ft.*lbf): Specified torque - -